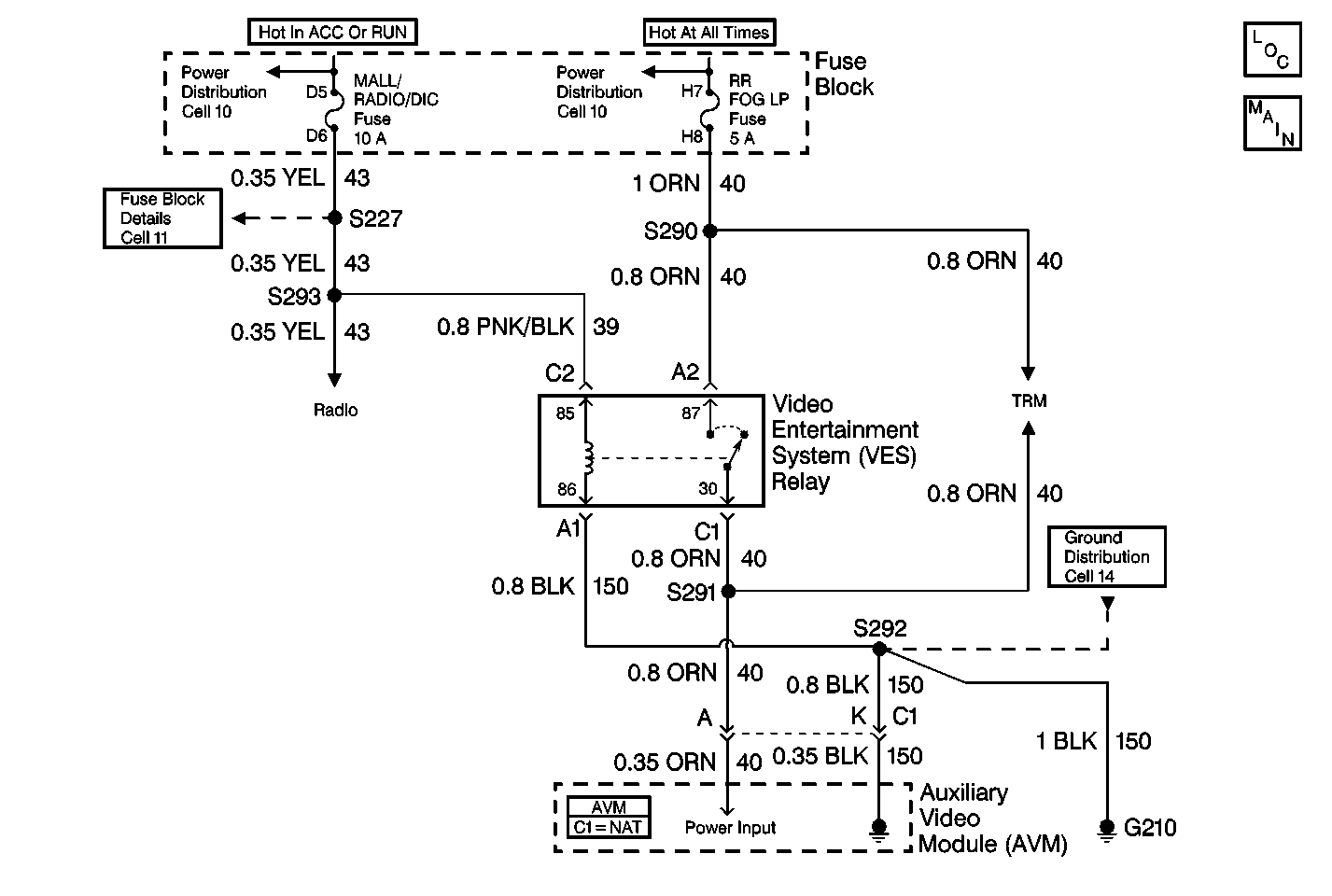
The Video Entertainment System (VES) contains a VES relay. When energized, the VES relay provides voltage to the Auxiliary Video Module (AVM), the Interface Module (IM), and the Tape Retract Module (TRM). The VES relay receives voltage at all times from the RR FOG LP fuse located in the fuse block through CKT 40 and ground through CKT 150. When the ignition switch is on, the VES relay receives voltage through CKT 39, which in turn energizes the VES relay. When the VES relay is energized, its contacts close and supply voltage from the fuse block to VES components.
| • | Check for the following conditions: |
| - | An open in CKT 39 |
| - | An open in CKT 40 between the fuse block and the VES relay |
| - | An open in CKT 40 between the VES relay and the S291 |
| - | An open in CKT 150 or poor ground |
| - | A faulty VES relay |
| • | An intermittent failure may be very difficult to detect and to diagnose accurately. Faulty electrical connections or wiring causes most intermittent conditions. When an intermittent condition is suspected, test the suspected circuits for the following conditions: |
| - | Poor mating of connector halves or backed out terminals |
| - | Improperly formed or damaged terminals |
| - | Wire chafing |
| - | Poor wire to terminal connections |
| - | Dirty or corroded terminals |
| - | Damage to connector bodies |
| - | Wire broken inside the insulation |
The number(s) below refer to the step number(s) on the diagnostic table.
Tests for a short to ground in CKT 40.
Tests for a short to ground in CKT 39
Tests for an open in CKT 40 between the VES relay and S291.
Tests for an open in CKT 39 between the fuse block and the VES relay.
Tests for an open in CKT 39 between the fuse block and the VES relay.
Determines whether CKT 150 is open or the VES relay is faulty.
Verify repairs made to the VES.
Step | Action | Value(s) | Yes | No |
|---|---|---|---|---|
DEFINITION: The video display screen and the Video Cassette Player (VCP) of the Video Entertainment System (VES) does not turn on. | ||||
Test the RR FOG LP fuse. Is the fuse open? | -- | Go to Step 2 | Go to Step 3 | |
2 | Repair the short to ground in CKT 40. Is the repair complete? | -- | Go to Step 14 | -- |
Test the MALL/RADIO/DIC fuse. Is the fuse open? | -- | Go to Step 4 | Go to Step 5 | |
4 | Repair the short to ground in CKT 39. Is the repair complete? | -- | Go to Step 14 | -- |
Does the test light illuminate? | -- | Go to Step 6 | Go to Step 7 | |
6 | Repair the poor connection or the open in CKT 40 between the VES relay harness connector terminal C1 and S291. Is the repair complete? | -- | Go to Step 14 | -- |
Using a test light, backprobe between the VES relay harness connector C2 and ground. Does the test light illuminate? | -- | Go to Step 9 | Go to Step 8 | |
8 | Repair the poor connection or the open in CKT 39. Is the repair complete? | -- | Go to Step 14 | -- |
Using a test light, backprobe between the VES relay harness connector terminal A2 and ground. Does the test light illuminate? | -- | Go to Step 11 | Go to Step 10 | |
10 | Repair the poor connection or the open in CKT 40 between the fuse block and the VES relay harness connector terminal A2. Is the repair complete? | -- | Go to Step 14 | -- |
Using a test light, backprobe between the VES relay harness connector terminals A1 and C2. Does the test light illuminate? | -- | Go to Step 12 | Go to Step 13 | |
12 |
Is the action complete? | -- | Go to Step 14 | -- |
13 | Repair the poor connection or the open in CKT 150 between the VES relay harness connector C2 and ground. Is the repair complete? | -- | Go to Step 14 | -- |
Does the VES operate normally? | -- | System OK | ||