GM Service Manual Online
For 1990-2009 cars only

Object Number: 417117  Size: MF
Entertainment Components
Radio/Audio System Schematics

Circuit Description

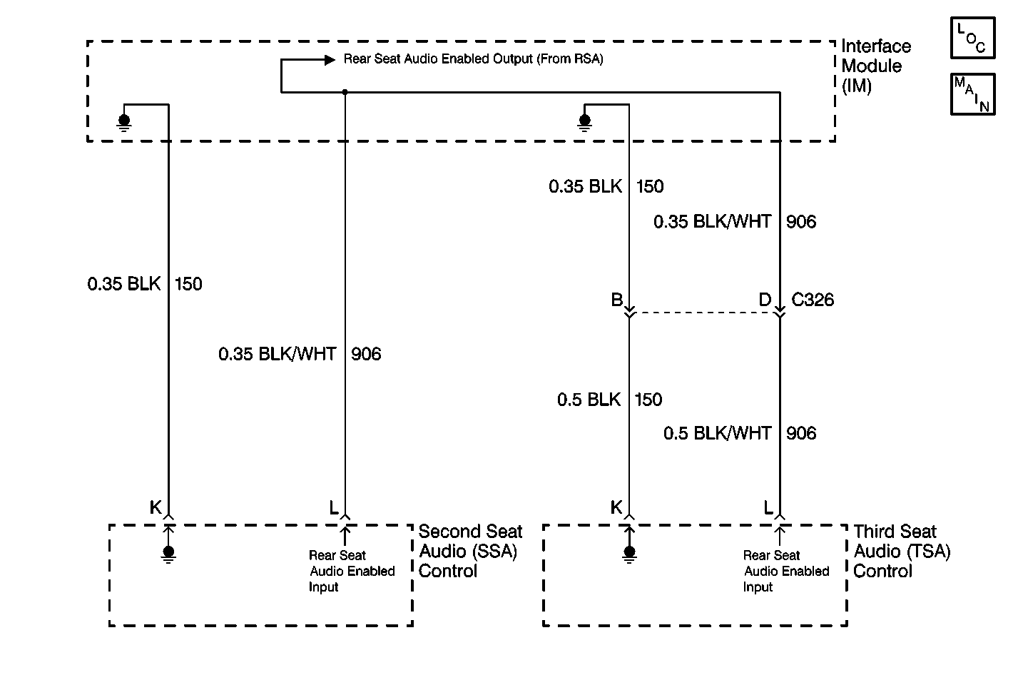
Rear Seat Audio (RSA) control provides second row passengers access to the radio audio system. The RSA, when turned on, allows the user to listen to the radio, audio cassette, or compact disc (if equipped) through headphones. When the RSA is turned on, the RSA automatically mutes the rear speakers. The controls on the radio allow the driver and front passenger to adjust radio audio coming through the front speakers. At the same time, the second (and third row) passengers can listen to the audio cassette or CD while the front passengers are listening to the radio, and vice versa. The RSA provides volume controls, mode selection (radio/tape/cd), seek, among other features. The audio selected at the RSA controls is also routed to the Second and Third Seat Audio (SSA/TSA) controls. The RSA headphone jacks do not provide access to the video audio channel; it is only available at the second and third seat audio controls.

The RSA control receives ignition voltage through CKT 43 from the fuse block through the Interface Module (IM). When the RSA is turned on, the RSA sends a voltage signal to the radio through CKT 1011. This signal enables the radio to perform RSA functions. The radio then sends a B+ signal through CKT 906 back to the RSA and the second and third seat audio controls, enabling them to provide radio audio through their headphone jacks. At the same time, the radio internally changes the loudness output of the rear speakers to a much lower output suitable for headphone use. When the RSA receives the enabling signal from the radio, the RSA mutes the rear speakers.

Diagnostic Aids

    • Check for the following conditions:
       - An open in CKT 150 between the IM and the RSA, SSA or TSA
       - An open in CKT 906 between the IM and the RSA, SSA or TSA
       - A faulty RSA, SSA or TSA
       - A faulty radio
    • An intermittent failure may be very difficult to detect and to diagnose accurately. Faulty electrical connections or wiring causes most intermittent problems. When an intermittent condition is suspected, check the suspected circuits for the following conditions:
       - Poor mating of connector halves or backed out terminals
       - Improperly formed or damaged terminals
       - Wire chafing
       - Poor wire to terminal connections
       - Dirty or corroded terminals
       - Damage to connector bodies
       - Wire broken inside the insulation

Test Description

The number(s) below refer to the step number(s) on the diagnostic table.

  1. Tests if the Rear Seat Audio (RSA) turns on.

  2. Tests for an open in CKT 150.

  3. Tests for an open in CKT 906.

  4. Verifies repairs made to the VES.

Step

Action

Value(s)

Yes

No

1

  1. Turn the ignition switch on.
  2. Turn the radio on.
  3. Attempt to turn on the Rear Seat Audio (RSA) control.

Does the RSA turn on?

--

Go to Step 3

Go to Step 2

2

Refer to Radio Audio Inoperative at Rear Seat Audio (RSA) Control table for further diagnosis and repair of the RSA.

Is the action complete?

--

Go to Step 8

--

3

  1. Leave the radio and the RSA on.
  2. Using a J 39200 digital multimeter (DMM), measure the voltage by backprobing between B+ and the following components:
  3. • RSA: terminal B6.
    • Second or Third Seat Audio: Terminal K.

Does the voltage measure in the specified range?

B+ (10-14 V)

Go to Step 5

Go to Step 4

4

  1. Test for a poor connection or open in CKT 150 between the Interface Module (IM) and the RSA, SSA or TSA.
  2. If the circuit is OK, then replace the IM. Refer to Interface Module Replacement .

Is the repair complete?

--

Go to Step 8

--

5

  1. Ensure that the ignition switch is on, the radio is on, and the RSA is on.
  2. Using a J 39200 DMM, measure the voltage by backprobing between ground and:
  3. • RSA: terminal B5.
    • Second or Third Seat Audio: Terminal L.

Does the voltage measure in the specified range?

B+ (9-14 V)

Go to Step 7

Go to Step 6

6

  1. Test for a poor connection or an open in CKT 906 between the Interface Module (IM) and the RSA, SSA or TSA.
  2. If the circuit is OK, then replace the IM. Refer to Interface Module Replacement .

Is the repair complete?

--

Go to Step 8

--

7

  1. Test for a poor connection or an open at the RSA, SSA or TSA.
  2. If connection is OK, then replace the RSA, SSA or TSA. Refer to one of the following procedures:

Is the repair complete?

--

Go to Step 8

--

8

  1. Turn the ignition switch off.
  2. Reconnect the connectors or the components that were previously removed.
  3. Verify that the Video Entertainment System (VES) operates properly.

Does the VES operate normally?

--

System OK

Go to Video System System Check