GM Service Manual Online
For 1990-2009 cars only
Makes
🢒
Chevrolet
🢒
1998
🢒
Venture Ext.
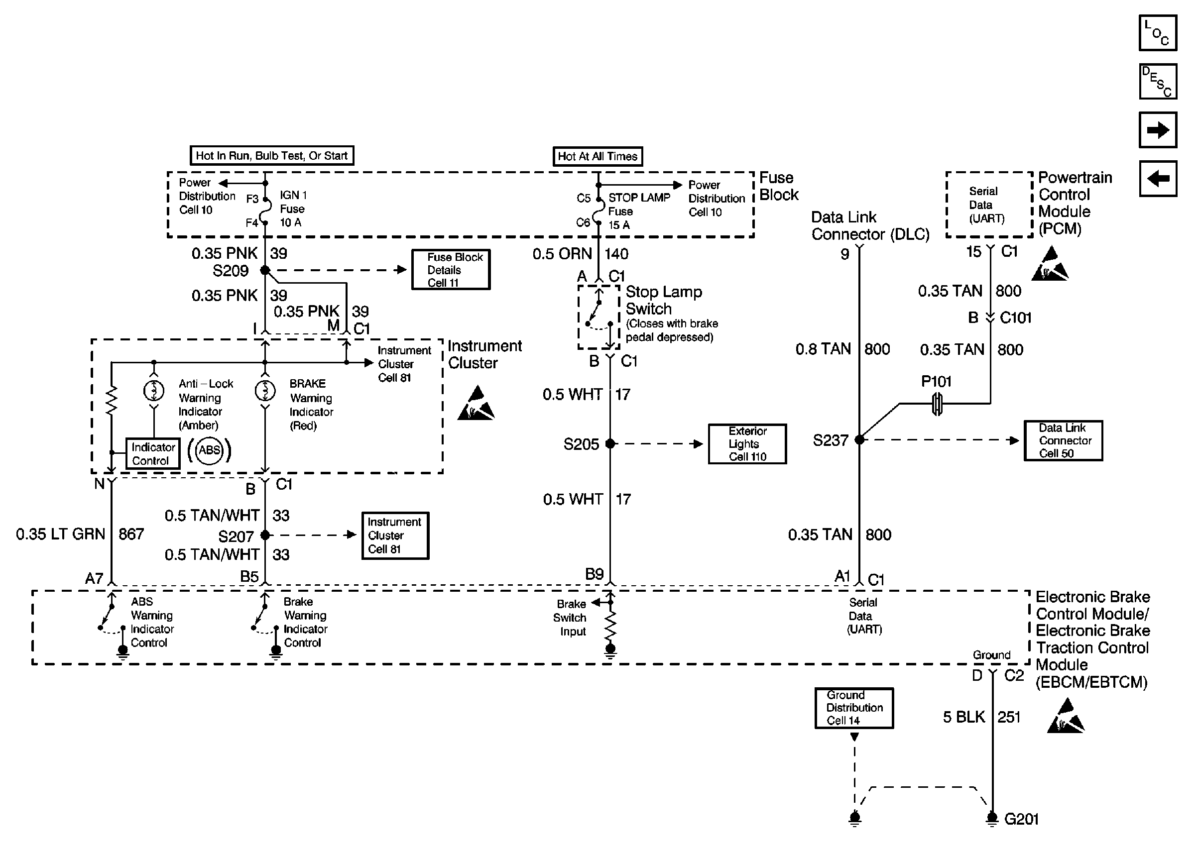
🢒 ABS/TCS Schematics ( ABS Module, DLC, Ground, Instrument Cluster, PCM, Power, Stop Lamp Switch)
ABS/TCS Schematics ( ABS Module, DLC, Ground, Instrument Cluster, PCM, Power, Stop Lamp Switch)
ABS/TCS Schematics ( ABS Module,DLC, Ground, Instrument Cluster, PCM, Power, Stop Lamp Switch)
Cell 10: Ignition Switch, Transaxle Range Switch
Cell 10: Fuse Block, Underhood Accessory Wiring Junction Block
Cell 50
Cell 110: Stoplamp Switch, Center High Mounted Stop Lamp
Cell 81: Inflatable Restraint Sensing and SDM
Cell 14: G200 and G201
ESD Notice
ESD Notice
ESD Notice
Cell 11: IGN 1 Fuse
Cell 81: Inflatable Restraint Sensing and SDM