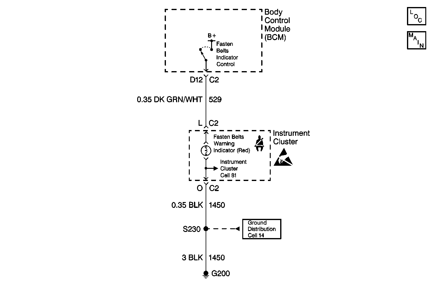
The Body Control Module (BCM) controls the operation of the fasten seat belt indicator. The fasten seat belt indicator is located in the instrument cluster. The BCM turns ON the fasten seat belt indicator by sending voltage through CKT 529. The fasten seat belt indicator receives ground through CKT 1450.
The BCM turns ON the fasten seat belt indicator for 63-77 seconds when the following conditions are met:
| • | The ignition switch is in the RUN position. |
| • | The driver's seat belt releases (unfastens). |
If the driver's seat belt is fastened during the 63-77 second period, the BCM turns OFF the fasten seat belt indicator. If the driver's seat belt releases anytime during the same ignition cycle, the BCM turns ON the fasten seat belt indicator again for 63-77 seconds.
The BCM detects a short to B+ or ground in CKT 529.
| • | The BCM sets the Diagnostic Trouble Code (DTC) 1. |
| • | The fasten seat belt indicator lamp does not turn on when CKT 529 shorts to ground. |
| • | The fasten seat belt indicator lamp stays on at all times when CKT 529 shorts to B+. |
| • | A short to B+ or ground in CKT 529 is no longer present between the BCM and the instrument cluster. |
| • | After you complete the repairs, the DTC is cleared by performing the Clearing Diagnostic Trouble Codes (DTCs) procedure. |
| • | Inspect for a short to ground in CKT 529. |
| • | Inspect for a short to B+ in CKT 529. |
| • | Inspect for an internal short to ground in the instrument cluster circuity. |
| • | Attempt to perform the tests shown while moving the wiring and the connectors. |
| This procedure can show where the malfunction may appear. |
The number(s) below refer to the step number(s) on the diagnostic table.
Always perform the BCM diagnostic system check before attempting to diagnose the DTC.
Perform the tests for the operation of the fasten seat belt indicator.
Perform the tests for a short to ground in CKT 529.
Perform the tests for a short to B+ in CKT 529.
Determine whether the BCM or the instrument cluster is faulty.
Perform the tests for a faulty BCM.
Step | Action | Value(s) | Yes | No |
|---|---|---|---|---|
Was the BCM diagnostic system inspection performed? | -- | Go to Step 2 | ||
Does the fasten seat belt indicator turn on for 63-77 seconds, then turn off? | -- | Go to Step 7 | Go to Step 3 | |
Is the resistance equal to the specified value? | Infinite | Go to Step 4 | Go to Step 8 | |
Is the voltage less than the specified value? | 2 V | Go to Step 5 | Go to Step 9 | |
Does the fastener seat belt indicator lamp turn ON (and the fused jumper does not open)? | -- | Go to Step 6 | Go to Step 10 | |
Does DTC 1 reset. | -- | Go to Step 11 | Go to Step 7 | |
7 | The malfunction is intermittent or not present at this time. Refer to Diagnostic Aids. Is the action complete? | -- | Go to Step 12 | -- |
8 | Repair short to ground in CKT 529 between the BCM connector C2 terminal D12 and the instrument cluster connector C2 terminal L. Is the repair complete? | -- | Go to Step 12 | -- |
9 | Repair short to B+ in CKT 529 between the BCM connector C2 terminal D12 and the instrument cluster connector C2 terminal L. Is the repair complete? | -- | Go to Step 12 | -- |
10 | The instrument cluster has an internal short to ground. Service the instrument cluster. Refer to Instrument Cluster Replacement Is the action complete? | -- | Go to Step 12 | -- |
11 |
Is the repair complete? | -- | Go to Step 12 | -- |
12 |
Are any BCM DTCs present? | -- | System OK |