GM Service Manual Online
For 1990-2009 cars only
Makes
🢒
Chevrolet
🢒
1999
🢒
Venture Ext.
🢒
Body and Accessories
🢒
Lighting Systems
🢒 Fog Lights Schematics
Figure
1:
Cell 103
Lighting Systems Components
Fog Lights Circuit Description
Cell 14: G200
Cell 14: G101 and G102
Cell 14: G101 and G102
Cell 110: License Lamps, Relay Center
Cell 100: Headlamps
Handling ESD Sensitive Parts Notice
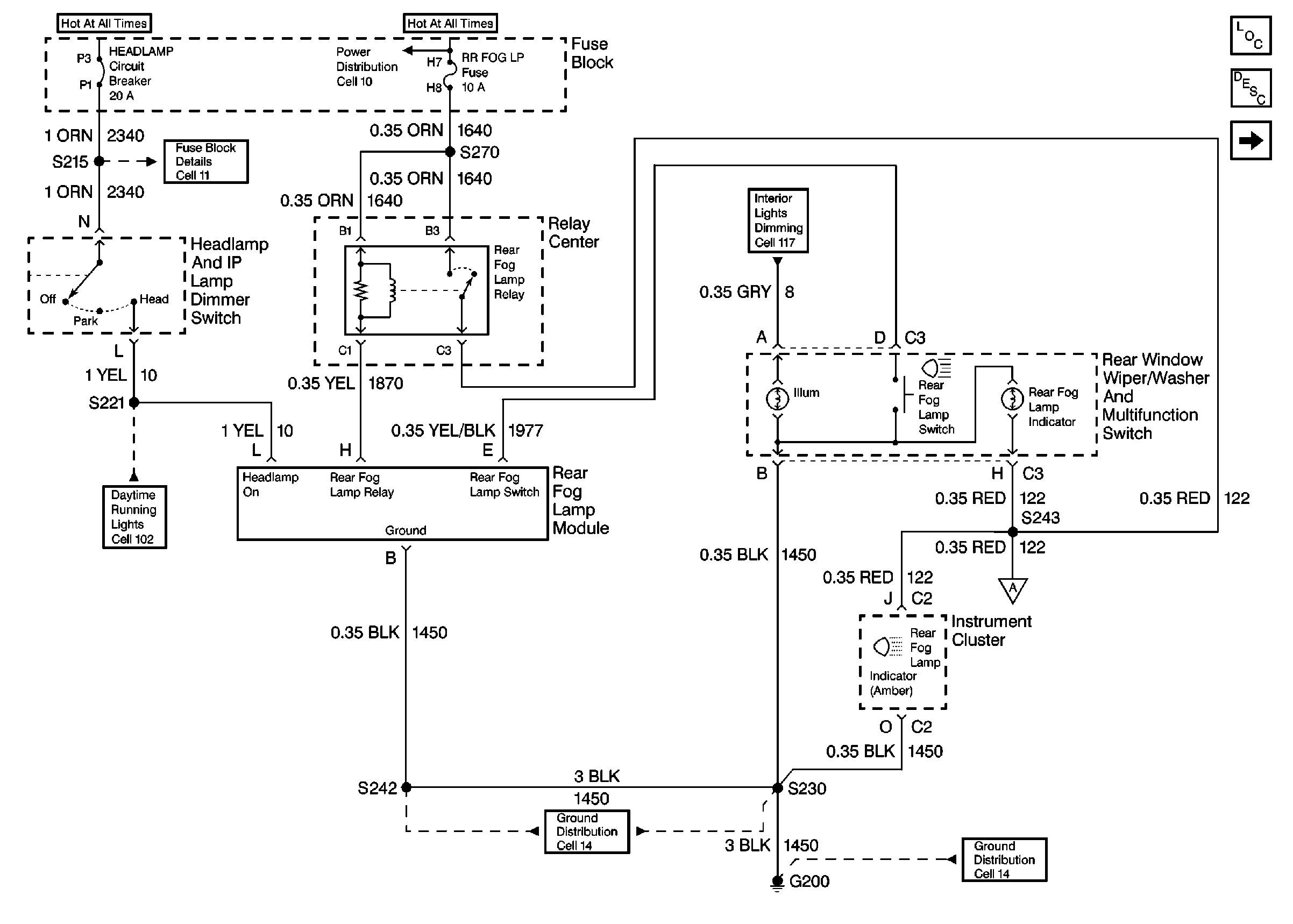
Figure
2:
Rear Fog Lights -- Export 1 of 2
Lighting Systems Components
Fog Lights Circuit Description
Cell 14: G200
Cell 14: G200
Rear Fog Lights - Export 2 of 2
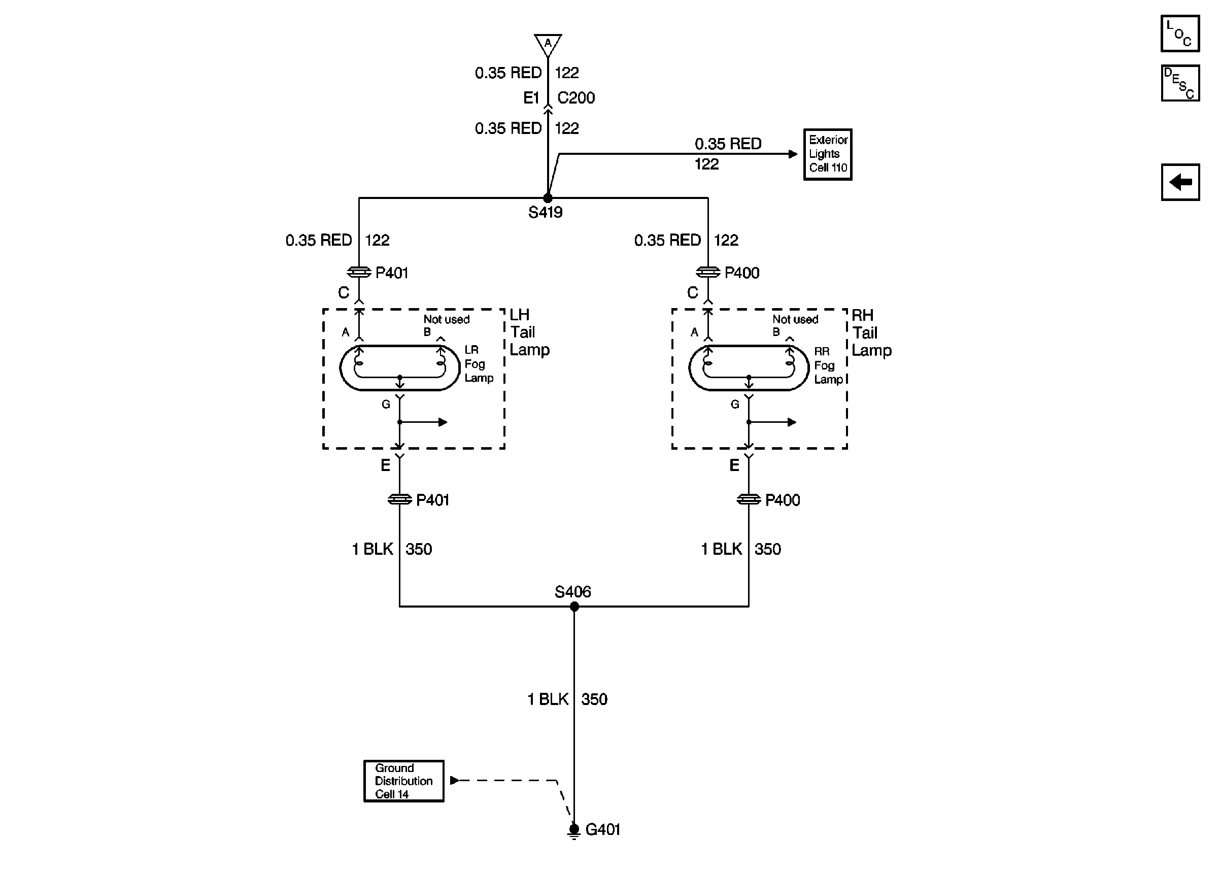
Figure
3:
Rear Fog Lights -- Export 2 of 2
Lighting Systems Components
Fog Lights Circuit Description
Cell 14: G200
Rear Fog Lights - Export 1 of 2