GM Service Manual Online
For 1990-2009 cars only

Video Entertainment System Always On first design


Object Number: 417123  Size: MF
Entertainment Connector End Views
Fuse Block Schematics
Power Distribution Schematics
Entertainment Components
Video System Schematics

Circuit Description

The Video Entertainment System (VES) contains a VES relay. The VES relay, when energized, provides voltage to the Auxiliary Video Module (AVM), the Interface Module (IM), and the Tape Retract Module (TRM). The VES relay receives voltage at all times from the RR FOG LP fuse located in the fuse block through circuit 40 and ground through circuit 150. When the ignition switch is on, the VES relay receives voltage through circuit 39, which in turn energizes the VES relay. When the VES relay is energized, its contacts close and supply voltage from the fuse block to VES components.

Diagnostic Aids

    • Check for the following conditions:
       - Faulty VES relay (contacts always closed).
       - Short to B+ in circuit 39 between the fuse block and the VES relay.
       - Short to B+ in circuit 40.
    • An intermittent failure may be very difficult to detect and to diagnose accurately. Faulty electrical connections or wiring causes most intermittent problems. When an intermittent condition is suspected, check the suspected circuits for the following conditions:
       - Improperly formed or damaged terminals.
       - Wire chafing.
       - Damage to connector bodies.

Test Description

The number(s) below refer to the step number(s) on the diagnostic table.

  1. Determines whether the VES relay contacts are closed at all times, or CKT 40 between the system relay and the fuse block is shorted to B+.

  2. Verifies repairs made to the VES system.

Step

Action

Value(s)

Yes

No

DEFINITION: The Video Entertainment System (VES) components, the Video Cassette Player (VCP) and the Audio Video Module (AVM), do not turn off when the ignition switch is off. However, the VCP can be turned off by using the power button, and the AVM can be turned off by placing the video screen in the up (stored) position.

1

Disconnect the VES relay.

Does the Video Entertainment System (VES) turn off?

--

Go to Step 3

Go to Step 2

2

Repair the short to B+ in CKT 40 between the VES relay and S291.

Is the repair complete?

--

Go to Step 6

--

3

Is CKT 39 shorted to B+?

--

Go to Step 4

Go to Step 5

4

Repair the short to B+ in CKT 39 between the fuse block and the VES relay.

Is the repair complete?

--

Go to Step 6

--

5

Replace the VES relay. Refer to Video Entertainment System Relay Replacement .

Is the repair complete?

--

Go to Step 6

--

6

  1. Turn the ignition switch off.
  2. Reconnect the connectors or components that were previously removed.
  3. Verify that the VES operates properly.

Does the VES operate normally?

--

System OK

Go to Video System System Check

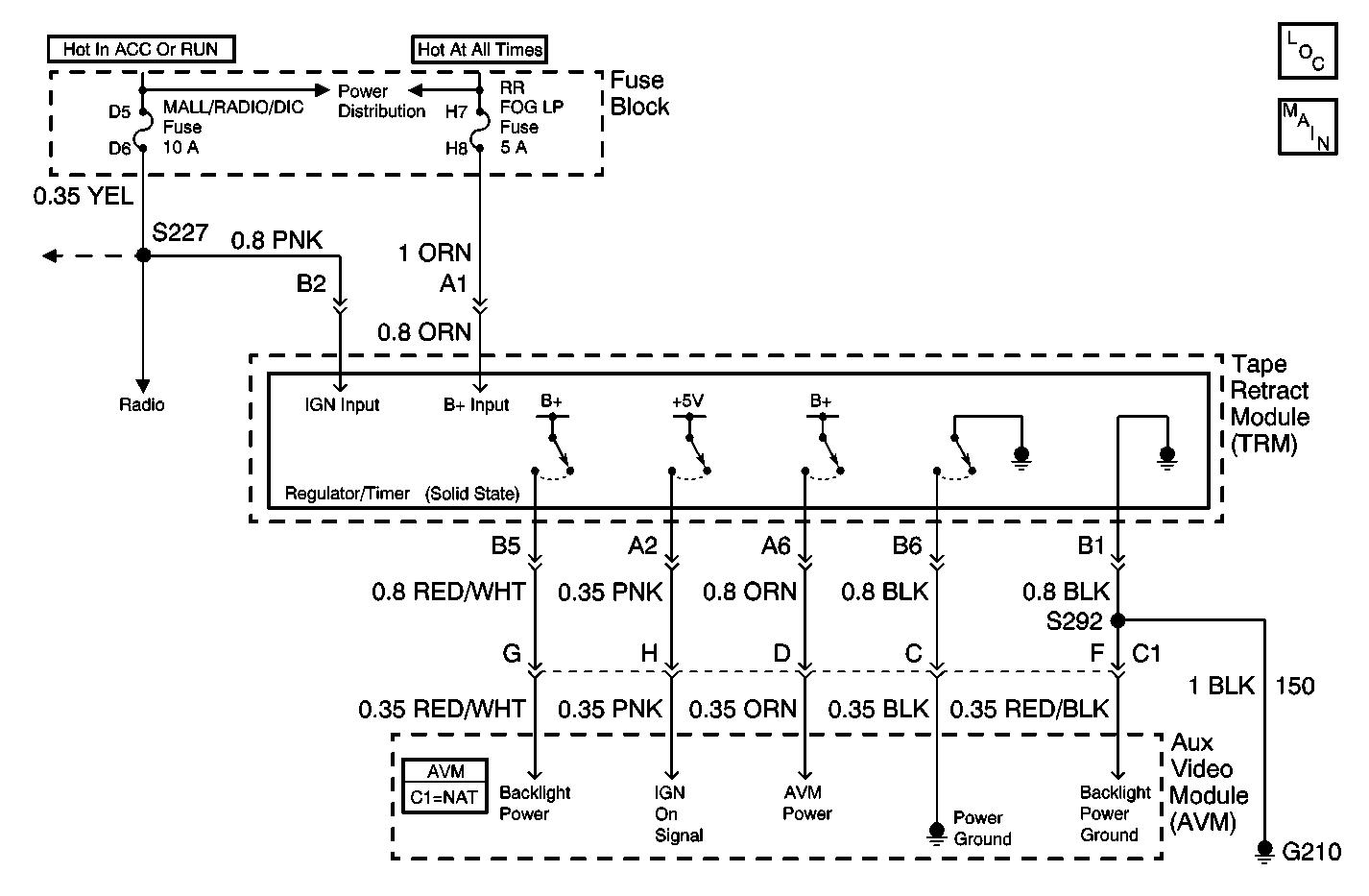
Video Entertainment System Always On second design


Object Number: 566208  Size: MF
Entertainment Components
Video System Schematics
Ground Distribution Schematics
Entertainment Connector End Views
Power Distribution Schematics

Circuit Description

The Video Entertainment System (VES) contains the Auxiliary Video Module (AVM), the Interface Module (IM), and the Tape Retract Module (TRM). The TRM receives voltage at all times from the RR FOG LP fuse located in the fuse block. The TRM receives ignition voltage from the MALL/RADIO/DIC fuse when the ignition switch is on. When the key is on, the TRM in turn supplies battery voltage, the ignition signal, and the power ground signal to the AVM and battery voltage to the Video Cassette Player (VCP).

Diagnostic Aids

    • Check for a Short to Battery voltage on the IGN voltage input to the TRM.
    • An intermittent failure may be very difficult to detect and to diagnose accurately. Faulty electrical connections or wiring causes most intermittent problems. When an intermittent condition is suspected, check the suspected circuits for the following conditions:
       - Improperly formed or damaged terminals.
       - Wire chafing.
       - Damage to connector bodies.

Test Description

The number(s) below refer to the step number(s) on the diagnostic table.

  1. Determines whether the LCD screen turns the backlight on when the ignition is not on.

  2. Verifies repairs made to the VES system.

Step

Action

Value(s)

Yes

No

DEFINITION: The Video Entertainment System (VES) components, the Video Cassette Player (VCP) and the Audio Video Module (AVM), do not turn off when the ignition switch is off. However, the VCP can be turned off by using the power button, and the AVM can be turned off by placing the video screen in the up (stored) position.

1

  1. Turn the ignition OFF.
  2. Lower the video display screen.

Does the video display screen turn on its backlight?

--

Go to Step 2

Go to Video System Diagnostic Overview

2

  1. Ensure that the ignition is OFF.
  2. Backprobe the TRM connector and test for battery voltage on the Ignition voltage input circuit to the TRM.

Is voltage present at the test point?

--

Go to Step 3

Go to Step 4

3

Repair the short to B+ on the Ignition voltage input circuit to the TRM.?

Has the repair been made?

--

Go to Step 5

Go to Step 4

4

Replace the TRM. Refer to Tape Retract Module Replacement

Has the repair been made?

--

Go to Step 5

--

5

  1. Turn the ignition switch off.
  2. Reconnect the connectors or components that were previously removed.
  3. Verify that the VES operates properly.

Does the VES operate normally?

--

System OK

Go to Video System System Check