GM Service Manual Online
For 1990-2009 cars only

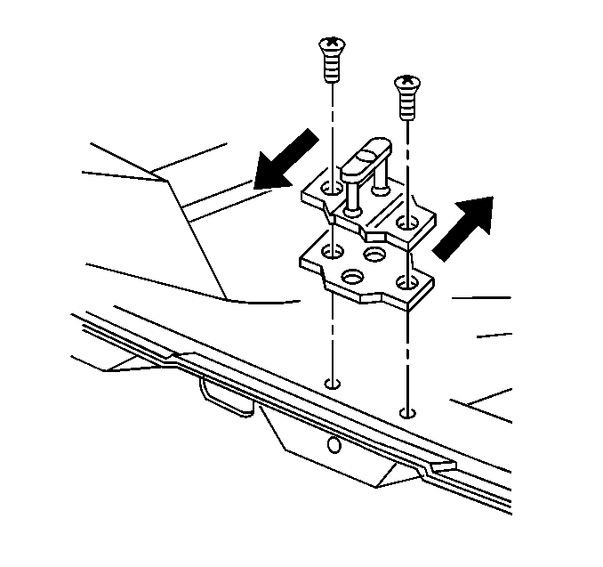
Liftgate Striker Rattle


Object Number: 488831  Size: SH

Symptom

There may be a rattle noise coming from the liftgate striker while the vehicle is in motion.

Possible Cause

The liftgate striker may be out of adjustment.

Diagnosis

  1. Slowly close the liftgate and verify proper striker engagement.
  2. Visually check the liftgate for/aft and lateral gap when it is closed.

Corrective Action

Adjust the liftgate striker. The striker should be positioned as far as possible while maintaining acceptable closing efforts and primary latch engagement.

LIftgate Latch Squeak


Object Number: 488832  Size: SH

Symptom

There may be a squeak noise coming from the liftgate latch.

Possible Cause

The liftgate latch may be lacking the proper amount of internal lubrication.

Diagnosis

Verify that the liftgate is properly adjusted.

Corrective Action

  1. Open the liftgate and lubricate the farthest internal point of the liftgate latch with Lubriplate lubricant GM P/N 1050109.
  2. If the condition persists, remove the liftgate latch and lubricate the latch through the access hole on the top surface of the latch.