GM Service Manual Online
For 1990-2009 cars only

Notice: Do not turn the parasitic draw test switch to the OFF position with the engine running. Damage will occur to the vehicle's electrical system.

Notice: The test switch must be in the ON position when removing the fuses in order to maintain continuity in the electrical system. This avoids damaging the digital multimeter due to accidental overloading, such as a door being opened to change a fuse.


Object Number: 405483  Size: SH

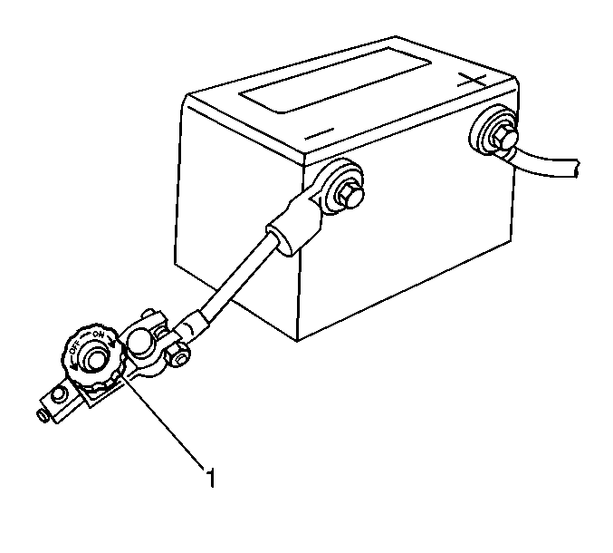
Important: The switch knob (1) on the J 38758 is marked ON and OFF. When the switch knob is in the ON position, the circuit is closed and electrical current will pass through the switch. When the switch knob is in the OFF position, the circuit is open and electrical current will not pass through the switch.

    Caution: Refer to Battery Disconnect Caution in the Preface section.

  1. Disconnect the battery (ground) negative cable from the battery negative terminal.

  2. Object Number: 405480  Size: SH
  3. Install the male end of the J 38758 to the battery ground (negative) terminal.

  4. Object Number: 405483  Size: SH
  5. Turn the J 38758 knob (1) to the OFF position.
  6. Install the battery (ground) negative cable to the female end of the J 38758 .
  7. Turn the J 38758 knob to the ON position.
  8. Road test the vehicle and activate all of the accessories, including the radio and the air conditioning.
  9. Park the vehicle. Turn the ignition switch to the OFF position and remove the ignition switch key.

  10. Object Number: 405487  Size: SH
  11. Connect a 10 A fused jumper wire to the (1) test switch tool terminals.
  12. Turn the J 38758 knob to the OFF position. The current flows through the jumper wire.
  13. Wait one minute. If the fuse blows use an inductive ammeter to locate the current draw.
  14. Set a digital multimeter to the 10 A scale.

  15. Object Number: 405490  Size: SH
  16. Connect the digital multimeter to the test switch tool terminals.
  17. Turn the J 38758 knob (1) to the OFF position. The current to flows through the digital multimeter.
  18. Wait one minute. Check and record the current reading.
  19. • When there is a current reading of 2 A or less, turn the J 38758 knob to the ON position. Continuity is maintained in the electrical system.

    Object Number: 405488  Size: SH
    • Then, switch the digital multimeter down to the 2 A scale (1) for a more accurate reading when the J 38758 knob is turned OFF.
  20. Turn the J 38758 knob to the OFF position. Wait 10 minutes.
  21. Check and record the current reading.
  22. Note the battery reserve capacity. Refer to Battery Usage .
  23. • Divide the reserve capacity by 4.
    • Compare this to the multimeter milliampere reading taken in the previous step.
    • The parasitic current drain should not exceed this number.
    • Example: If a battery has a reserve capacity of 100 minutes, the current drain should not exceed 25 mA.
  24. Check the charging system if the vehicle has an acceptable amount of current drain. Refer to Charging System Test .
  25. Notice: The test switch must be in the ON position when removing the fuses in order to maintain continuity in the electrical system. This avoids damaging the digital multimeter due to accidental overloading, such as a door being opened to change a fuse.

  26. When the vehicle has an unacceptable amount of parasitic current drain, remove each fuse one at a time until the current drain falls to an acceptable level. This will indicate which circuit is causing the drain. Refer to Power Distribution Schematics in Wiring Systems to diagnose exactly which part of the suspect circuit is causing the parasitic drain. In some cases a non-fused circuit or component, such as a generator, is the cause of excessive parasitic current drain. Refer to the table below.
  27. Repeat the parasitic current drain test procedure after any repair has been completed to make sure that the parasitic current drain is at an acceptable level.
  28. When the cause of the excessive current draw has been located and repaired, remove the J 38758 .
  29. Connect the battery (ground) negative cable to the battery negative terminal and tighten to 15 N·m (11 lb ft).

Component

Approximate Current Draw (mA)

Typical

Approximate Current Draw (mA)

Maximum

Inflatable Restraint Sensing and Diagnostic Module (SDM)

0.75

1.0

Instrument Cluster

4.0

6.0

Powertrain Control Module (PCM)

5.0

7.0

Radio

5.0

7.0

Remote CD Player

5.0

7.0