GM Service Manual Online
For 1990-2009 cars only

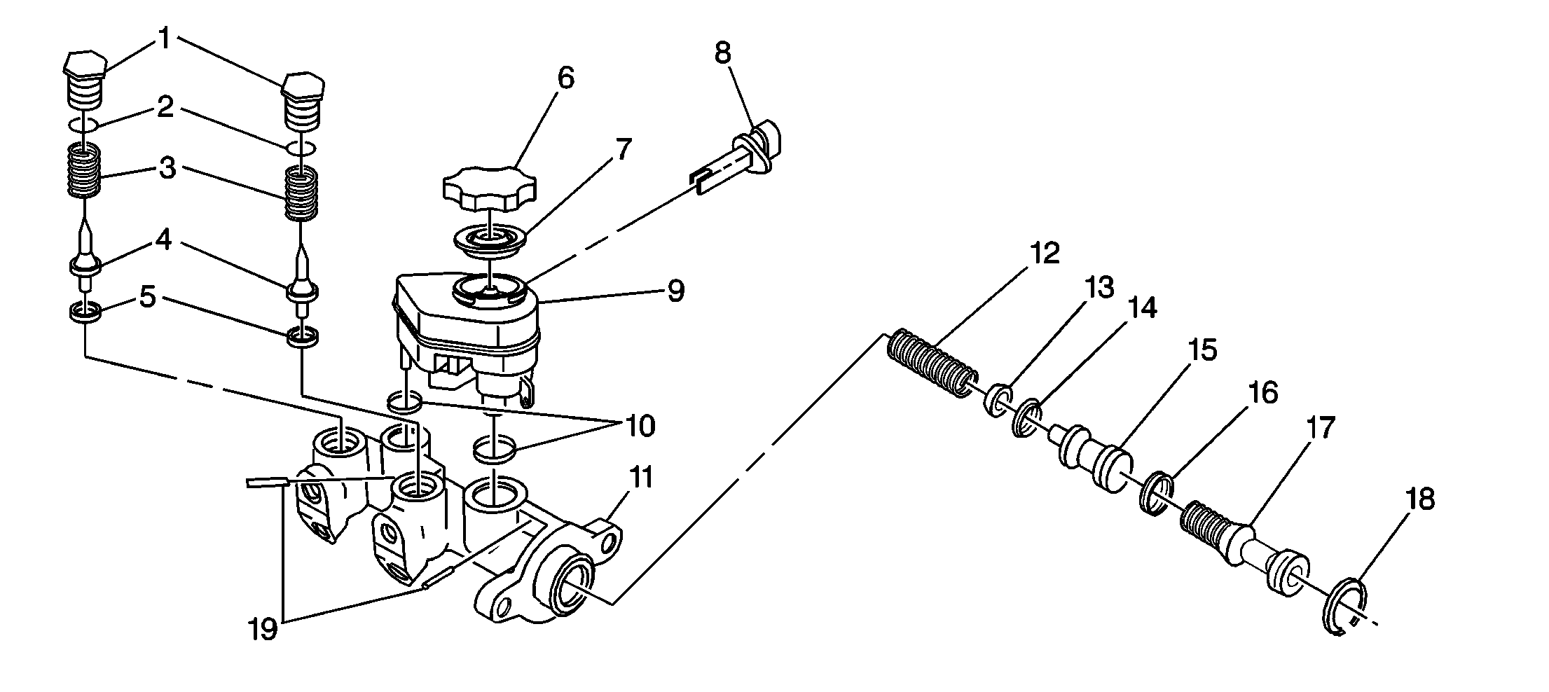
Object Number: 176843  Size: SF

Important: 

   • Replace all of the components that are included in the repair kits used to service this master cylinder.
   • Lubricate the rubber parts with clean brake fluid in order to ease assembly.
   • Do not use lubricated compressed air on the brake parts. This action may cause damage to the rubber components.
   • If you remove or disconnect any hydraulic part, bleed all or part of the brake system.
   • The specified torque values are for dry, non-lubricated fasteners.
   • Perform the service operations on a clean bench that is free from all mineral oil materials.

This master cylinder is a composite design. The master cylinder contains a plastic reservoir (9) and an aluminum body (11).

The master cylinder is used in a diagonally split system.

    • One front and one diagonally rear brake is served by the primary piston (17).
    • The opposite front and rear brakes are served by the secondary piston (15).

The master cylinder incorporates the functions of a standard dual master cylinder. The master cylinder also has a fluid level sensor (8) and integral proportioning. The proportioning valves are designed to provide better front-to-rear braking balance with a heavy brake application.

Fluid Level Sensor

Compact master cylinders are equipped with a fluid level sensor. The sensor activates the BRAKE warning lamp if the fluid level is low. The BRAKE warning lamp turns off when the fluid level is corrected.