GM Service Manual Online
For 1990-2009 cars only

Parking Brake Shoe Replacement Export

Removal Procedure

  1. Ensure that the park brake control (pedal) is in the full release (up) position.
  2. Raise and support the vehicle. Refer to Lifting and Jacking the Vehicle in General Information.
  3. Ensure that both of the park brake cable actuator levers are in the full release (up) position. If both of the park brake cable actuator levers are not in the full release (up) position, adjust the park brake cable. Refer to Park Brake Cable Service/Adjustment .
  4. Remove the tire and wheel. Refer to Tire and Wheel Removal and Installation in Tires and Wheels.
  5. Remove the rear brake caliper bracket with the rear brake caliper. Refer to Rear Brake Caliper Bracket Replacement in Disc Brakes.
  6. Remove the rear brake rotor. Refer to Rear Brake Rotor Replacement in Disc Brakes.
  7. Loosen the park brake actuator adjuster nut until there is no tension against the park brake shoe.
  8. Remove the wheel bearing/hub. Refer to Rear Wheel Bearing and Hub Replacement in Rear Suspension.

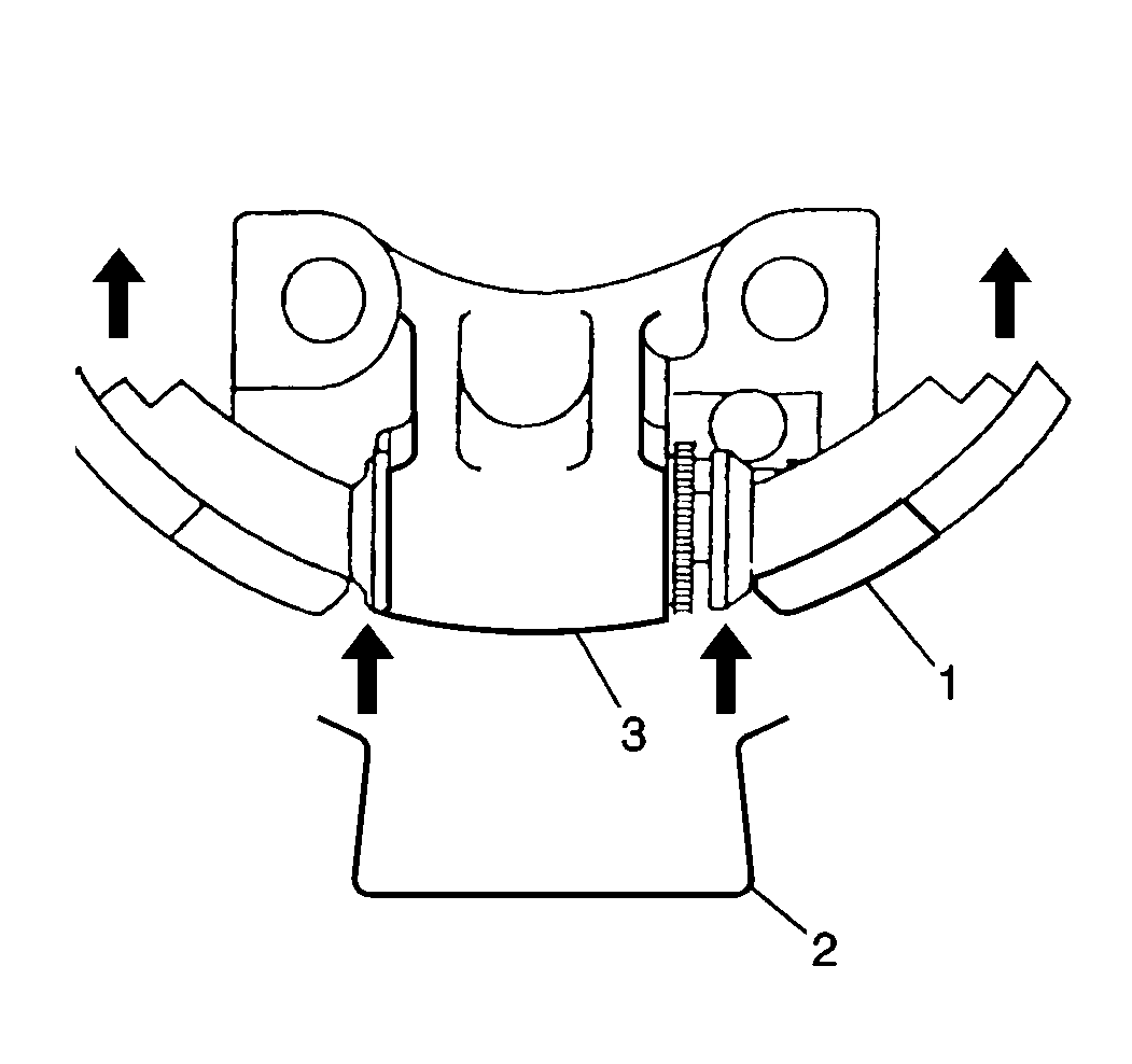
  9. Object Number: 177198  Size: SH
  10. Remove the park brake shoe (1) from the backing plate and the park brake shoe retaining clip.
  11. Install the park brake actuator retainer (2) to the park brake actuator (3).

Installation Procedure


    Object Number: 339834  Size: MH
  1. Remove the park brake actuator retainer (5) from the park brake actuator.
  2. Important: Ensure that the park brake shoe (1) engages the retainer (2).

  3. Install the park brake shoe to the park brake support plate.
  4. Install the wheel bearing/hub. Refer to Rear Wheel Bearing and Hub Replacement in Rear Suspension.
  5. Adjust the park brake shoe. Refer to Parking Brake Shoe Adjustment .
  6. Install the rear brake rotor. Refer to Rear Brake Rotor Replacement in Disc Brakes.
  7. Install the rear brake caliper bracket with the rear brake caliper. Refer to Rear Brake Caliper Bracket Replacement in Disc Brakes.
  8. Adjust park brake cable. Refer to Park Brake Cable Service/Adjustment .
  9. Install the tire and wheel. Refer to Tire and Wheel Removal and Installation
  10. Lower the vehicle.