GM Service Manual Online
For 1990-2009 cars only

Object Number: 543601  Size: MF
ABS Components
Antilock Brake System Schematics
Instrument Cluster: Analog Schematics
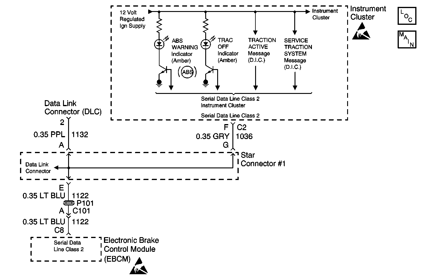
Data Link Connector Schematics
Handling Electrostatic Discharge Sensitive Parts Notice
Handling Electrostatic Discharge Sensitive Parts Notice

Circuit Description

The Instrument Panel Cluster (IPC) turns the ABS Indicator on during the IPC bulb check for approximately 3 seconds, then OFF, when the ignition switch is turned to the RUN position. If the EBCM sets a Diagnostic Trouble Code (DTC) the EBCM sends a class 2 message to the IPC to command the ABS Indicator on.

Diagnostic Aids

    • It is very important that a thorough inspection of the wiring and connectors be performed. Failure to carefully and fully inspect wiring and connectors may result in misdiagnosis, causing part replacement with reappearance of the malfunction.
    • Thoroughly inspect any circuitry that may be causing the complaint for the following conditions:
       - Backed out terminals
       - Improper mating
       - Broken locks
       - Improperly formed or damaged terminals
       - Poor terminal-to-wiring connections
       - Physical damage to the wiring harness
    • The following conditions may cause an intermittent malfunction:
       - A poor connection
       - Rubbed-through wire insulation
       - A broken wire inside the insulation
    • If an intermittent malfunction exists refer to Testing for Intermittent Conditions and Poor Connections in Wiring Systems.

ABS Indicator Inoperative with No DTC Set

Step

Action

Value(s)

Yes

No

DEFINITION: ABS Indicator does not turn come ON during the Instrument Panel Cluster (IPC) bulb check and no ABS/TCS DTC(s) set.

1

Did you perform the ABS Diagnostic System Check?

--

Go to Step 2

Go to Diagnostic System Check - ABS

2

  1. Install a scan tool.
  2. Turn ON the ignition, with the engine OFF.
  3. Go to Output Controls in the Instrument Panel display.
  4. Use the WOW mode to turn ON and OFF all of the instrument panel indicators.
  5. The ABS indicator should turn ON and then OFF when commanded so.

Will the scan tool command the ABS Indicator ON then OFF?

--

Go to Step 3

Go to Step 4

3

Replace the EBCM. Refer to Electronic Brake Control Module Replacement .

Did you complete the repair?

--

Go to Step 5

--

4

Replace the Instrument Panel. Refer to Instrument Panel Assembly Replacement in Instrument Panel, Gauges and Console.

Did you complete the repair?

--

Go to Step 5

--

5

  1. Use the scan tool in order to clear the DTCs.
  2. Operate the vehicle within the Conditions for Running the DTC as specified in the supporting text.

Does the DTC reset?

--

Go to Step 2

System OK