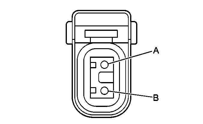
| |||||||
|---|---|---|---|---|---|---|---|
Connector Part Information |
| ||||||
Pin | Wire Color | Circuit No. | Function | ||||
A | PNK | 339 | Fused Ignition Feed | ||||
B | PNK/BLK | 429 | Air Injection BL Valve Control | ||||
| |||||||
|---|---|---|---|---|---|---|---|
Connector Part Information |
| ||||||
Pin | Wire Color | Circuit No. | Function | ||||
A | LT GRN | 1222 | 1-2 shift solenoid valve control | ||||
B | YEL/BLK | 1223 | 2-3 shift solenoid valve control | ||||
C | RED/BLK | 1228 | Pressure control solenoid high | ||||
D | LT BLU/WHT | 1229 | Pressure control Solenoid low | ||||
E | PNK | 1339 | Fused ignition 1 feed | ||||
F-K | -- | -- | Not Used | ||||
L | YEL/BLK | 1227 | Transmission fluid temperature sensor signal | ||||
M | BLK | 2762 | Sensor ground | ||||
N | PNK | 1224 | Pressure switch A input | ||||
P | RED | 1226 | Pressure switch C input | ||||
R | DK BLU | 1225 | Pressure switch B input | ||||
S | RED/BLK | 1230 | Sensor ground | ||||
T | BRN | 418 | TCC PWM solenoid valve control | ||||
U | YEL | 657 | TCC Release switch input | ||||
V | DK BLU/WHT | 1231 | Sensor low | ||||
W | -- | -- | Not Used | ||||
| |||||||
|---|---|---|---|---|---|---|---|
Connector Part Information |
| ||||||
Pin | Wire Color | Circuit No. | Function | ||||
A | RED/WHT | 812 | CMP sensor battery positive voltage (B+) | ||||
B | BLK | 630 | CMP sensor signal | ||||
C | BLK | 407 | CMP sensor ground | ||||
| |||||||
|---|---|---|---|---|---|---|---|
Connector Part Information |
| ||||||
Pin | Wire Color | Circuit No. | Function | ||||
A | YEL | 573 | 7X Reference High | ||||
B | PPL | 574 | 7X Reference Low | ||||
| |||||||
|---|---|---|---|---|---|---|---|
Connector Part Information |
| ||||||
Pin | Wire Color | Circuit No. | Function | ||||
A | LT GRN | 1867 | CMP/CKP sensor ground | ||||
B | LT BLU/BLK | 647 | CKP sensor signal | ||||
C | YEL/BLK | 1868 | CMP/CKP sensor battery positive voltage | ||||
| |||||||
|---|---|---|---|---|---|---|---|
Connector Part Information |
| ||||||
Pin | Wire Color | Circuit No. | Function | ||||
A | ORN/BLK | 469 | MAP Sensor Return | ||||
B | YEL | 410 | ECT Sensor Signal | ||||
| |||||||
|---|---|---|---|---|---|---|---|
Connector Part Information |
| ||||||
Pin | Wire Color | Circuit No. | Function | ||||
A | BRN | 1174 | Engine oil level indicator input | ||||
B | BLK/WHT | 451 | Ground | ||||
| |||||||
|---|---|---|---|---|---|---|---|
Connector Part Information |
| ||||||
Pin | Wire Color | Circuit No. | Function | ||||
A | TAN/BLK | 231 | Oil Pressure Switch Signal | ||||
B | -- | -- | Not Used | ||||
C | -- | -- | Not Used | ||||
D | -- | -- | Not Used | ||||
| |||||||
|---|---|---|---|---|---|---|---|
Connector Part Information |
| ||||||
Pin | Wire Color | Circuit No. | Function | ||||
A | PNK | 339 | Fused ignition 1 feed | ||||
B | DK GRN/WHT | 428 | EVAP canister purge valve control | ||||
| |||||||
|---|---|---|---|---|---|---|---|
Connector Part Information |
| ||||||
Pin | Wire Color | Circuit No. | Function | ||||
A | PNK | 1039 | Fused ignition 1 feed | ||||
B | WHT | 1310 | Canister vent valve solenoid output | ||||
| |||||||
|---|---|---|---|---|---|---|---|
Connector Part Information |
| ||||||
Pin | Wire Color | Circuit No. | Function | ||||
A | GRY | 435 | EGR solenoid output | ||||
B | BLK | 2753 | PCM Sensor ground | ||||
C | BRN | 1456 | EGR solenoid position signal | ||||
D | GRY | 2702 | 5-volt reference A | ||||
E | RED | 1676 | EGR valve coil feed | ||||
| |||||||
|---|---|---|---|---|---|---|---|
Connector Part Information |
| ||||||
Pin | Wire Color | Circuit No. | Function | ||||
A | PNK | 639 | Fuse Output-IGN 1 | ||||
B | BLK | 1744 | Fuel Injector 1 Output | ||||
| |||||||
|---|---|---|---|---|---|---|---|
Connector Part Information |
| ||||||
Pin | Wire Color | Circuit No. | Function | ||||
A | PNK | 639 | Fuse Output-IGN 1 | ||||
B | LT GRN/BLK | 1745 | Fuel Injector 2 Output | ||||
| |||||||
|---|---|---|---|---|---|---|---|
Connector Part Information |
| ||||||
Pin | Wire Color | Circuit No. | Function | ||||
A | PNK | 639 | Fuse Output-IGN 1 | ||||
B | PNK/BLK | 1746 | Fuel Injector 3 Output | ||||
| |||||||
|---|---|---|---|---|---|---|---|
Connector Part Information |
| ||||||
Pin | Wire Color | Circuit No. | Function | ||||
A | PNK | 639 | Fuse Output-IGN 1 | ||||
B | LT BLU/BLK | 844 | Fuel Injector 4 Output | ||||
| |||||||
|---|---|---|---|---|---|---|---|
Connector Part Information |
| ||||||
Pin | Wire Color | Circuit No. | Function | ||||
A | PNK | 639 | Fuse Output-IGN 1 | ||||
B | BLK/WHT | 845 | Fuel Injector 5 Output | ||||
| |||||||
|---|---|---|---|---|---|---|---|
Connector Part Information |
| ||||||
Pin | Wire Color | Circuit No. | Function | ||||
A | PNK | 639 | Fuse Output-IGN 1 | ||||
B | YEL/BLK | 846 | Fuel Injector 6 Output | ||||
| |||||||
|---|---|---|---|---|---|---|---|
Connector Part Information |
| ||||||
Pin | Wire Color | Circuit No. | Function | ||||
A | PPL | 1589 | Fuel level sensor input | ||||
B | GRY | 120 | Fuel pump motor feed | ||||
C | BLK | 250 | Ground | ||||
D | BLK/WHT | 2759 | Ground-clean | ||||
| |||||||
|---|---|---|---|---|---|---|---|
Connector Part Information |
| ||||||
Pin | Wire Color | Circuit No. | Function | ||||
A | BLK/WHT | 2759 | Ground-clean | ||||
B | DK GRN | 890 | Fuel tank pressure sensor signal | ||||
C | GRY/BLK | 2700 | 5-volt reference | ||||
| |||||||
|---|---|---|---|---|---|---|---|
Connector Part Information |
| ||||||
Pin | Wire Color | Circuit No. | Function | ||||
A | TAN | 413 | HO2S 1 low | ||||
B | PPL | 412 | HO2S 1 signal | ||||
C | BLK | 1050 | Ground | ||||
D | PNK | 339 | Fused ignition 1 feed | ||||
| |||||||
|---|---|---|---|---|---|---|---|
Connector Part Information |
| ||||||
Pin | Wire Color | Circuit No. | Function | ||||
A | TAN/WHT | 1669 | HO2S 2 low | ||||
B | PPL/WHT | 1668 | HO2S 2 signal | ||||
C | BLK | 1050 | Ground | ||||
D | PNK | 339 | Fused ignition 1 feed | ||||
| |||||||
|---|---|---|---|---|---|---|---|
Connector Part Information |
| ||||||
Pin | Wire Color | Circuit No. | Function | ||||
A | LT GRN/BLK | 444 | IAC motor feed-coil B low | ||||
B | LT GRN/WHT | 1749 | IAC motor feed-coil B high | ||||
C | LT BLU/BLK | 1748 | IAC motor feed-coil A low | ||||
D | LT BLU/WHT | 1747 | IAC motor feed-coil A high | ||||
| |||||||
|---|---|---|---|---|---|---|---|
Connector Part Information |
| ||||||
Pin | Wire Color | Circuit No. | Function | ||||
A | TAN/BLK | 424 | Electronic spark timing bypass signal | ||||
B | WHT | 423 | Electronic spark timing control signal | ||||
C-D | -- | -- | Not Used | ||||
E | PPL/WHT | 430 | Electronic spark timing high reference signal | ||||
F | RED/BLK | 453 | Electronic spark timing low reference signal | ||||
| |||||||
|---|---|---|---|---|---|---|---|
Connector Part Information |
| ||||||
Pin | Wire Color | Circuit No. | Function | ||||
A | BLK/WHT | 51 | Ground-clean | ||||
B | PNK | 239 | Fused ignition 1 feed | ||||
| |||||||
|---|---|---|---|---|---|---|---|
Connector Part Information |
| ||||||
Pin | Wire Color | Circuit No. | Function | ||||
A | BLK | 2760 | IAT ground | ||||
B | TAN | 472 | IAT sensor input | ||||
| |||||||
|---|---|---|---|---|---|---|---|
Connector Part Information |
| ||||||
Pin | Wire Color | Circuit No. | Function | ||||
A | ORN/BLK | 469 | MAP Sensor Return | ||||
B | LT GRN | 432 | MAP Sensor Signal | ||||
C | GRY | 2704 | Reference Signal-5 Volt-MAP Sensor | ||||
| |||||||
|---|---|---|---|---|---|---|---|
Connector Part Information |
| ||||||
Pin | Wire Color | Circuit No. | Function | ||||
A | YEL | 492 | MAF sensor input | ||||
B | BLK/WHT | 451 | Ground | ||||
C | PNK | 339 | Ignition 1 feed | ||||
| |||||||
|---|---|---|---|---|---|---|---|
Connector Part Information |
| ||||||
Pin | Wire Color | Circuit No. | Function | ||||
A | RED | 78 | Secondary Air Injection Pump Control Circuit | ||||
B | BLK | 450 | Ground | ||||
| |||||||
|---|---|---|---|---|---|---|---|
Connector Part Information |
| ||||||
Pin | Wire Color | Circuit No. | Function | ||||
A | GRY | 2701 | 5-volt reference A | ||||
B | BLK | 2752 | TP ground | ||||
C | DK BLU | 417 | TP sensor signal | ||||
| |||||||
|---|---|---|---|---|---|---|---|
Connector Part Information |
| ||||||
Pin | Wire Color | Circuit No. | Function | ||||
A | BLK | 434 | PARK/NEUTRAL input | ||||
B | ORN | 840 | Fused battery feed | ||||
C | LT GRN | 275 | Transaxle range switch feed-PARK | ||||
D | BLK/WHT | 451 | PCM ground | ||||
E | ORN/BLK | 1786 | Starter solenoid feed | ||||
F | LT GRN | 24 | Backup lamp feed | ||||
G | PNK | 439 | Ignition switched battery feed-START | ||||
| |||||||
|---|---|---|---|---|---|---|---|
Connector Part Information |
| ||||||
Pin | Wire Color | Circuit No. | Function | ||||
A | WHT | 776 | Transaxle range switch parity input | ||||
B | YEL | 772 | Transaxle range switch input B | ||||
C | GRY |
773 | Transaxle range switch input C | ||||
D | BLK/WHT | 771 | Transaxle range switch input A | ||||
| |||||||
|---|---|---|---|---|---|---|---|
Connector Part Information |
| ||||||
Pin | Wire Color | Circuit No. | Function | ||||
A | PPL | 401 | VSS low | ||||
B | YEL | 400 | VSS high | ||||