| Figure 1: |
LH Side of IP, Under IP, Left of HVAC
|
| Figure 2: |
RH Side of IP, Above Base of Steering Column
|
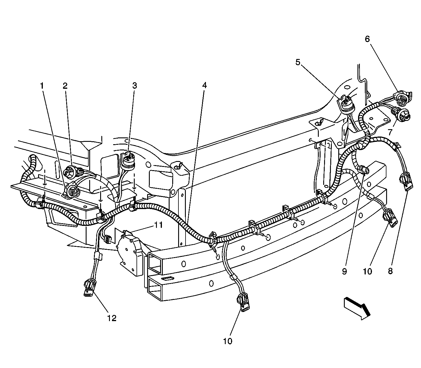
| Figure 3: |
Front of Vehicle
|
| Figure 4: |
LH Side of IP
|
| Figure 5: |
Front of Roof Headliner (Roof Console)
|
| Figure 6: |
Rear Roof Headliner
|
| Figure 7: |
Top of Liftgate
|
| Figure 8: |
LH Taillamp (RH Similar)
|
| Figure 9: |
License Lamps
|
| Figure 10: |
IP Compartment Lamp Switch
|
| Figure 11: |
Ashtray Lamp
|
| Figure 12: |
Turn Signal and Headlamp Dimmer Switch and Windsheild Wiper and Windsheild
Washer Switch
|
| Figure 13: |
Rear Fog Lamp Module (Export)
|
| Figure 14: |
Forward Lamp Assembly
|