GM Service Manual Online
For 1990-2009 cars only
Makes
🢒
Chevrolet
🢒
2000
🢒
Venture Ext.
🢒
Transmission/Transaxle
🢒
Automatic Transaxle - 4T65-E
🢒 Power Seat Component Views
Figure
1:
Below Driver's Seat
(1)
Drivers Seat
(2)
Body Harness
(3)
Connectors to Driver Seat Buckle Side Belt and Connector to Inflatable Restraint Driver Seat Module
(4)
In-line Connector C313 (C314 Similar) and Connector to Driver Seat Belt Switch
Figure
2:
Passenger Heated Seat (Driver seat similar)
(1)
Seat Back Cushion (cover removed)
(2)
Heater-- Seat Back --Passenger
(3)
Heater-- Seat Cushion --Passenger
(4)
Seat Cushion (cover removed)
(5)
Power Seat Motor Adjuster Assembly
(6)
Power Seat Adjuster Switch
Figure
3:
Driver Seat Adjuster Motor Assembly (Passenger similar)
(1)
Seat Front Vertical Adjuster Motor
(2)
Seat Rear Vertical Adjuster Motor
(3)
Seat Horizontal Adjuster Motor
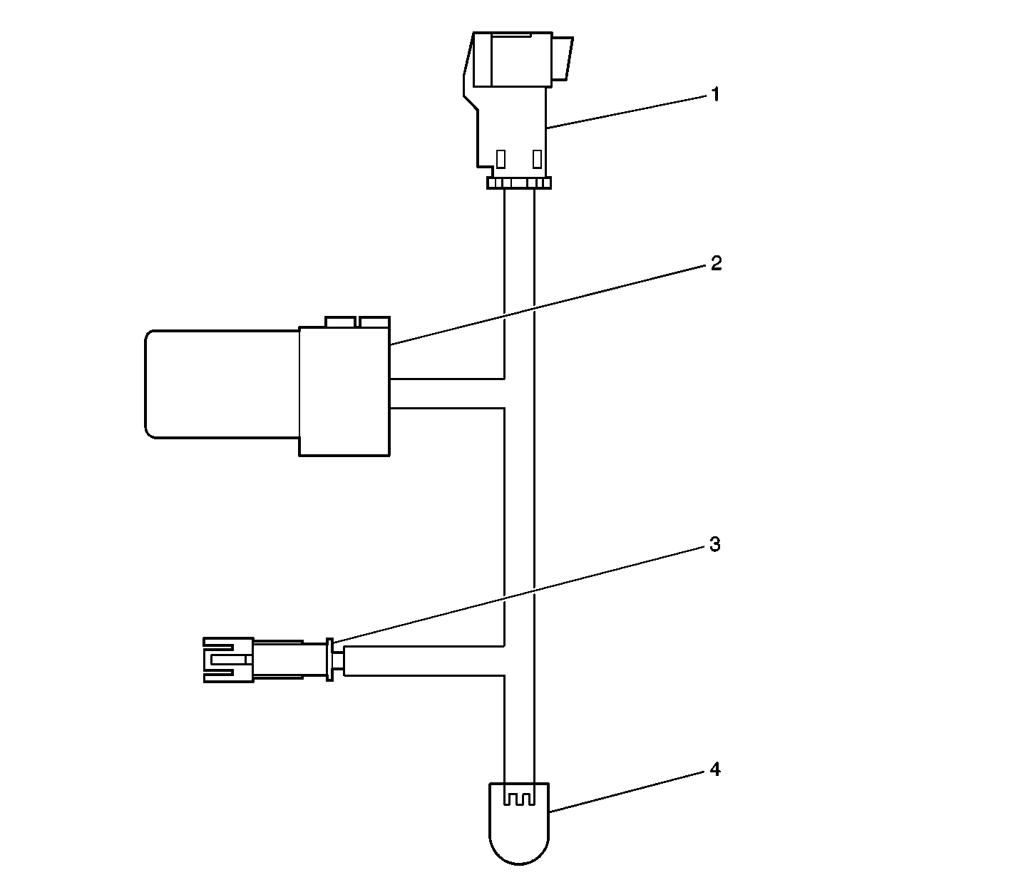
Figure
4:
Heated Seat Harness
(1)
C315-Driver, C316-Passenger
(2)
Seat Heater Module-Driver, Seat Heater Module-Passenger
(3)
Heater--Seat Back- Driver Connector, Heater--Seat Back- Passenger Connector
(4)
Heater--Seat Cushion- Driver, Heater--Seat Cushion- Passenger