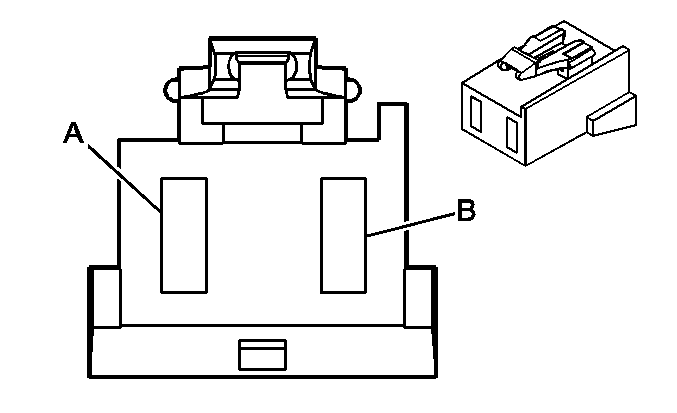
| Table 1: | AIR Pump Relay |
| Table 2: | Cigar Lighter Connector |
| Table 3: | Starter Relay |
| Table 4: | Auxiliary Power Outlet-Front |
| Table 5: | Auxiliary Power Outlet-Rear |
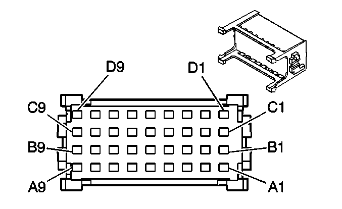
| Table 6: | Junction Block C1 Underhood |
| Table 7: | Junction Block C2 Underhood |
| Table 8: | Junction Block C3 Underhood |
| Table 9: | Junction Block C4 Underhood |
| Table 10: | Junction Block C5 Underhood |
| Table 11: | Junction Block C6 Underhood |
| Table 12: | Relay Block (Domestic) |
| Table 13: | Relay Block (Export) |
| |||||||
|---|---|---|---|---|---|---|---|
Connector Part Information |
| ||||||
Pin | Wire Color | Circuit No. | Function | ||||
30 | ORN | 3040 | Fused Output | ||||
85 | BLK | 339 | Fused Output Ignition 1 | ||||
86 | BRN | 436 | AIR Injection Reaction Pump Motor Relay Output - Coil | ||||
87 | RED | 78 | AIR Injection Reaction Pump Motor Feed | ||||
| |||||||
|---|---|---|---|---|---|---|---|
Connector Part Information |
| ||||||
Pin | Wire Color | Circuit No. | Function | ||||
A | ORN | 440 | Fused Ignition Feed | ||||
B | -- | -- | Not Used | ||||
C | BLK | 150 | Ground | ||||
| |||||||
|---|---|---|---|---|---|---|---|
Connector Part Information |
| ||||||
Pin | Wire Color | Circuit No. | Function | ||||
30 | RED | 402 | Fused Output | ||||
85 | ORN/BLK | 1786 | Transmission Park/Neutral Signal | ||||
86 | YEL/BLK | 625 | Starter Enable Relay Output - Coil | ||||
87 | PPL | 6 | Starter Solenoid Feed | ||||
87A | -- | -- | Not Used | ||||
| |||||||
|---|---|---|---|---|---|---|---|
Connector Part Information |
| ||||||
Pin | Wire Color | Circuit No. | Function | ||||
A | ORN | 440 | Fused Ignition Feed | ||||
B | -- | -- | Not Used | ||||
C | BLK | 150 | Ground | ||||
| |||||||
|---|---|---|---|---|---|---|---|
Connector Part Information |
| ||||||
Pin | Wire Color | Circuit No. | Function | ||||
A | ORN | 2540 | Fused Ignition Feed | ||||
B | BLK | 850 | Ground | ||||
| |||||||
|---|---|---|---|---|---|---|---|
Connector Part Information |
| ||||||
Pin | Wire Color | Circuit No. | Function | ||||
A1-A4 | -- | -- | Not Used | ||||
A5 | DK GRN/WHT | 465 | Fuel Pump Relay Feed-Coil | ||||
A6-A7 | -- | -- | Not Used | ||||
A8 | ORN | 840 | Fused Battery Feed | ||||
A9 | PNK | 339 | Fused Ignition 1 Feed | ||||
A10 | WHT | 504 | Engine Coolant Fan 1 (RH) Motor Feed | ||||
A11 | -- | -- | Not Used | ||||
A12 | PNK | 639 | Fused Ignition 1 Feed | ||||
B1-B2 | -- | -- | Not Used | ||||
B3 | PNK | 339 | Ignition 1 Fused Output | ||||
B4 | RED | 490 | Fuel Pump Relay Feed-N.C. Contact-Prime | ||||
B5 | BLK/WHT | 451 | PCM Ground | ||||
B6 | -- | -- | Not Used | ||||
B7 | PNK | 1339 | Fused Ignition 1 Feed | ||||
B8 | -- | -- | Not Used | ||||
B9 | PNK | 339 | Fused Ignition 1 Feed | ||||
B10-B12 | -- | -- | Not Used | ||||
C1 - C8 | -- | -- | Not Used | ||||
C9 | PNK | 339 | Fused Ignition 1 Feed | ||||
C10 | DK BLU | 473 | Engine Coolant Fan 2 (LH) Relay Output-Coil | ||||
C11 | BLK | 1050 | Ground | ||||
C12 | -- | -- | Not Used | ||||
D1-D2 | -- | -- | Not Used | ||||
D3 | BRN | 436 | Air Injection Pump Motor Relay Coil Output | ||||
D4-D8 | -- | -- | Not Used | ||||
D9 | PNK | 339 | Fused Ignition 1 Feed | ||||
D10 | -- | -- | Not Used | ||||
D11 | PNK | 439 | Fused Ignition 1 Feed | ||||
D12 | TAN/BLK | 231/231 | Oil Pressure Switch Signal | ||||
E1 | -- | -- | Not Used | ||||
E2 | ORN | 540 | Fused Battery Feed | ||||
E3 | -- | -- | Not Used | ||||
E4 | LT GRN | 275 | Transaxle Range Switch Feed-PARK | ||||
E5 | DK GRN | 389 | Vehicle Speed Signal | ||||
E6-E11 | -- | -- | Not Used | ||||
E12 | ORN | 2740 | Battery Fused Output | ||||
F1 | -- | -- | Not Used | ||||
F2 | GRY | 532 | Engine Coolant Fan 1 (RH) Motor Output | ||||
F3 | DK GRN | 335 | Coolant Fan 1 Relay Output-Coil | ||||
F4 | -- | -- | Not Used | ||||
F5 | LT GRN | 24 | Back Up Lamp Feed | ||||
F6 | WHT | 17 | Stoplamp Switch Output | ||||
F7 | DK GRN/WHT | 459 | A/C CLU Relay Output Coil | ||||
F8 | DK GRN | 59 | A/C Compressor Clutch Coil Solenoid Feed | ||||
F9 | PNK | 239 | Fused Ignition 1 Feed | ||||
F10 | -- | -- | Not Used | ||||
F11 | LT BLU | 409 | Engine Coolant Fan 2 (LH) Feed | ||||
F12 | -- | -- | Not Used | ||||
| |||||||
|---|---|---|---|---|---|---|---|
Connector Part Information |
| ||||||
Pin | Wire Color | Circuit No. | Function | ||||
A1-A4 | -- | -- | Not Used | ||||
A5 | LT GRN/BLK | 24 | Backup Lamp-Feed | ||||
A6 | WHT | 17 | Stoplamp Switch Output | ||||
A7-B4 | -- | -- | Not Used | ||||
B5 | GRY | 120 | Fuel Pump Motor Feed | ||||
B6-C3 | -- | -- | Not Used | ||||
C4 | LT GRN | 275 | Transaxle Range Switch Feed-PARK | ||||
C5 | -- | -- | Not Used | ||||
C8 | DK GRN | 389 | Vehicle Speed Signal | ||||
C9 | -- | -- | Not Used | ||||
C10 | PNK | 439 | Fused Ignition 1 Feed | ||||
C11-C12 | -- | -- | Not Used | ||||
D1 | ORN | 1340 | Fused Battery Feed | ||||
D2-D3 | -- | -- | Not Used | ||||
D4 | LT GRN | 275 | Transaxle Range Switch Feed-PARK | ||||
D5 | PNK | 1339 | Fused Ignition 1 Feed | ||||
D8-D10 | -- | -- | Not Used | ||||
D11 | TAN/BLK | 231 | Oil Pressure Switch Signal | ||||
D12 | -- | -- | Not Used | ||||
E1 | ORN | 1340 | Fused Battery Feed | ||||
E2-E4 | -- | -- | Not Used | ||||
E5 | YEL | 317 | Fog Lamp Relay Feed-Coil | ||||
E6 | -- | -- | Not Used | ||||
E7 | BLK | 28 | Horn Relay Output-Coil | ||||
E8 | DK GRN | 389/389 | Vehicle Speed Signal | ||||
E9-E10 | -- | -- | Not Used | ||||
E11 | LT GRN/BLK | 311/wT90 | High Beam Headlamp Feed-Right | ||||
E11 | YEL | 18 | Stop/Turnlamp Feed-Left Rear | ||||
E12 | -- | -- | Not Used | ||||
F1-F3 | -- | -- | Not Used | ||||
F4 | DK GRN/WHT | 711/wT90 | High Beam Headlamp Feed | ||||
F4 | LT GRN | 11 | High Beam Headlamp Feed | ||||
F5 | PPL | 34/34 | Fog Lamp Feed | ||||
F6 | -- | -- | Not Used | ||||
F7 | ORN | 640 | Fused Battery Feed | ||||
F8 | YEL | 712/wT90 | Low Beam Headlamp Feed | ||||
F8 | TAN | 12 | Low Beam Headlamp Feed | ||||
F9 | LT BLU | 14 | Turn Signal Lamp Feed-Left Front | ||||
F10 | DK BLU | 15 | Turn Signal Lamp Feed-Right Front | ||||
F11 | BRN | 9 | Park Lamp Feed | ||||
F12 | TAN/WHT | 312/wT90 | Low Beam Headlamp Feed | ||||
F12 | DK GRN | 19 | Stop/Turnlamp Feed-Right Rear | ||||
| |||||||
|---|---|---|---|---|---|---|---|
Connector Part Information |
| ||||||
Pin | Wire Color | Circuit No. | Function | ||||
A1-A3 | -- | -- | Not Used | ||||
A4 | LT GRN | 11 | High Beam Headlamp Feed | ||||
A5 | PPL | 34 | Fog Lamp Feed | ||||
A6 | -- | -- | Not Used | ||||
A7 | DK GRN | 29 | Horn Feed | ||||
A8 | YEL | 712/wT90 | Low Beam Headlamp Feed | ||||
A8 | TAN | 12 | Low Beam Headlamp Feed | ||||
A9 | LT BLU | 14 | Turn Signal Lamp Feed-Left Front | ||||
|
A10 | DK BLU | 15 | Turn Signal Lamp Feed-Right Front | ||||
A11 | BRN | 9 | Park Lamp Feed | ||||
A12 | TAN/WHT | 312 | Low Beam Headlamp Feed-Right | ||||
A12 | DK GRN | 19 | Stop/Turnlamp Feed-Right Rear | ||||
B1-B3 | -- | -- | Not Used | ||||
B4 | LT GRN | 11 | High Beam Headlamp Feed | ||||
B5 | PPL | 34 | Fog Lamp Feed | ||||
B6 | -- | -- | Not Used | ||||
B7 | DK GRN | 29 | Horn Feed | ||||
B8 | TAN | 12 | Low Beam Headlamp Feed | ||||
B9-B10 | -- | -- | Not Used | ||||
B11 | BRN | 9 | Park Lamp Feed | ||||
B12 | -- | -- | Not Used | ||||
C1-C10 | -- | -- | Not Used | ||||
C11 | BRN | 9 | Park Lamp Feed | ||||
C12 | -- | -- | Not Used | ||||
D1-D10 | -- | -- | Not Used | ||||
D11 | BRN | 9 | Park Lamp Feed | ||||
D12 | -- | -- | Not Used | ||||
E1-E8 | -- | -- | Not Used | ||||
E9 | PNK | 339 | Ignition 1 Fused Output | ||||
E10 | -- | -- | Not Used | ||||
E11 | LT GRN/BLK | 311/wT90 | High Beam Headlight Feed | ||||
E11 | YEL | 18 | Stop/Turnlamp Feed-Left Rear | ||||
E12 | -- | -- | Not Used | ||||
F1-F12 | -- | -- | Not Used | ||||
| |||||||
|---|---|---|---|---|---|---|---|
Connector Part Information |
| ||||||
Pin | Wire Color | Circuit No. | Function | ||||
A | RED | 242 | Fused Battery Feed | ||||
B | RED | 142/142 | Fused Battery Feed | ||||
| |||||||
|---|---|---|---|---|---|---|---|
Connector Part Information |
| ||||||
Pin | Wire Color | Circuit No. | Function | ||||
A | -- | -- | Not Used | ||||
B | RED | 42 | Fused Battery Feed | ||||
| |||||||
|---|---|---|---|---|---|---|---|
Connector Part Information |
| ||||||
Pin | Wire Color | Circuit No. | Function | ||||
A | RED | 642 | Fused Battery Feed | ||||
B | RED | 742 | Fused Battery Feed | ||||
| |||||||
|---|---|---|---|---|---|---|---|
Connector Part Information |
| ||||||
Pin | Wire Color | Circuit No. | Function | ||||
A1-A9 | -- | -- | Not Used | ||||
B1 | DK BLU | 75 | Accessory Relay Output | ||||
B2 | -- | -- | Not Used | ||||
B3 | ORN | 2240 | Battery Fused Output | ||||
B4 | -- | -- | Not Used | ||||
B5 | PPL | 293 | Rear Defogger Feed | ||||
B6 | -- | -- | Not Used | ||||
B7 | BRN | 241 | Ignition 3 Fused Output | ||||
B8 - B9 | -- | -- | Not Used | ||||
C1 | BLK | 707 | Accessory Relay Coil Feed | ||||
C2 | -- | -- | Not Used | ||||
C3 | RED | 142 | Battery Fused Output | ||||
C4 | -- | -- | Not Used | ||||
C5 | WHT | 193 | Rear Defogger Relay Coil Output | ||||
C6 | -- | -- | Not Used | ||||
C7 | ORN | 1040 | Battery Fused Output | ||||
C8 - C9 | -- | -- | Not Used | ||||
D1-D9 | -- | -- | Not Used | ||||
| |||||||
|---|---|---|---|---|---|---|---|
Connector Part Information |
| ||||||
Pin | Wire Color | Circuit No. | Function | ||||
A1-A9 | -- | -- | Not Used | ||||
B1 | ORN | 1640 | Battery Fused Output | ||||
B1 | DK BLU | 75 | Accessory Relay Output | ||||
B2 | -- | -- | Not Used | ||||
B3 | ORN | 1640 | Battery Fused Output | ||||
B3 | ORN | 2240 | Battery Fused Output | ||||
B4 | -- | -- | Not Used | ||||
B5 | PPL | 293 | Rear Defogger Feed | ||||
B6 | -- | -- | Not Used | ||||
B7 | BRN | 241 | Ignition 3 Fused | ||||
B8-B9 | -- | -- | Not Used | ||||
C1 | YEL | 1870 | Rear Fog Lamp Light Control Output | ||||
C1 | BLK | 707 | Accessory Relay Coil Feed | ||||
C2 | -- | -- | Not Used | ||||
C3 | RED | 122 | Rear Fog Lamp Feed | ||||
C3 | RED | 142 | Battery Fused Output | ||||
C4 | -- | -- | Not Used | ||||
C5 | WHT | 193 | Rear Defogger Relay Coil Output | ||||
C6 | -- | -- | Not Used | ||||
C7 | ORN | 1040 | Battery Fused Output | ||||
C8-C9 | -- | -- | Not Used | ||||
D1-D9 | -- | -- | Not Used | ||||