GM Service Manual Online
For 1990-2009 cars only

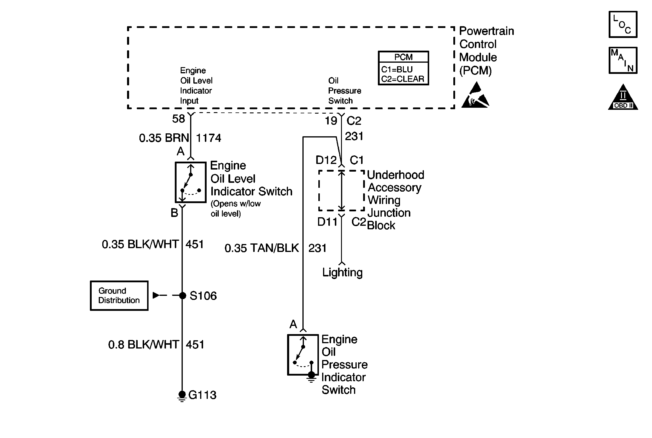
Object Number: 592434  Size: MF
Engine Controls Components
Engine Controls Schematics
OBD II Symbol Description Notice
Handling ESD Sensitive Parts Notice

Circuit Description

The engine oil level (EOL) switch is a simple float switch that is grounded when the engine oil level is OK. The PCM tests the EOL switch circuit at startup. Before checking the state of the EOL switch, the PCM performs a test routine based on time and engine coolant temperature (ECT) to ensure that the engine oil has drained back into the sump. To test for low oil level at start-up, one of the following conditions must be present:

    •  The ECT must be more than 15°C (59°F)
    •  The ECT at key ON must be at least 12°C (22°F) cooler than the ECT at the last key OFF.

The low oil level lamp will be illuminated for about a minute when the PCM tests for low oil level and the EOL switch indicates that a low oil level condition exists (EOL switch circuit not grounded). When the ignition is first turned ON, the IP Cluster commands the low oil level lamp ON for a brief period of time to test the bulb.

Diagnostic Aids

Inspect for the following conditions:

Many situations may lead to an intermittent condition. Perform each inspection or test as directed.

Important: :  Remove any debris from the connector surfaces before servicing a component. Inspect the connector gaskets when diagnosing or replacing a component. Ensure that the gaskets are installed correctly. The gaskets prevent contaminate intrusion.

    • Loose terminal connection
       -  Use a corresponding mating terminal to test for proper tension. Refer to Testing for Intermittent Conditions and Poor Connections , and to Connector Repairs in Wiring Systems for diagnosis and repair.
       -  Inspect the harness connectors for backed out terminals, improper mating, broken locks, improperly formed or damaged terminals, and faulty terminal to wire connection. Refer to Testing for Intermittent Conditions and Poor Connections , and to Connector Repairs in Wiring Systems for diagnosis and repair.
    • Damaged harness--Inspect the wiring harness for damage. If the harness inspection does not reveal a problem, observe the display on the scan tool while moving connectors and wiring harnesses related to the sensor. A change in the scan tool display may indicate the location of the fault. Refer to Wiring Repairs in Wiring Systems for diagnosis and repair.
    •  Inspect the powertrain control module (PCM) and the engine grounds for clean and secure connections. Refer to Wiring Repairs in Wiring Systems for diagnosis and repair.

If the condition is determined to be intermittent, reviewing the Snapshot or Freeze Frame/Failure Records may be useful in determining when the DTC or condition was identified.

Test Description

The numbers below refer to the step numbers on the diagnostic table:

  1. This vehicle is equipped with a PCM which utilizes an electrically erasable programmable read only memory (EEPROM). When the PCM is being replaced, the new PCM must be programmed.

  2. For the PCM to test engine oil level, start-up ECT must be at least 12° C (22° F) cooler than the ECT was last time the ignition was turned off. Allowing the engine to warm and then cool ensures that the PCM tests the engine oil level switch and that the information displayed on the scan tool is current.

Step

Action

Values

Yes

No

1

Important: :  Ensure that engine oil level is not low, before continuing diagnosis.

Inspect the engine oil level. Refer to Fluid and Lubricant Recommendations in Maintenance and Lubrication.

Did you perform the Powertrain On Board Diagnostic (OBD) System Check?

--

Go to Step 2

Go to Powertrain On Board Diagnostic (OBD) System Check

2

Observe Oil Level display on the scan tool.

Does Oil Level display OK?

--

Go to Diagnostic Aids

Go to Step 3

3

  1. Turn the ignition OFF.
  2. Disconnect the PCM.
  3. With a test lamp to battery positive voltage, probe the Oil Level Switch signal circuit at the PCM.

Is the test lamp illuminated?

--

Go to Step 7

Go to Step 4

4

  1. Turn the ignition OFF.
  2. Reconnect the PCM.
  3. Turn the ignition ON.
  4. Raise the vehicle. Refer to Lifting and Jacking the Vehicle in General Information.
  5. Disconnect the oil level switch connector.
  6. Connect DMM to measure voltage between the oil level switch terminals.

Does the DMM display voltage near the specified value?

B+

Go to Step 8

Go to Step 5

5

Connect the DMM between the Oil Level Switch signal circuit and chassis ground.

Does the DMM display a voltage near the specified value?

B+

Go to Step 9

Go to Step 6

6

Test the Oil Level Switch signal circuit for an open. Refer to Wiring Repairs in Wiring Systems.

Did you find and correct the condition?

--

Go to Step 12

Go to Diagnostic Aids

7

Test for poor terminal connections at the PCM. Refer to Testing for Intermittent Conditions and Poor Connections in Wiring Systems.

Did you find and correct the condition?

--

Go to Step 12

Go to Step 11

8

Test for poor terminal connections at the Oil Level Switch. Refer to Testing for Intermittent Conditions and Poor Connections in Wiring Systems.

Did you find and correct the condition?

--

Go to Step 12

Go to Step 10

9

Locate and repair open in the Oil Level Switch ground circuit. Refer to Wiring Repairs in Wiring Systems.

Did you complete the repair?

--

Go to Step 12

--

10

Replace the Oil Level Switch.

Did you complete the replacement?

--

Go to Step 12

--

11

Important: The replacement PCM must be programmed.

Replace the PCM. Refer to Powertrain Control Module Replacement/Programming .

Did you complete the replacement?

--

Go to Step 12

--

12

  1. Start the engine and idle until engine coolant temperature is at least 70°C (158°F).
  2. Turn ON the ignition switch and allow the engine to cool for at least 15 minutes.
  3. Turn ON the ignition switch.
  4. Observe the engine oil level display on the scan tool.

Does Oil Level display OK?

--

System OK

Go to Step 3