GM Service Manual Online
For 1990-2009 cars only

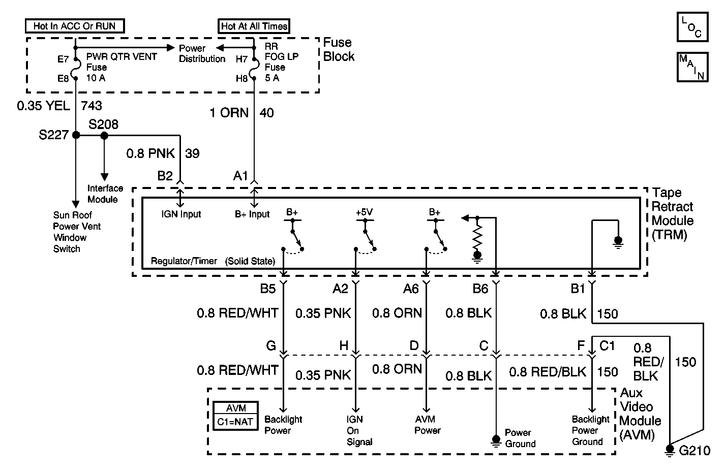
Video Entertainment System Malfunction Early Design


Object Number: 629278  Size: MF
Entertainment Components
Power and Ground Distribution (Early Design)

Circuit Description

The Video Entertainment System (VES) contains the Auxiliary Video Module (AVM), the Interface Module (IM), and the Tape Retract Module (TRM). The TRM receives voltage at all times from the RR FOG LP fuse located in the fuse block. The TRM receives ignition voltage from the PWR QTR VENT fuse when the ignition switch is on. When the key is on, the TRM in turn supplies battery voltage, the ignition signal, and the power ground signal to the AVM and battery voltage to the Video Cassette Player (VCP).

Diagnostic Aids

    • Check for the following conditions:
       - An open in the battery positive voltage circuit to the TRM.
       - An open in the ignition voltage circuit to the TRM.
       - An open in the ground circuit to the TRM.
    • An intermittent failure may be very difficult to detect and to diagnose accurately. Faulty electrical connections or wiring causes most intermittent problems. When an intermittent condition is suspected, check the suspected circuits for the following conditions:
       - Poor mating of connector halves or backed out terminals.
       - Improperly formed or damaged terminals.
       - Wire chafing.
       - Poor wire to terminal connections.
       - Dirty or corroded terminals.
       - Damage to connector bodies.
       - Wire broken inside the insulation.

Test Description

The number(s) below refer to the step number(s) on the diagnostic table.

  1. Tests for a short to ground in the battery feed circuit to the TRM.

  2. Tests for an open in the ignition voltage circuit to the TRM.

  3. Tests for an open in the battery feed circuit to the TRM.

  4. Tests for an open in the ground circuit to the TRM.

  5. Determines whether the connectors are loose, if not defaults to a faulty TRM.

Step

Action

Value(s)

Yes

No

DEFINITION: The video display screen and the Video Cassette Player (VCP) of the Video Entertainment System (VES) does not turn on.

1

Did you review the Video Entertainment System operation and perform the necessary inspections?

--

Go to Step 2

Go to Video System System Check

2

Ensure that the VES is inoperative.

Does the system operate normally?

--

Go to Testing for Intermittent Conditions and Poor Connections

Go to Step 3

3

Inspect the RR FOG lamp fuse.

Is the fuse open?

--

Go to Step 4

Go to Step 5

4

Repair the short to ground in the battery positive voltage circuit to the TRM.

Is the repair complete?

--

Go to Step 12

--

5

  1. Turn the ignition switch on.
  2. Using a test light , test for ignition voltage at the TRM.

Is ignition voltage present at the TRM?

--

Go to Step 7

Go to Step 6

6

Repair the poor connection or the open in the ignition voltage circuit to the TRM.

Is the repair complete?

--

Go to Step 12

--

7

Test for battery positive voltage at the TRM.

Is battery positive voltage present at the TRM?

--

Go to Step 9

Go to Step 8

8

Repair the poor connection or the open in the battery positive voltage circuit to the TRM.

Is the repair complete?

--

Go to Step 12

--

9

Test the ground circuit at the TRM.

Does the TRM have a good ground?

--

Go to Step 11

Go to Step 10

10

Repair the poor connection or the open in the ground circuit to the TRM.

Is the repair complete?

--

Go to Step 12

--

11

  1. Test the TRM for a poor connection and repair as necessary.
  2. If the connection is OK, then replace the TRM. Refer to Tape Retract Module Replacement .

Is the action complete?

--

Go to Step 12

--

12

  1. Turn the ignition switch off.
  2. Reconnect the connectors or components that were previously removed.
  3. Ensure that the Video Entertainment System (VES) operates properly .

Does the VES operate properly?

--

System OK

Go to Step  3

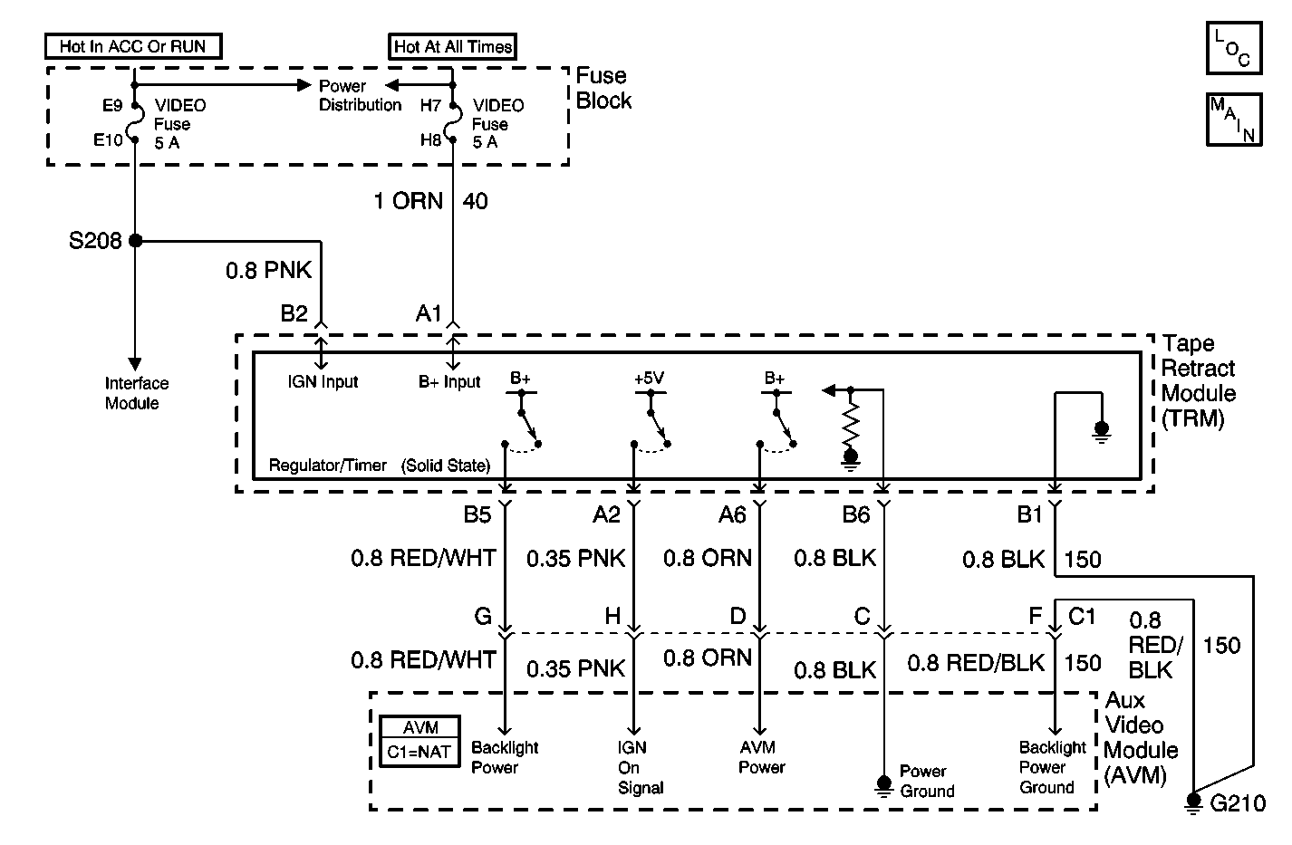
Video Entertainment System Malfunction Later Design


Object Number: 629279  Size: MF
Entertainment Components
Power and Ground Distribution (Later Design)

Circuit Description

The Video Entertainment System (VES) contains the Auxiliary Video Module (AVM), the Interface Module (IM), and the Tape Retract Module (TRM). The TRM receives voltage at all times from the RR FOG LP fuse located in the fuse block. The TRM receives ignition voltage from the VIDEO ENT fuse when the ignition switch is on. When the key is on, the TRM in turn supplies battery voltage, the ignition signal, and the power ground signal to the AVM and battery voltage to the Video Cassette Player (VCP).

Diagnostic Aids

    • Check for the following conditions:
       - An open in the battery positive voltage circuit to the TRM.
       - An open in the ignition voltage circuit to the TRM.
       - An open in the ground circuit to the TRM.
    • An intermittent failure may be very difficult to detect and to diagnose accurately. Faulty electrical connections or wiring causes most intermittent problems. When an intermittent condition is suspected, check the suspected circuits for the following conditions:
       - Poor mating of connector halves or backed out terminals.
       - Improperly formed or damaged terminals.
       - Wire chafing.
       - Poor wire to terminal connections.
       - Dirty or corroded terminals.
       - Damage to connector bodies.
       - Wire broken inside the insulation.

Test Description

The number(s) below refer to the step number(s) on the diagnostic table.

  1. Tests for a short to ground in the battery feed circuit to the TRM.

  2. Tests for an open in the ignition voltage circuit to the TRM.

  3. Tests for an open in the battery feed circuit to the TRM.

  4. Tests for an open in the ground circuit to the TRM.

  5. Determines whether the connectors are loose, if not defaults to a faulty TRM.

Step

Action

Value(s)

Yes

No

DEFINITION: The video display screen and the Video Cassette Player (VCP) of the Video Entertainment System (VES) does not turn on.

1

Did you review the Video Entertainment System operation and perform the necessary inspections?

--

Go to Step 2

Go to Video System System Check

2

Ensure that the VES is inoperative.

Does the system operate normally?

--

Go to Testing for Intermittent Conditions and Poor Connections

Go to Step 3

3

Inspect the RR FOG lamp fuse.

Is the fuse open?

--

Go to Step 4

Go to Step 5

4

Repair the short to ground in the battery positive voltage circuit to the TRM.

Is the repair complete?

--

Go to Step 12

--

5

  1. Turn the ignition switch on.
  2. Using a test light , test for ignition voltage at the TRM.

Is ignition voltage present at the TRM?

--

Go to Step 7

Go to Step 6

6

Repair the poor connection or the open in the ignition voltage circuit to the TRM.

Is the repair complete?

--

Go to Step 12

--

7

Test for battery positive voltage at the TRM.

Is battery positive voltage present at the TRM?

--

Go to Step 9

Go to Step 8

8

Repair the poor connection or the open in the battery positive voltage circuit to the TRM.

Is the repair complete?

--

Go to Step 12

--

9

Test the ground circuit at the TRM.

Does the TRM have a good ground?

--

Go to Step 11

Go to Step 10

10

Repair the poor connection or the open in the ground circuit to the TRM.

Is the repair complete?

--

Go to Step 12

--

11

  1. Test the TRM for a poor connection and repair as necessary.
  2. If the connection is OK, then replace the TRM. Refer to Tape Retract Module Replacement .

Is the action complete?

--

Go to Step 12

--

12

  1. Turn the ignition switch off.
  2. Reconnect the connectors or components that were previously removed.
  3. Ensure that the Video Entertainment System (VES) operates properly .

Does the VES operate properly?

--

System OK

Go to Step  3