GM Service Manual Online
For 1990-2009 cars only

Rear Speakers Play Radio Instead of Video Early Design


Object Number: 629285  Size: MF
Entertainment Components
Power and Ground Distribution (Early Design)

Circuit Description

The Video Entertainment System (VES) plays video audio through the rear speakers when the radio and Rear Seat Audio (RSA) are off. The Interface Module (IM) receives video audio channels from the Auxiliary Video Module (AVM). When the radio is turned on (but the RSA is off), the IM receives a signal from the AVM and mutes the rear speakers.

Diagnostic Aids

    • Check for the following conditions:
       - An open in circuit 43 between the IM and the fuse block.
       - A faulty IM.
    • An intermittent failure may be very difficult to detect and to diagnose accurately. Faulty electrical connections or wiring causes most intermittent problems. When an intermittent condition is suspected, check the suspected circuits for the following conditions:
       - Poor mating of connector halves or backed out terminals.
       - Improperly formed or damaged terminals.
       - Wire chafing.
       - Poor wire to terminal connections.
       - Dirty or corroded terminals.
       - Damage to connector bodies.
       - Wire broken inside the insulation.

Test Description

The number(s) below refer to the step number(s) on the diagnostic table.

  1. Tests for an open in CKT 43.

  2. Verifies repairs made to the VES.

Step

Action

Value(s)

Yes

No

DEFINITION: The Video Entertainment System (VES) plays video audio through the rear speakers when the radio and Rear Seat Audio (RSA) are off. When the radio is turned on (but the RSA is off), the Interface Module (IM) mutes the rear speakers. However, the rear speakers play radio audio when the radio is on and the RSA is off.

1

  1. Turn the ignition switch on.
  2. Using a test light, backprobe between the Interface Module (IM) harness connector terminal A7 and ground.

Does the test light illuminate?

--

Go to Step 2

Go to Step 3

2

  1. Test the IM connector terminal A8 for a poor connection and repair as necessary.
  2. If the connection is OK, then replace the IM. Refer to Interface Module Replacement .

Is the repair complete?

--

Go to Step 4

--

3

Repair a poor connection or an open in CKT 743 between the fuse block and the IM.

Is the repair complete?

--

Go to Step 4

--

4

  1. Turn the ignition switch off.
  2. Reconnect the connectors or the components that were previously removed.
  3. Verify that the Video Entertainment System (VES) operates properly.

Does the VES operate normally?

--

System OK

Go to Video System System Check

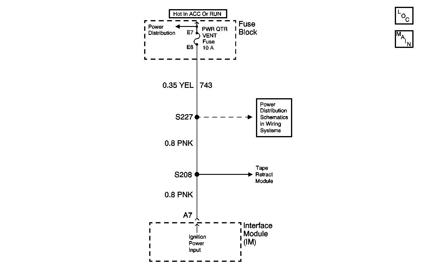
Rear Speakers Play Radio Instead of Video Later Design


Object Number: 629286  Size: MF
Entertainment Components
Power and Ground Distribution (Later Design)

Circuit Description

The Video Entertainment System (VES) plays video audio through the rear speakers when the radio and Rear Seat Audio (RSA) are off. The Interface Module (IM) receives video audio channels from the Auxiliary Video Module (AVM). When the radio is turned on (but the RSA is off), the IM receives a signal from the AVM and mutes the rear speakers.

Diagnostic Aids

    • Check for the following conditions:
       - An open in Ignition Power Input circuit between the IM and the fuse block.
       - A faulty IM.
    • An intermittent failure may be very difficult to detect and to diagnose accurately. Faulty electrical connections or wiring causes most intermittent problems. When an intermittent condition is suspected, check the suspected circuits for the following conditions:
       - Poor mating of connector halves or backed out terminals.
       - Improperly formed or damaged terminals.
       - Wire chafing.
       - Poor wire to terminal connections.
       - Dirty or corroded terminals.
       - Damage to connector bodies.
       - Wire broken inside the insulation.

Test Description

The number(s) below refer to the step number(s) on the diagnostic table.

  1. Tests for an open in the Ignition Power Input circuit.

  2. Verifies repairs made to the VES.

Step

Action

Value(s)

Yes

No

DEFINITION: The Video Entertainment System (VES) plays video audio through the rear speakers when the radio and Rear Seat Audio (RSA) are off. When the radio is turned on (but the RSA is off), the Interface Module (IM) mutes the rear speakers. However, the rear speakers play radio audio when the radio is on and the RSA is off.

1

  1. Turn the ignition switch on.
  2. Using a test light, backprobe between the Interface Module (IM) harness connector terminal A7 and ground.

Does the test light illuminate?

--

Go to Step 2

Go to Step 3

2

  1. Test the IM connector terminal A7 for a poor connection and repair as necessary.
  2. If the connection is OK, then replace the IM. Refer to Interface Module Replacement .

Is the repair complete?

--

Go to Step 4

--

3

Repair a poor connection or an open in the Ignition Power Input circuit between the fuse block and the IM.

Is the repair complete?

--

Go to Step 4

--

4

  1. Turn the ignition switch off.
  2. Reconnect the connectors or the components that were previously removed.
  3. Verify that the Video Entertainment System (VES) operates properly.

Does the VES operate normally?

--

System OK

Go to Video System System Check