GM Service Manual Online
For 1990-2009 cars only

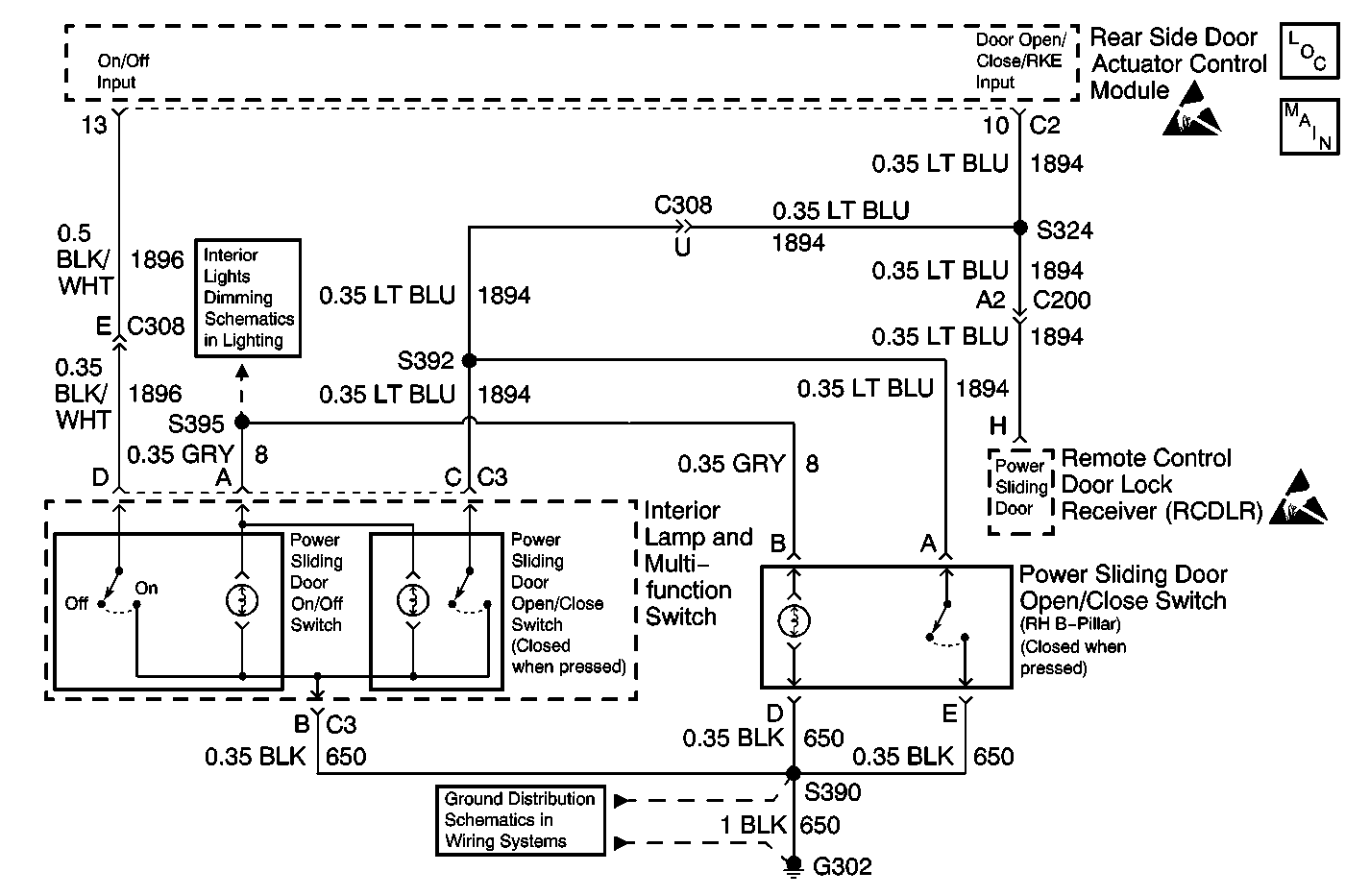
Object Number: 603130  Size: MF
Power Door Systems Components
PSD Switches, Transaxle Range Switch, RKE
Handling ESD Sensitive Parts Notice
Handling ESD Sensitive Parts Notice
Cell 14: G302
Interior Lights Dimming Schematics (Cell 117: Interior Lamp and Multifunction Switch, Right Rear Door Latch, Release Actuator Switch)

Circuit Description

The power sliding door (PSD) is operated through 3 switches installed on the vehicle and via the keyless entry transmitter.

The interior lamp and the multifunction switch located in the overhead console contain the following components:

    • The PSD on/off switch
    • The PSD open/close switch

The PSD on/off switch enables (ON position) or disables (OFF position) the PSD operation.

When the PSD on/off switch is set to the ON position, the PSD on/off switch sends a ground signal to the rear side door actuator control module. The ground signal is sent through circuit 1896. This action enables the PSD operation. When the PSD on/off switch is set to the OFF position, circuit 1896 is no longer grounded. This action disables the PSD operation.

A ground signal is sent to the rear side door actuator control module through circuit 1894 when either of the following components are pressed:

    • The PSD open/close switch located in the overhead console
    • The PSD open/close switch (RH B-pillar)

This action causes the PSD to either open or close if all of the following conditions exist:

    • The PSD on/off switch is set to the ON position.
    • The sliding door lock is unlocked.
    • The transaxle is in the PARK position (for PSD open commands only).
    • No Diagnostic Trouble Codes (DTCs) are present.

The PSD open/close switch (RH B-pillar) works in the same matter as the PSD switch located in the overhead console.

The following components receive their ground through circuit 650.

    • The PSD on/off switch
    • The PSD open/close switch located in the overhead console
    • The PSD open/close switch (RH B-pillar)

Diagnostic Aids

    • Inspect the PSD for the following conditions:
       - A faulty PSD on/off switch
       - A faulty PSD open/close switch (overhead console)
       - A faulty PSD open/close switch (RH B-pillar)
       - A short to the ground in circuit 1894
       - An open in circuit 1894
       - A malfunction in the keyless entry system
    • An intermittent failure may be very difficult to detect and to diagnose accurately. Faulty electrical connections or wiring causes most intermittent problems. When an intermittent condition is suspected, check the suspected circuits for the following conditions:
      • Poor mating of connector halves or backed out terminals
      • Improperly formed or damaged terminals
      • Wire chafing
      • Poor wire to terminal connections
      • Dirty or corroded terminals
      • Damage to connector bodies
      • Wire broken inside the insulation
    • Use a J 35616 whenever a diagnostic procedure requests probing or inspecting of a terminal. In order to ensure no damage will occur to the terminal use the J 35616 . This tool will give you an idea of how much terminal tension contact is sufficient.

Test Description

The number(s) below refer to the step number(s) on the diagnostic table.

  1. This step performs Diagnostic Mode 2: Input Test.

  2. This step tests for an open in circuit 650.

  3. This step tests for a faulty PSD ON/OFF switch.

  4. This step tests for a faulty PSD OPEN/CLOSE switch in the overhead console.

  5. This step tests for a short to ground in circuit 1896.

  6. This step tests for a short to B+ in circuit 1896.

  7. This step tests for an open in circuit 1896.

  8. This step tests for a short to ground in circuit 1894.

  9. This step tests for a faulty PSD OPEN/CLOSE switch (RH B-pillar) where the contacts are closed at all times.

  10. This step tests for a faulty Remote Control Door Lock Receiver (RCDLR).

  11. This step tests for an open in circuit 1894.

Step

Action

Value(s)

Yes

No

1

Was the PSD Diagnostic System Check performed?

--

Go to Step 2

Go to Power Sliding Door (PSD) Diagnostic System Check

2

Enter the Diagnostic Mode 2: Input Test. Refer to Diagnostic Modes in Power Sliding Door (PSD) Diagnostic Information .

During Diagnostic Mode 2, the PSD alarm toggles between ON and OFF when the following conditions exist:

    • One of the PSD OPEN/CLOSE switches is being pressed.
    • The PSD ON/OFF switch is cycling.

Does the PSD alarm sound as described above?

--

Go to Step 23

Go to Step 3

3

  1. Disconnect the interior lamp and the multi-function switch electrical connector C3.
  2. Using a test lamp, connect between B+ and the interior lamp and multi-function switch electrical harness connector C3 terminal B. Refer to Circuit Testing in Wiring Systems.

Does the test lamp illuminate?

--

Go to Step 4

Go to Step 13

4

  1. Connect a DMM between the interior lamp and multi-function switch electrical connector C3 terminals B and D, (switch side).
  2. While measuring resistance with the DMM, cycle the PSD ON/OFF. Refer to Circuit Testing in Wiring Systems.

Does the resistance measure in the specified range?

On: Less than 2 ohms

Off: Inifinite

Go to Step 5

Go to Step 14

5

  1. Connect a DMM between the interior lamp and the multi-function switch electrical connector C3 terminal B and C (switch side).
  2. While measuring resistance with the DMM, momentarily press the power sliding door open/close switch. Refer to Circuit Testing in Wiring Systems.

Does the resistance measure in the specified range?

Pressed: Less than 2 ohms

Released: Infinite

Go to Step 6

Go to Step 14

6

  1. Leave the interior lamp and the multi-function switch electrical connector C3 disconnected.
  2. Disconnect the rear side door actuator control module connector C2.
  3. Set the on/off switch to the OFF position.
  4. Using a DMM, measure the resistance between the rear side door actuator control module harness connector C2 terminal 13 and ground. Refer to Circuit Testing in Wiring Systems.

Does the resistance measure in the specified range?

Infinite

Go to Step 7

Go to Step 15

7

  1. Leave the DMM connected from the previous step.
  2. Set the DMM to read voltage.
  3. Place the ignition switch into the RUN position.
  4. Using the DMM, measure the voltage. Refer to Circuit Testing in Wiring Systems.

Does the voltage measure in the specified range?

Less than 2 V

Go to Step 8

Go to Step 16

8

Using a DMM, measure the resistance between the rear side door actuator control module harness connector C2 terminal 13 and the interior lamp and multi-function switch harness connector C3 terminal D. Refer to Circuit Testing in Wiring Systems.

Does the resistance measure in the specified range?

Less than 2 ohms

Go to Step 9

Go to Step 17

9

  1. Disconnect the Remote Control Door Lock Receiver (RCDLR).
  2. Using a DMM, measure the resistance between the rear side door actuator control module harness connector C2 terminal 10 and ground. Refer to Circuit Testing in Wiring Systems.

Does the resistance measure near the specified range?

Infinite

Go to Step 11

Go to Step 10

10

  1. Leave the DMM connected from the previous step.
  2. Disconnect the PSD open/close switch (RH-B-pillar) electrical connector.
  3. Using a DMM, measure the resistance again. Refer to Circuit Testing in Wiring Systems.

Does the resistance measure near the specified range?

Inifinite

Got to Step 18

Go to Step 19

11

  1. Leave the DMM connected from the previous step.
  2. Reconnect the RCDLR.
  3. Using a DMM, measure the resistance again. Refer to Circuit Testing in Wiring Systems.

Does the resistance measure near the specified range?

Infinite

Go to Step 12

Go to Step 20

12

Using a DMM, measure the resistance between the rear side door actuator control module harness connector C2 terminal 10 and the interior lamp and multi-function switch harness connector C3 terminal C. Refer to Circuit Testing in Wiring Systems.

Does the resistance measure in the specified range?

Less than 10 ohms

Go to Step 21

Go to Step 22

13

Repair the poor connection or open in circuit 650. Refer to Wiring Repairs or Connector Repairs in Wiring Systems.

Is the repair complete?

--

Go to Step 23

--

14

Replace the interior lamp and multi-function switch. Refer to Interior Lamp and Multifunction Switch Replacement .

Is the repair complete?

--

Go to Step 23

--

15

Repair the short to ground in circuit 1896. Refer to Wiring Repairs in Wiring Systems.

Is the repair complete?

--

Go to Step 23

--

16

Repair the short to B+ in circuit 1896. Refer to Wiring Repairs in Wiring Systems.

Is the repair complete?

--

Go to Step 23

--

17

Repair the poor connection or open in circuit 1896. Refer to Wiring Repairs or Connector Repairs in Wiring Systems.

Is the repair complete?

--

Go to Step 23

--

18

Replace the PSD open/close switch (RH B-pllar). Refer to Interior Lamp and Multifunction Switch Replacement .

Is the repair complete?

--

Go to Step 23

--

19

Repair the short to ground in circuit 1894. Refer to Wiring Repairs in Wiring Systems.

Is the repair complete?

--

Go to Step 23

--

20

Replace the RCDLR. Refer to Receiver Replacement in Keyless Entry System.

Is the repair complete?

--

Go to Step 23

--

21

  1. Test the rear side door actuator control module connector C2 for poor connection. Refer to Circuit Testing in Wiring Systems.
  2. If the connector is OK, then replace the rear side actuator control module. Refer to Rear Side Door Actuator Control Module Replacement .

Is the repair complete?

--

Go to Step 23

--

22

Repair the poor connection or open in circuit 1894. Refer to Wiring Repairs or Connector Repairs in Wiring Systems.

Is the repair complete?

--

Go to Step 23

--

23

A malfunction is not present at this time. Refer to Diagnostic Aids for information on intermittent failures.

Is the action complete?

--

Go to Step 24

--

24

  1. Turn the ignition switch to the LOCK position.
  2. Reconnect any connectors/components removed.
  3. Perform the Power Sliding Door (PSD) Re-Initialization .

Does the PSD operate normally?

--

System OK

Go to Power Sliding Door (PSD) Diagnostic System Check