GM Service Manual Online
For 1990-2009 cars only

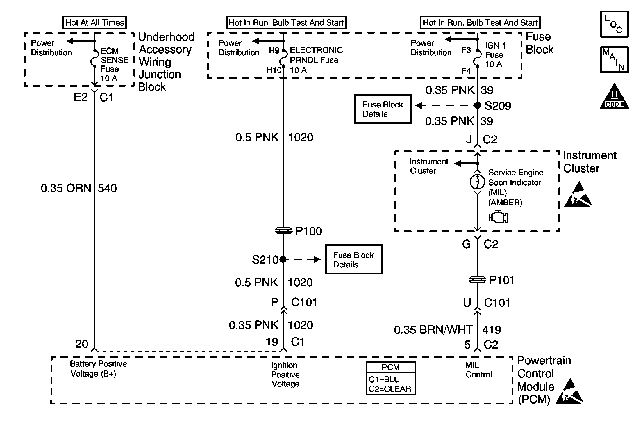
Object Number: 592478  Size: MF
Engine Controls Components
Engine Controls Schematics
OBD II Symbol Description Notice
Handling ESD Sensitive Parts Notice

Circuit Description

Output driver modules (ODMs) are used by the PCM to turn on many of the current-driven devices that are needed to control various engine and Transaxle functions. Each ODM is capable of controlling up to 7 separate outputs by applying ground to the device which the PCM is commanding ON. ODMs have the capability of diagnosing each output circuit individually. DTC P0650 set indicates an improper voltage level on the output circuit that controls the malfunction indicator lamp (MIL).

Conditions for Running the DTC

Ignition is ON.

Conditions for Setting the DTC

    • An improper voltage level has been detected on the output circuit which controls the malfunction indicator lamp (MIL).
    • Above conditions for at least 30 seconds.

Diagnostic Aids

Inspect for the following conditions:

Important: If the instrument panel (I/P) is completely inoperative, refer to Diagnostic System Check - Instrument Cluster in Instrument Panel, Gauges and Console for further diagnosis.

If the ignition feed circuit is suspected of being open, observe if other lamps on that circuit illuminate.

Many situations may lead to an intermittent condition. Perform each inspection or test as directed.

Important: :  Remove any debris from the connector surfaces before servicing a component. Inspect the connector gaskets when diagnosing or replacing a component. Ensure that the gaskets are installed correctly. The gaskets prevent contaminate intrusion.

    • Loose terminal connection
       -  Use a corresponding mating terminal to test for proper tension. Refer to Testing for Intermittent Conditions and Poor Connections , and to Connector Repairs in Wiring Systems for diagnosis and repair.
       -  Inspect the harness connectors for backed out terminals, improper mating, broken locks, improperly formed or damaged terminals, and faulty terminal to wire connection. Refer to Testing for Intermittent Conditions and Poor Connections , and to Connector Repairs in Wiring Systems for diagnosis and repair.
    • Damaged harness--Inspect the wiring harness for damage. If the harness inspection does not reveal a problem, observe the display on the scan tool while moving connectors and wiring harnesses related to the sensor. A change in the scan tool display may indicate the location of the fault. Refer to Wiring Repairs in Wiring Systems for diagnosis and repair.
    •  Inspect the powertrain control module (PCM) and the engine grounds for clean and secure connections. Refer to Wiring Repairs in Wiring Systems for diagnosis and repair.

If the condition is determined to be intermittent, reviewing the Snapshot or Freeze Frame/Failure Records may be useful in determining when the DTC or condition was identified.

Test Description

Number(s) below refer to the step number(s) on the Diagnostic Table.

  1. This vehicle is equipped with a PCM which utilizes an Electrically Erasable Programmable Read Only Memory (EEPROM). When the PCM is replaced, the new PCM must be programmed.

DTC P0650 - MIL Control Circuit

Step

Action

Value(s)

Yes

No

1

Did you perform the Powertrain On-Board Diagnostic (OBD) System Check?

--

Go to Step 2

Go to Powertrain On Board Diagnostic (OBD) System Check

2

Important: : If the MIL fuse is open, locate and repair a short to ground in the MIL ignition supply circuit or a shorted cluster.

Inspect the MIL fuse and replace as necessary.

Was the fuse open?

--

Go to Step 12

Go to Step 3

3

  1. Turn the Ignition OFF.
  2. Disconnect the PCM. Refer to Powertrain Control Module Replacement/Programming .
  3. Important: : If the jumper fuse opens, locate and repair a short to voltage in the MIL control circuit or a shorted cluster.

  4. Install a 3 amp fused jumper between the MIL control circuit at the PCM harness connector and a good ground.
  5. Turn the ignition ON with the engine OFF.

Is the MIL illuminated?

--

Go to Step 4

Go to Step 5

4

Leaving the ignition ON, remove the jumper.

Is the MIL illuminated?

--

Go to Step 7

Go to Step 9

5

  1. Remove the instrument cluster. Refer to Instrument Cluster Replacement in Instrument Panel, Gauges and Console
  2. Test the MIL control circuit for an open and repair as necessary.

Did you find and correct the condition?

--

Go to Step 12

Go to Step 6

6

Test the MIL ignition supply circuit for an open and repair as necessary.

Did you find and correct the condition?

--

Go to Step 12

Go to Step 8

7

  1. Remove the instrument cluster. Refer to Instrument Cluster Replacement in Instrument Panel, Gauges and Console.
  2. Test the MIL control circuit for a short to ground and repair as necessary.

Did you find and repair the condition?

--

Go to Step 12

Go to Step 10

8

Inspect the cluster harness connector for faulty connections and repair as necessary. Refer to Testing for Intermittent Conditions and Poor Connections in Wiring Systems.

Did you find and repair the condition?

--

Go to Step 12

Go to Step 10

9

Inspect the PCM and the PCM harness connector for faulty connections and repair as necessary. Refer to Testing for Intermittent Conditions and Poor Connections in Wiring Systems.

Did you find and correct the connection?

--

Go to Step 12

Go to Step 11

10

Repair or replace the cluster. Refer to Instrument Cluster Replacement in Instrument Panel, Gauges and Console.

Did you complete the repair or replacement?

--

Go to Step 12

--

11

Important:: The replacement PCM must be programmed.

Replace the PCM. Refer to Powertrain Control Module Replacement/Programming .

Did you complete the replacement?

--

Go to Step 12

--

12

  1. Use the scan tool in order to clear the DTCs.
  2. Operate the vehicle within the parameters described in Conditions for Running and Conditions for Setting on the facing page.

Does the DTC reset?

--

Go to Step 2

System OK