GM Service Manual Online
For 1990-2009 cars only

Object Number: 610417  Size: MF

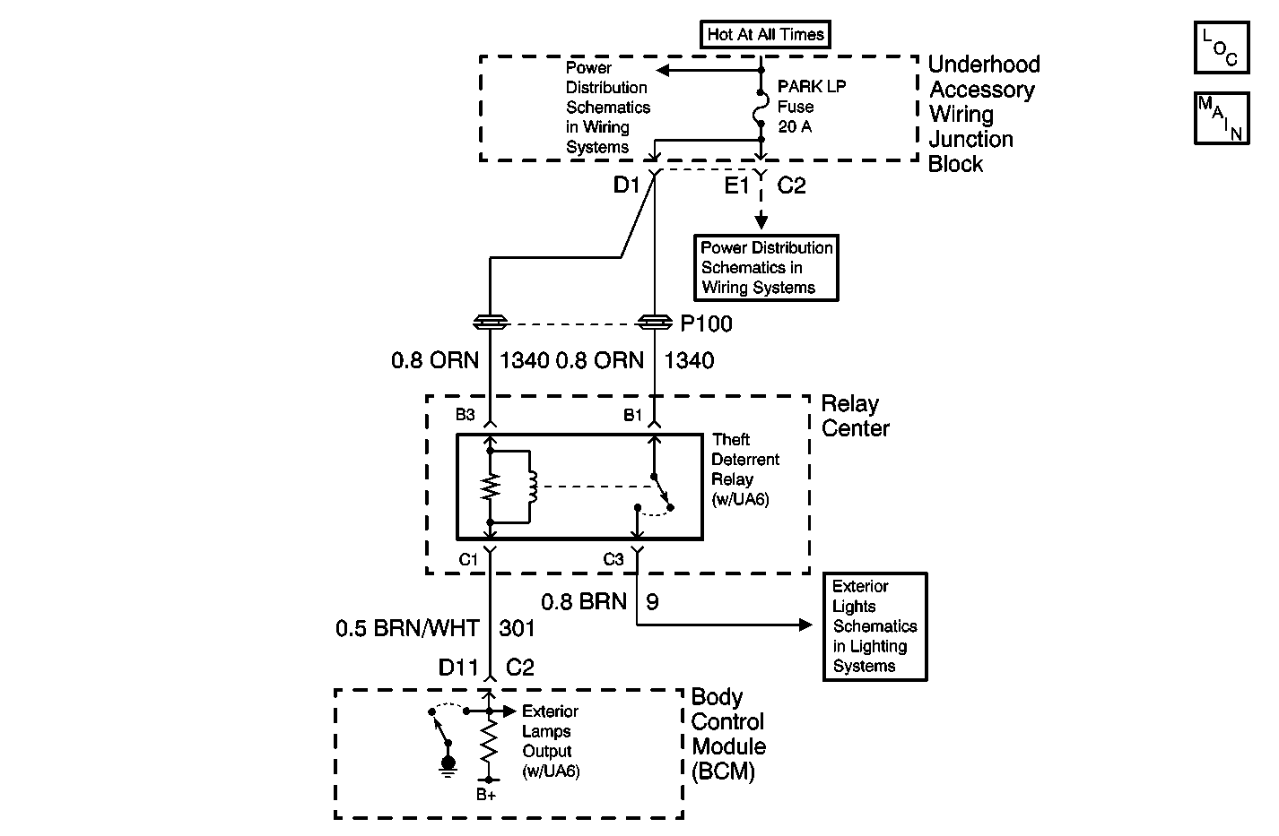
Circuit Description

The body control module (BCM) type 4 activates the headlamps and the horn when any of the following occurs:

    • The message received from the keyless entry system's remote control door lock receiver (RCDLR) in order to perform the alarm mode.
    • The BCM detects a theft attempt when the content theft deterrent is in either the armed or warning mode.
    • The theft deterrent system is in the trunk open mode.

The BCM interfaces with the headlamps through the theft deterrent relay. The theft deterrent relay allows the BCM to turn the headlamps ON providing a visual alert. The BCM energizes the theft deterrent relay, turning the headlamps ON by grounding circuit 301 during the following modes:

    • The armed mode--When the content theft deterrent is in the armed mode, the BCM turns the headlamps ON once for 950-1000 ms. The BCM turns on the headlamps only if the remote activation verification is in either mode 2, 3 or 4. Refer to Diagnostic Aids. The horn also sounds during this mode. The BCM will sound the horn first then the headlamps will flash.
    • The warning mode--The warning mode attempts to warn away potential intruders prior to setting off the alarm mode. The headlamps will cycle ON and OFF 5 times at a rate of .09-1.1 hz with a 15-25% active state duty cycle. The horn will sound 5 times during this mode although the BCM alternates between the horn and the headlamps.
    • The alarm mode--When the content theft deterrent is in the alarm mode, the BCM will turn the headlamps ON and OFF for 2 minutes or until the alarm is disarmed at a rate of 9.0-1.1 hz with a 15-25% active state duty cycle. The horn will sound during this mode although the BCM alternates between the horn and the exterior lights.

Conditions for Setting the DTC

The BCM detects a short to B+ or ground in circuit 301.

Action Taken When the DTC Sets

    • The BCM sets the diagnostic trouble code (DTC) 6.
    • The BCM does not turn on the headlamps during the armed, warning, alarm or trunk open modes.
    • If circuit 301 is shorted to ground, the headlamps will stay ON at all times.

Conditions for Clearing the MIL/DTC

    • A short to B+ or ground in circuit 301 is no longer present between the BCM and the theft deterrent relay.
    • After the repairs are completed, refer to Diagnostic Trouble Code (DTC) Clearing for the DTC clearing procedure.

Diagnostic Aids

    • Inspect for a short to B+ or ground in circuit 301.
    • A faulty theft deterrent relay.
    • Perform the following test while moving the wiring and connectors. This will cause the malfunction to appear.

Remote Activation Verification Modes

Perform the following procedure in order to change the remote activation verification mode:

  1. Turn the instrument panel dimmer switch OFF.
  2. Turn the ignition switch to the LOCK position.
  3. Remove the BCM PRGRM fuse.
  4. Turn the ignition switch to the ACC position.
  5. • The BCM will sound a chime the number of times equivalent to the BCM type installed on the vehicle.
    • The BCM has entered the feature customization mode.
    • In order to change the remote activation verification mode, press the lock button on the keyless entry transmitter.
    • The BCM will sound a chime the number of times equivalent to the remote activation verification mode.

The following are the remote activation verification modes:

    • Mode 1--The remote activation verification is disabled. No horn or headlamps.
    • Mode 2--The headlamps will flash when locking/unlocking the doors with the keyless entry transmitter.
    • Mode 3--The headlamps will flash when unlocking the doors with the keyless entry transmitter. The headlamps will flash and the horn will sound when locking the doors with the keyless entry transmitter.
    • Mode 4--The headlamps will flash when unlocking/locking the doors with the keyless entry transmitter. The headlamps will flash and the horn will sound when locking the doors with the keyless entry transmitter a second time within 5 seconds of locking the doors with the keyless entry transmitter.

Test Description

The number(s) below refer to the step number(s) on the diagnostic table.

  1. Always perform the theft deterrent diagnostic system check before attempting to diagnose the DTC.

  2. Tests for a short to B+ in circuit 301

  3. Tests for a short to ground in circuit 301

  4. Tests for a faulty theft deterrent relay.

Step

Action

Value(s)

Yes

No

1

Was the theft deterrent diagnostic system check performed?

--

Go to Step 2

Go to Diagnostic System Check - Theft Deterrent

2

  1. Turn the ignition switch to the LOCK position.
  2. Disconnect the theft deterrent relay located in the relay center.
  3. Disconnect the BCM connector C2.
  4. Turn the ignition switch to the RUN position.
  5. Use a DMM in order to measure the voltage between the BCM harness connector C2 terminal D11 and ground. Refer to Circuit Testing in Wiring Systems.

Is the voltage less than the specified value?

2 V

Go to Step 3

Go to Step 5

3

Use a DMM in order to measure the resistance between the BCM harness connector C2 terminal D11 and ground. Refer to Circuit Testing in Wiring Systems.

Is the resistance equal to the specified value?

Infinite

Go to Step 4

Go to Step 6

4

Use a DMM in order to measure the resistance between the theft deterrent relay terminals on the coil side. Refer to Circuit Testing in Wiring Systems.

Is the resistance within the specified range?

65-110ohms

Go to Step 8

Go to Step 7

5

Repair a short to B+ in circuit 301. Refer to Wiring Repairs in Wiring Systems.

Is the repair complete?

Go to Step 9

--

6

Repair a short to ground in circuit 301. Refer to Wiring Repairs in Wiring Systems.

Is the repair complete?

--

Go to Step 9

--

7

Replace the theft deterrent relay.

Is the repair complete?

--

Go to Step 9

--

8

    • Inspect the BCM connector C2 terminal D11 for a short to B+ or ground. Refer to Testing for Intermittent Conditions and Poor Connections in Wiring Systems. Perform the necessary connector repairs. Refer to Connector Repairs in Wiring Systems.
    • If the connector is OK, replace the BCM. Refer to Body Control Module Replacement in Body Control Systems.

Is the repair complete?

--

Go to Step 9

--

9

  1. Turn the ignition switch to the LOCK position.
  2. Reinstall the connectors/components removed.
  3. Remove the BCM PRGRM fuse.
  4. Turn the ignition switch to the ACC position. The BCM sounds the chime a number of times equivalent to the BCM type installed on the vehicle.
  5. Within 1 second, turn the ignition switch from the ACC position, to the LOCK position, then back to the ACC position. The BCM sounds any DTCs stored.

Are any BCM DTCs present?

--

Go to Diagnostic Trouble Code (DTC) List/Type in Body Control Systems

System OK