GM Service Manual Online
For 1990-2009 cars only

Removal Procedure

Notice: Cap the fittings and plug the holes when servicing the fuel system in order to prevent dirt and other contaminants from entering the open pipes and passages.


    Object Number: 724421  Size: SH
  1. Drain the fuel tank. Refer to Fuel Tank Draining .
  2. Remove the fuel filler pipe to fuel fill pocket bolts.
  3. Raise the vehicle. Refer to Lifting and Jacking the Vehicle in General Information.
  4. Remove the fuel filler pipe shield.
  5. Remove the fuel filler pipe attaching nut to wheelhouse stud.
  6. Remove the fuel filler pipe attaching screw to wheelhouse panel.

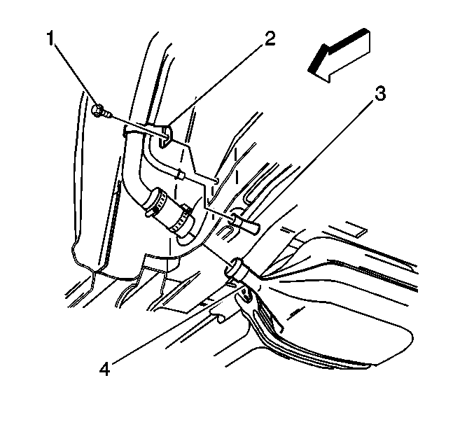
  7. Object Number: 724404  Size: SH
  8. Remove the fuel filler pipe bracket bolt (1).
  9. Disconnect the vent pipe (3).
  10. Remove the fuel filler hose from the fuel tank (4).
  11. Remove the fuel filler pipe and hose.

Installation Procedure


    Object Number: 724404  Size: SH

    Notice: Use the correct fastener in the correct location. Replacement fasteners must be the correct part number for that application. Fasteners requiring replacement or fasteners requiring the use of thread locking compound or sealant are identified in the service procedure. Do not use paints, lubricants, or corrosion inhibitors on fasteners or fastener joint surfaces unless specified. These coatings affect fastener torque and joint clamping force and may damage the fastener. Use the correct tightening sequence and specifications when installing fasteners in order to avoid damage to parts and systems.

  1. Install the fuel filler pipe and hose to the fuel tank (4). Fully seat the fill hose to the stop on the tank.
  2. Tighten
    Tighten the fuel filler pipe clamp to 2.5 N·m (22 lb in).


    Object Number: 724421  Size: SH
  3. Install the fuel filler pipe attaching screw to the wheelhouse panel.
  4. Tighten
    Tighten the fuel filler pipe attaching screw to 25 N·m (18 lb ft).

  5. Install the fuel filler pipe attaching nut to the wheelhouse panel.
  6. Tighten
    Tighten the fuel filler pipe attaching nut to 10 N·m (89 lb in).

  7. Install the fuel filler pipe shield.
  8. Lower the vehicle.
  9. Install the fuel filler pipe to fuel fill pocket bolts.
  10. Refill the fuel tank.
  11. Install the fuel filler cap.
  12. Connect the negative battery cable. Refer to Battery Negative Cable Disconnection and Connection in Engine Electrical.
  13. Inspect for fuel leaks.