GM Service Manual Online
For 1990-2009 cars only

Removal Procedure

Caution: In order to Reduce the Risk of Fire and Personal Injury:

   • If nylon fuel pipes are nicked, scratched or damaged during installation, Do Not attempt to repair the sections of the nylon fuel pipes. Replace them.
   • When installing new fuel pipes, Do Not hammer directly on the fuel harness body clips as it may damage the nylon pipes resulting in a possible fuel leak.
   • Always cover nylon vapor pipes with a wet towel before using a torch near them. Also, never expose the vehicle to temperatures higher than 115°C (239°F) for more than one hour, or more than 90°C (194°F) for any extended period.
   • Before connecting fuel pipe fittings, always apply a few drops of clean engine oil to the male pipe ends. This will ensure proper reconnection and prevent a possible fuel leak. (During normal operation, the O-rings located in the female connector will swell and may prevent proper reconnection if not lubricated.)

Notice: Do not attempt to straighten any kinked nylon fuel lines. Replace any kinked nylon fuel feed or return pipes in order to prevent damage to the vehicle.

Notice: Cap the fittings and plug the holes when servicing the fuel system in order to prevent dirt and other contaminants from entering the open pipes and passages.

  1. Remove the engine and transmission as an assembly. Refer to Engine Replacement in Engine Mechanical.

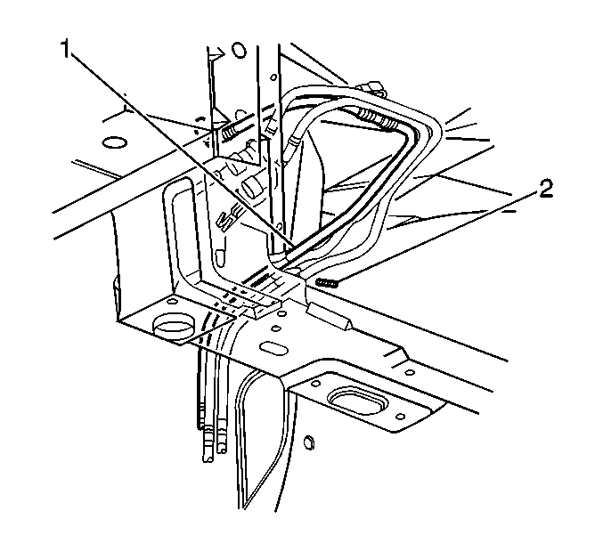
  2. Object Number: 724410  Size: SH
  3. Disconnect the fuel feed pipe (2) from the fuel filter and the return pipe from the rear return pipe (4).

  4. Object Number: 400659  Size: SH
  5. Perform the following procedures if equipped with auxiliary rear air and heat.
  6. 3.1. Disconnect the rear heater and A/C pipes from the rear heating, ventilation, and air conditioning (HVAC) module. Refer to Auxiliary HVAC Module Replacement in Heating, Ventilation and Air Conditioning.
    3.2. Move the rear heater and A/C pipes in order to remove the fuel pipes.
  7. Note the position of the fuel pipes and the attaching hardware for installation.

  8. Object Number: 724387  Size: SH
  9. Disconnect the fuel pipes (1) from the engine compartment attaching clip.

  10. Object Number: 724389  Size: SH
  11. Disconnect the fuel pipes from the chassis attaching clip (1).

  12. Object Number: 724391  Size: SH
  13. Remove the fuel pipes.
  14. Inspect the pipes for bends, kinks, and cracks.
  15. Replace the pipe or pipes as required.

Installation Procedure


    Object Number: 724391  Size: SH
  1. Install the fuel pipes.

  2. Object Number: 724389  Size: SH
  3. Install the fuel pipes into the chassis attaching clip (1).

  4. Object Number: 724387  Size: SH
  5. Install the fuel pipes (1) into the engine compartment attaching clip.

  6. Object Number: 400659  Size: SH
  7. Perform the following procedures if equipped with auxiliary rear air and heat.
  8. 4.1. Move the rear heater and A/C pipes into their original position.
    4.2. Connect the rear heater and A/C pipes to the rear HVAC module. Refer to Auxiliary HVAC Module Replacement in Heating, Ventilation and Air Conditioning.

    Object Number: 724410  Size: SH
  9. Connect the fuel feed pipe (2) to the fuel filter and the return pipe to the rear return pipe (4).
  10. Install the engine and transmission as an assembly. Refer to Engine Replacement in Engine Mechanical.