J 34825 Height Sensor Adjustment Tool
Use the following procedure in order to manually adjust the height sensor:
Notice: When diagnosis or repair requires raising the vehicle on a hoist, it is important that the rear axle remains in the normal trim height position at all times. Therefore, the hoists should support the rear wheels or axle housing. Use two additional jack stands to support the rear axle when a frame contact hoist is used or damage to the auto level control air compressor could occur.
If the D dimension is not within specifications, adjust the height sensor as follows:
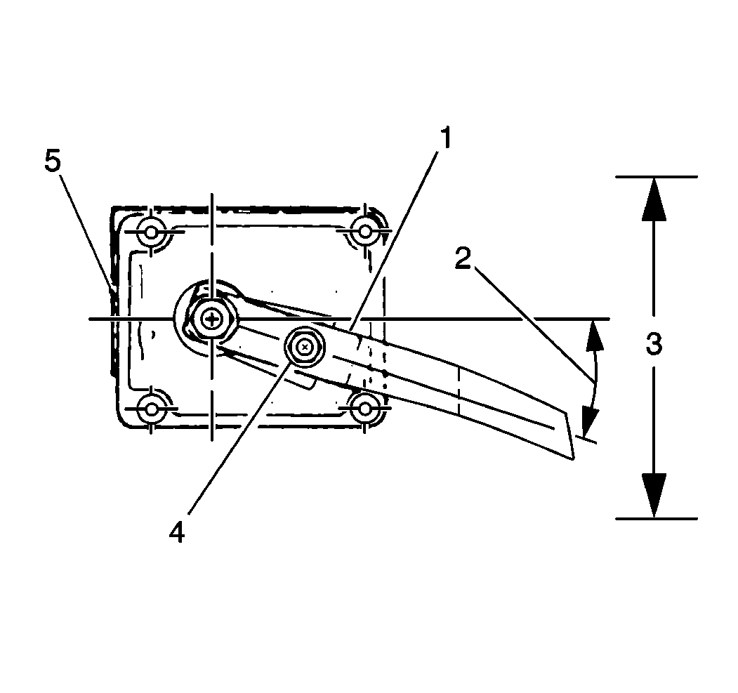
| 6.1. | Loosen the height sensor arm adjustment bolt (4). |
| 6.2. | In order to raise the vehicle, move the plastic portion of the height sensor arm upwards. In order to lower the vehicle, move the plastic portion of the height sensor arm downwards. Rotating the plastic portion of the height sensor arm one degree will change the D dimension by 4 mm (0.16 in). |
Notice: Use the correct fastener in the correct location. Replacement fasteners must be the correct part number for that application. Fasteners requiring replacement or fasteners requiring the use of thread locking compound or sealant are identified in the service procedure. Do not use paints, lubricants, or corrosion inhibitors on fasteners or fastener joint surfaces unless specified. These coatings affect fastener torque and joint clamping force and may damage the fastener. Use the correct tightening sequence and specifications when installing fasteners in order to avoid damage to parts and systems.
| 6.3. | Tighten the height sensor adjuster bolt (4). |
Tighten
Tighten the height sensor adjuster bolt to 5 N·m (44 lb in).
| 6.4. | In order to verify that the height sensor is adjusted properly, repeat steps 4 through 6. |
The height sensor may also be adjusted by using the J 34825 Height Sensor Adjustment Tool. The adjustment instructions are included with the tool.