GM Service Manual Online
For 1990-2009 cars only
Figure 1:

Center of Instrument Panel Cluster (IPC)


Object Number: 731981  Size: LF
(1)HVAC Control Assembly Connector for C1 and C2
Figure 2:

Left Rear of Vehicle on Rear of Wheelhouse


Object Number: 731984  Size: LF
(1)Blower Motor Relay-Auxiliary
Figure 3:

Left Rear of Vehicle on Rear of Wheelhouse


Object Number: 731987  Size: LF
(1)Air Temperature Actuator-Auxiliary
(2)Blower Motor Resistor Assembly-Auxiliary
(3)Blower Motor-Auxiliary
(4)Mode Actuator-Auxiliary
(5)TXV Solenoid-Auxiliary
Figure 4:

Front, LH Side of Engine Compartment


Object Number: 447365  Size: LF
(1)LH Strut Tower
(2)Engine Harness
(3)A/C Refrigerant Pressure Sensor
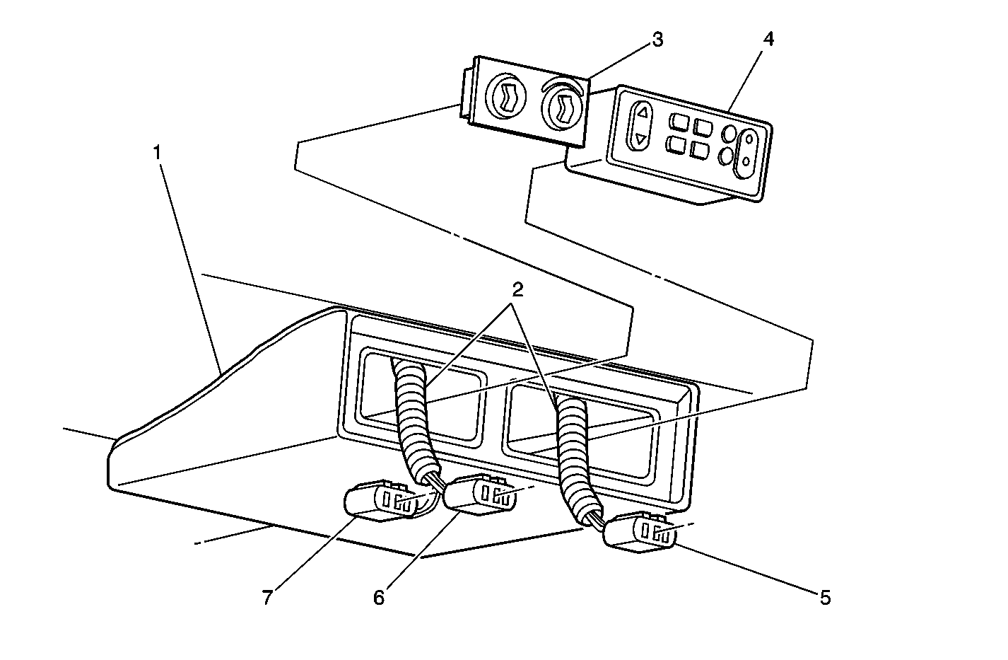
Figure 5:

Roof Rear Console, Roof Headliner Behind Driver's Seat (5-Door)


Object Number: 590173  Size: MF
(1)Roof Rear Console
(2)Body Harness
(3)HVAC Control Assembly-Auxiliary
(4)Radio Rear Seat Audio (RSA) Control
(5)Connector to Radio Rear Seat Audio Control
(6)HVAC Control Assembly-Auxiliary Connector C1
(7)HVAC Control Assembly-Auxiliary Connector C2
Figure 6:

RH Side of IP


Object Number: 447167  Size: LF
(1)Mode Actuator
(2)I/P Harness
(3)Connector to Recirculation Actuator
(4)Pass Through P100
(5)Blower Motor Resistor Assembly
(6)Blower Motor
Figure 7:

Under the Front Bumper


Object Number: 590176  Size: MF
(1)Ambient Air Temperature Sensor
(2)Forward Lamp Harness
Figure 8:

Lower Right Front of the Engine


Object Number: 590180  Size: MF
(1)Engine Wiring Harness
(2)A/C Compressor Clutch Connector
(3)A/C Compressor
(4)Engine
(5)Engine Oil Filter
Figure 9:

Roof Rear Overhead Console (U42)


Object Number: 416782  Size: LF
(1)HVAC Control Assembly-Auxiliary
(2)Auxiliary Video Module (AVM)
(3)Video Display
(4)Second Seat Audio (SSA) Control
(5)Rear Seat Audio (RSA) Control