GM Service Manual Online
For 1990-2009 cars only

Tools Required

J 25300-D Headlamp Aimer


    Object Number: 313832  Size: SH
  1. Aim the headlamps for proper illumination of the road. Check the headlamp aim whenever any of the following are true:
  2. • When a new headlamp capsule is installed
    • If service or repairs to the front end area have (or may have) disturbed the headlamps or their mounting.

    Object Number: 280078  Size: MH
  3. Some state and local laws specify requirements for headlamp aim. All of these laws must be followed when performing any headlamp aiming operation.

  4. Object Number: 280084  Size: MH
  5. Prior to aiming headlamps, the following steps must be taken:
  6. • Ensure that all of the components are back in their original place if any service has been performed.
    • Place the vehicle on a level surface.
    • Stop all other work on the vehicle.
    • Fill the fuel tank to half full.
    • If the vehicle is intended for heavy loads or tows a trailer, these loads must be simulated.

Headlamp Aiming by the Screen Method


    Object Number: 313832  Size: SH
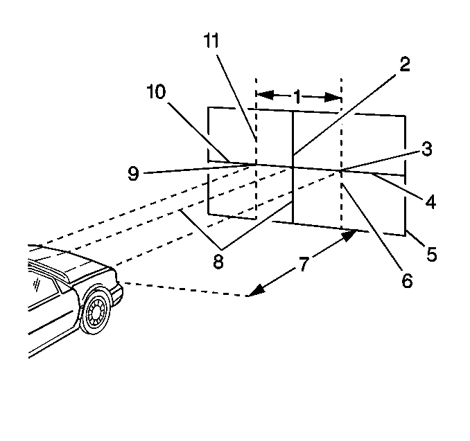
  1. Locate the vehicle so that it is square with the screen and the front of the headlamps, directly over a reference line which has been painted on the floor.
  2. Locate the center line on the aiming screen so that the aiming screen is in line with the center of the vehicle.
  3. 2.1. Mark the center of the front and rear windows with narrow strips of masking tape.
    2.2. Use the masking tape strips in order to locate the center line (2) of the aiming screen directly in line with the vehicle axis (8).

Equipment Needed

    • A marked screen
    • An adequate test area

Aiming Area Required

  1. A specific aiming area in a darkened location is desired.
  2. Ensure that the room is sufficient for the vehicle and for an additional 7.6 m (25 ft) measured from the face of the lamps to the front of the screen.

  3. Ensure that the floor on which the vehicle rests is flat and level with the bottom of the screen. If the floor is not level, compensate.

Aiming Screen

  1. Ensure that the screen includes the following provisions:
  2. • Is 1.5 m (5 ft) high and 3.6 m (12 ft) wide
    • Has a matte white surface well shaded from extraneous light
    • Is properly adjusted to the floor on which the vehicle stands
  3. Make provisions for moving the screen so that it can be aligned parallel with the rear axle.
  4. Make provisions for moving the screen so that a horizontal line drawn perpendicularly from the centerline of the screen will pass an equal distance midway between the two headlamps.
  5. The screen is provided with the following components:
  6. • A fixed vertical centerline
    • Two laterally adjustable vertical tapes
    • One vertically adjustable horizontal tape
  7. If a regular commercial aiming screen is not available, the screen may consist of a vertical wall having a clear uninterrupted area of approximately 1.8 m (6 ft) high and 3.6 m (12 ft) wide.
  8. Finish the surface with a washable non-gloss white paint.

  9. After the aiming screen has been set up, paint a reference line on the floor directly under the lens of the lamps in order to indicate the proper location of the headlamps when they are being aimed.

Headlamp Aiming Procedure

  1. With the vehicle properly located and loaded, switch the headlamps to low beam.
  2. Observe the left and the top edges of the high intensity zone on the screen.
  3. The edges of the high intensity zone should fall within the specifications.

  4. If any adjustments are needed, perform the adjustment in the following manner:
  5. • For horizontal adjustments, make the adjustment with the inner adjustment screw.
    • For vertical adjustments, make the adjustment with the upper adjustment screw.

Headlamp Aiming-Using the Headlamp Aimer

Notice: In order to avoid any possibility of damage, regardless of weather a vehicle has glass or plastic headlamps, it is recommended that the headlamps not be illuminated when using aiming equipment which uses a suction cup device for attachment.


    Object Number: 280078  Size: MH
  1. Adjust the headlamp aimers (1) for the floor level.
  2. Select the appropriate adapter (6) from the J 25300-D .
  3. Set the adjustment rods (3) to the numbers shown on the front of the headlamp console.
  4. Attach the adapter (5) to the Aimer from J 25300-D .
  5. Attach the aimers to the headlamp capsule.

  6. Object Number: 280084  Size: MH
  7. Ensure that the adjustment rods (2) contact the aiming pads. You may have to add or remove an extension stud.
  8. Aim the headlamps according to the aiming tool manufacturer's instructions.
  9. If any adjustments are needed, perform the adjustment in the following manner:
  10. • For horizontal adjustments, make the adjustment with the inner adjustment screw.
    • For vertical adjustments, make the adjustment with the upper adjustment screw.