GM Service Manual Online
For 1990-2009 cars only

Removal Procedure

  1. Open the instrument panel (IP) compartment door.

  2. Object Number: 318215  Size: SH
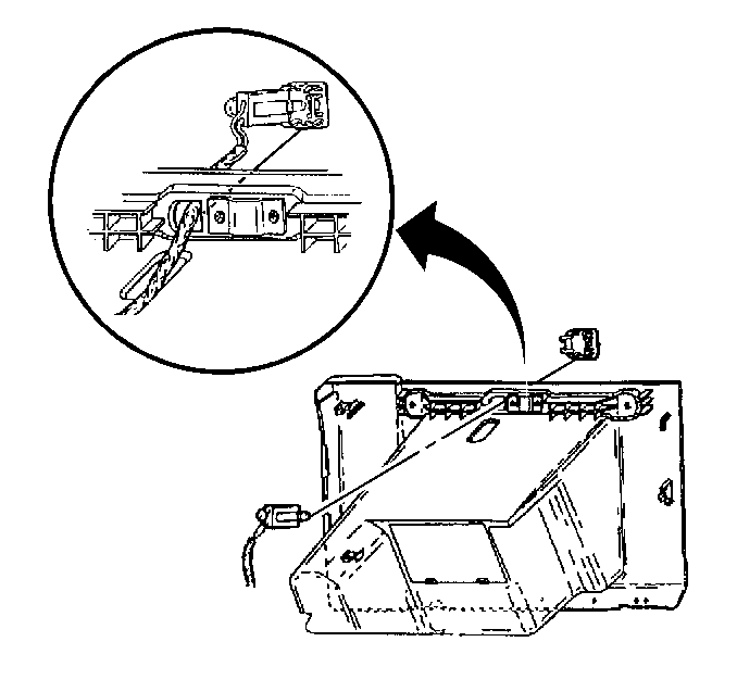
  3. Use a small, flat-bladed tool in order to remove the IP compartment lamp switch.
  4. Pull the IP compartment lamp switch from the IP compartment in order to expose the harness.
  5. Disconnect the electrical connector from the IP compartment lamp switch.

Installation Procedure


    Object Number: 318215  Size: SH
  1. Connect the electrical connector to the IP compartment lamp switch.
  2. Press the IP compartment lamp switch into the IP compartment until the switch is fully seated.
  3. Close the IP compartment door.