GM Service Manual Online
For 1990-2009 cars only

Removal Procedure

  1. Remove the sliding door garnish molding. Refer to Rear Side Door Garnish Molding Replacement .

  2. Object Number: 320044  Size: SH
  3. Use a small flat-bladed tool in order to remove the sliding door swing out window access hole plugs from the sliding door.

  4. Object Number: 320051  Size: SH
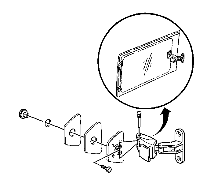
  5. Remove the sliding door swing out window latch screws.
  6. Remove the sliding door swing out window hinge stud nuts.

  7. Object Number: 320047  Size: SH
  8. Remove the sliding door swing out window from the sliding door.

Installation Procedure


    Object Number: 320047  Size: SH
  1. Install the sliding door swing out window to the sliding door.

  2. Object Number: 320051  Size: SH

    Notice: Use the correct fastener in the correct location. Replacement fasteners must be the correct part number for that application. Fasteners requiring replacement or fasteners requiring the use of thread locking compound or sealant are identified in the service procedure. Do not use paints, lubricants, or corrosion inhibitors on fasteners or fastener joint surfaces unless specified. These coatings affect fastener torque and joint clamping force and may damage the fastener. Use the correct tightening sequence and specifications when installing fasteners in order to avoid damage to parts and systems.

  3. Install the sliding door swing out window hinge studs nuts.
  4. Tighten
    Tighten the nuts to 10 N·m (89 lb in).

  5. Install the sliding door swing out window latch screws.
  6. Tighten
    Tighten the screws to 10 N·m (89 lb in).


    Object Number: 320044  Size: SH
  7. Tighten the sliding door swing-out window access hole plugs to the sliding door by pressing on the plugs.
  8. Install the sliding door garnish molding. Refer to Rear Side Door Garnish Molding Replacement .