GM Service Manual Online
For 1990-2009 cars only

CAUTION: Be careful when you handle a sensing and diagnostic module (SDM). Do not strike or jolt the SDM. Before applying power to the SDM:

   • Remove any dirt, grease, etc. from the mounting surface
   • Position the SDM horizontally on the mounting surface
   • Point the arrow on the SDM toward the front of the vehicle
   • Tighten all of the SDM fasteners and SDM bracket fasteners to the specified torque value
Failure to follow the correct procedure could cause air bag deployment, personal injury, or unnecessary SIR system repairs.

Caution: If any water enters the vehicle's interior up to the level of the carpet or higher and soaks the carpet, the sensing and diagnostic module (SDM) and the SDM harness connector may need to be replaced. The SDM could be activated when powered, which could cause deployment of the air bag(s) and result in personal injury. Before attempting these procedures, the SIR system must be disabled. Refer to Disabling the SIR System.

With the ignition OFF, inspect the SDM mounting area, including the carpet. If any significant soaking or evidence of significant soaking is detected, you must perform the following tasks:

  1. Remove all water.
  2. Repair the water damage.
  3. Replace the SDM harness connector.
  4. Replace the SDM.
Failure to follow these tasks could result in possible air bag deployment, personal injury, or otherwise unneeded SIR system repairs.

Removal Procedure

  1. Disable the SIR system. Refer to Disabling the SIR System
  2. Remove the passenger front seat. Refer to Bucket Seat Replacement in Seats.
  3. Remove the passenger front carpet retainer, then roll back the carpet.

  4. Object Number: 260605  Size: SH
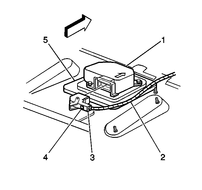
  5. Push the locking tab and release the connector position assurance (CPA) from the inflatable restraint sensing and diagnostic module (SDM) wiring harness connector (2).

  6. Object Number: 260607  Size: SH
  7. Disconnect the SDM wiring harness connector (3) from the SDM (1).

  8. Object Number: 260608  Size: MH
  9. Remove the SDM mounting fasteners (1).
  10. Remove the SDM (2) from the vehicle.

Installation Procedure


    Object Number: 260608  Size: MH

    Notice: Use the correct fastener in the correct location. Replacement fasteners must be the correct part number for that application. Fasteners requiring replacement or fasteners requiring the use of thread locking compound or sealant are identified in the service procedure. Do not use paints, lubricants, or corrosion inhibitors on fasteners or fastener joint surfaces unless specified. These coatings affect fastener torque and joint clamping force and may damage the fastener. Use the correct tightening sequence and specifications when installing fasteners in order to avoid damage to parts and systems.

  1. Install the SDM (2) to the vehicle.
  2. Install the SDM mounting fasteners (1).
  3. Tighten
    Tighten fasteners to 10 N·m (89 lb in).

First Repair

            Important: The following repair procedures should only be used in the event that the inflatable restraint sensing and diagnostic module (SDM) mounting studs and/or fasteners are damaged to the extent that the SDM can no longer be properly mounted.

    2.1. Remove and discard the fastener.
    2.2. Use a new fastener GM P/N 10156138.

    Notice: Use the correct fastener in the correct location. Replacement fasteners must be the correct part number for that application. Fasteners requiring replacement or fasteners requiring the use of thread locking compound or sealant are identified in the service procedure. Do not use paints, lubricants, or corrosion inhibitors on fasteners or fastener joint surfaces unless specified. These coatings affect fastener torque and joint clamping force and may damage the fastener. Use the correct tightening sequence and specifications when installing fasteners in order to avoid damage to parts and systems.

    2.3. Install the SDM mounting fasteners (1).

    Tighten
    Tighten fasteners to 10 N·m (89 lb in).

Second Repair

    2.1. Remove and discard the fastener.
    2.2. Use a larger fastener GM P/N 10267482 with washer GM P/N 11500305.
    2.3. Install the SDM mounting fasteners (1).

    Tighten
    Tighten fasteners to 15 N·m (134 lb in).


    Object Number: 260607  Size: SH
  1. Install the SDM wiring harness connector (3) to the SDM (1).

  2. Object Number: 260605  Size: SH
  3. Install the connector position assurance (CPA) to the SDM wiring harness connector (2).
  4. Position the carpet to cover the SDM then install the carpet retainer.
  5. Install the passenger front seat. Refer to Bucket Seat Replacement in Seats.
  6. Important: The AIR BAG indicator may remain ON after the SDM has been replaced. DTC B1001 may set requiring the SDM part number to be set in multiple modules. If the indicator remains ON after enabling the SIR system, perform the diagnostic system check and follow the steps thoroughly to ensure that the SDM is set properly.

  7. Enable the SIR system. Refer to Enabling the SIR System .