GM Service Manual Online
For 1990-2009 cars only
Makes
🢒
Chevrolet
🢒
2001
🢒
Venture Ext.
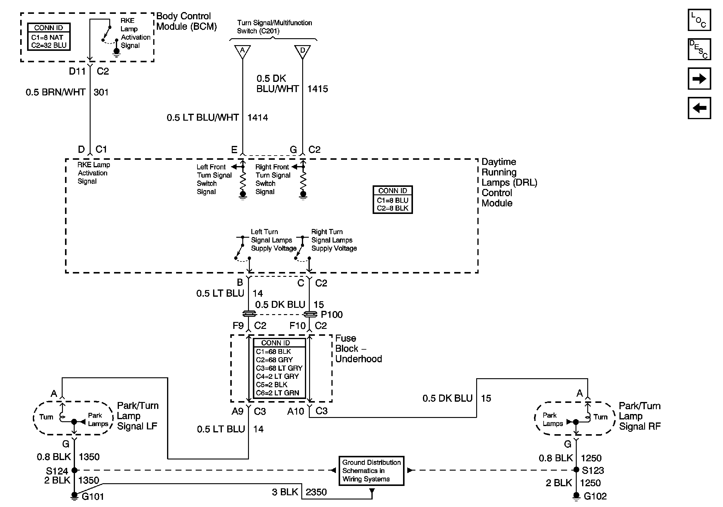
🢒 DRL Ambient Light Sensor and DRL Control Module
DRL Ambient Light Sensor and DRL Control Module
DRL Ambient Light Sensor and DRL Control Module
Hardwire Indicators
Park Brake Indicator Switch and DRL Abient Light Sensor
Hazard Lamp/Turn Signal Flasher and Turn Signal Switch
Hazard Lamp/Turn Signal Flasher and Turn Signal Switch
Park Brake Indicator Switch and DRL Abient Light Sensor
Park Brake Indicator Switch and DRL Abient Light Sensor
Park Brake Indicator Switch and DRL Abient Light Sensor
G200 (1 of 3)
G101 and G102
Master Electrical Component List
Exterior Lighting Systems Description and Operation
Trailer Wiring, Power and Ground
Taillamps, Side Markers and Park/Turnlamps