GM Service Manual Online
For 1990-2009 cars only
Makes
🢒
Chevrolet
🢒
2001
🢒
Venture Ext.
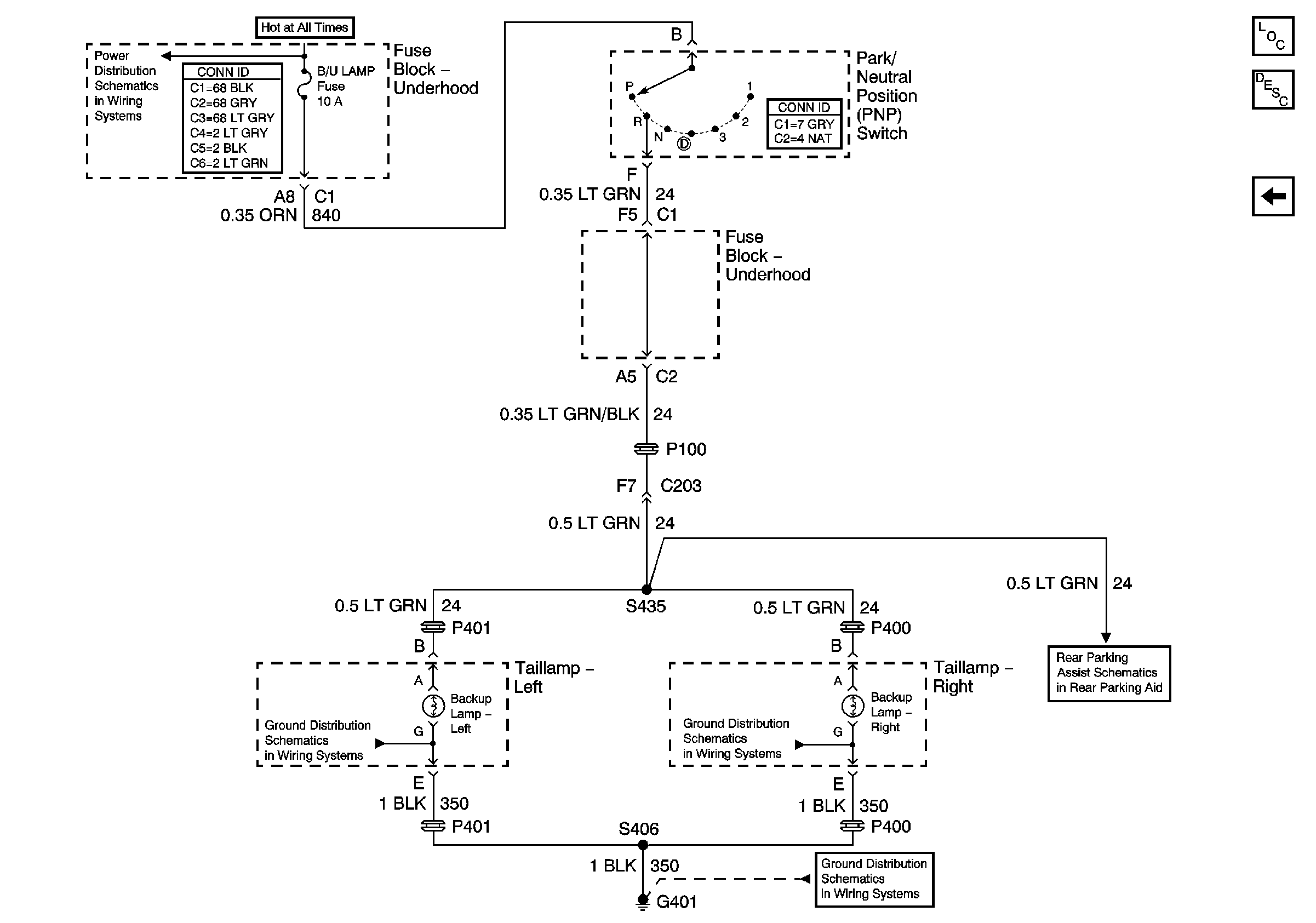
🢒 Backup Lights
Backup Lights
Backup Lights
RAP Relay Junction Block - Underhood, ECM SENSE, B/U LAMP, ALT/SENSE and AIR Fuses
G401 and G402
G401 and G402
G401
Master Electrical Component List
Exterior Lighting Systems Description and Operation
Trailer Wiring, Power and Ground