GM Service Manual Online
For 1990-2009 cars only
Makes
🢒
Chevrolet
🢒
2001
🢒
Venture Ext.
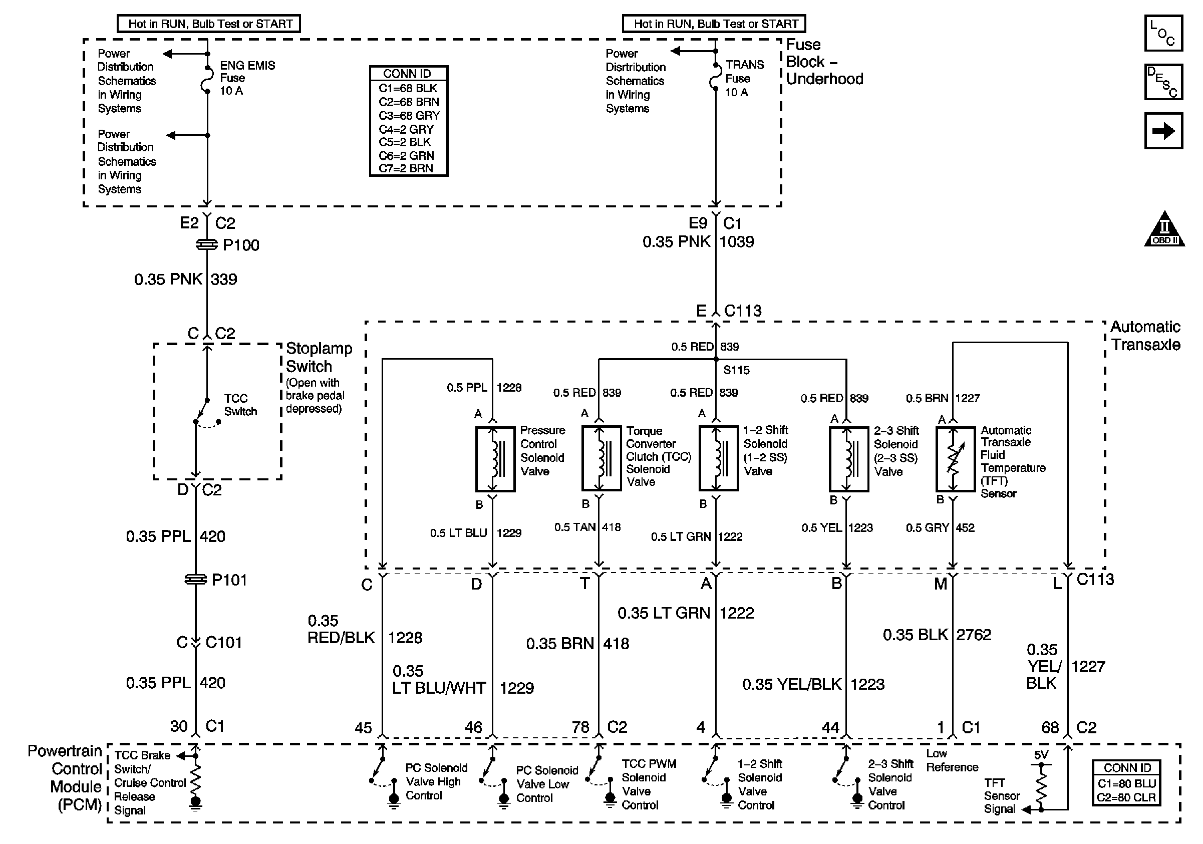
🢒 Solenoid Controls and TFT Sensor
Solenoid Controls and TFT Sensor
Solenoid Controls and TFT Sensor
Master Electrical Component List
Transmission Component and System Description
Fluid Pressure Manual Valve Position Switch and ISS Sensor
Engine Emission Notice
Power Bussing for Fuse Block-Underhood page 2 of 2
Stop, EVAP, MAF
Power Bussing for Fuse Block-Underhood page 2 of 2