GM Service Manual Online
For 1990-2009 cars only
Makes
🢒
Chevrolet
🢒
2001
🢒
Venture Ext.
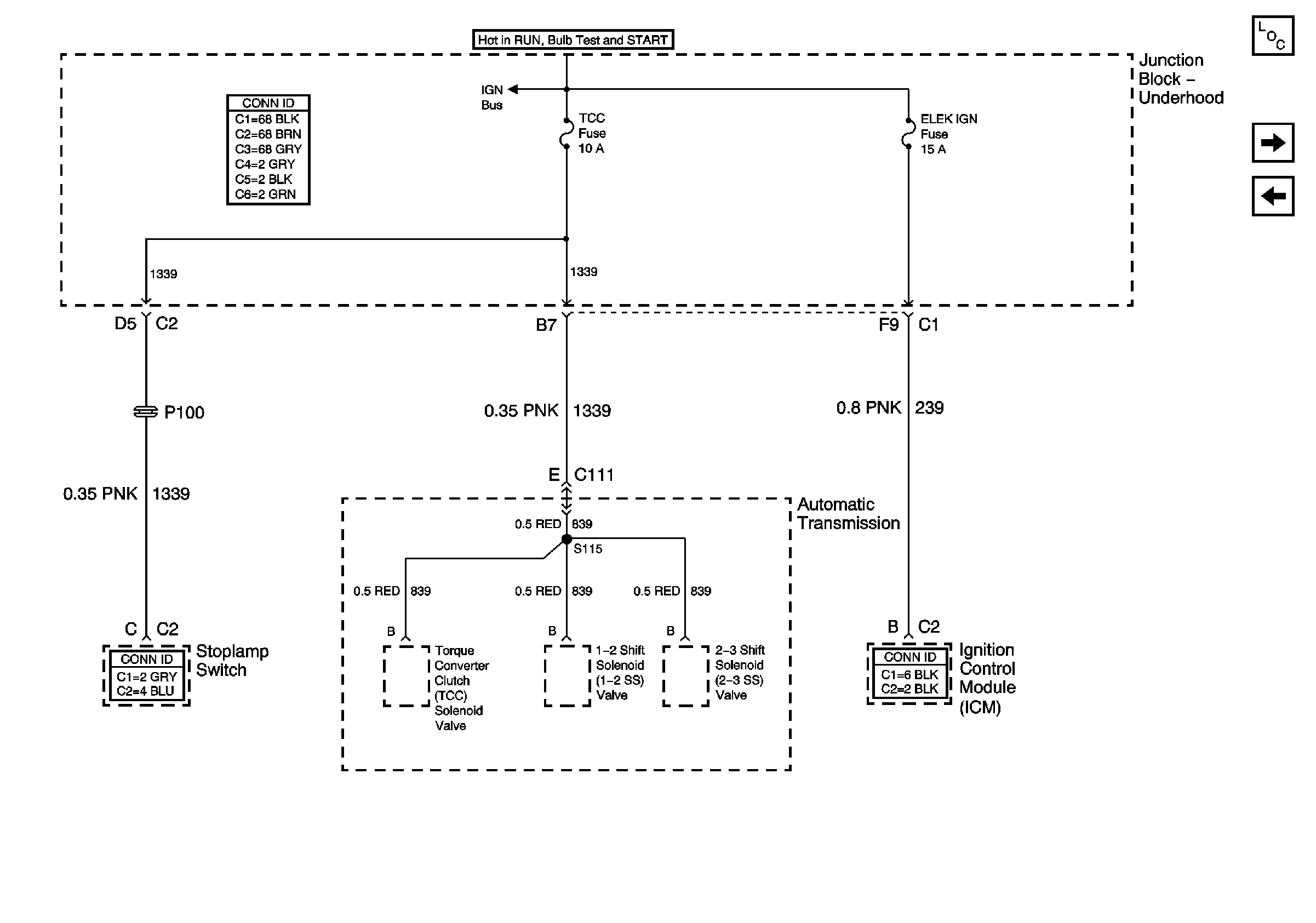
🢒 Junction Block - Underhood, TCC and ELEK IGN Fuses
Junction Block - Underhood, TCC and ELEK IGN Fuses
Junction Block -- Underhood, TCC and ELEK IGN Fuses
Master Electrical Component List
INJ Fuse
Junction Block - Underhood and IGN 1-U/H Fuse