GM Service Manual Online
For 1990-2009 cars only
Makes
🢒
Chevrolet
🢒
2001
🢒
Venture Ext.
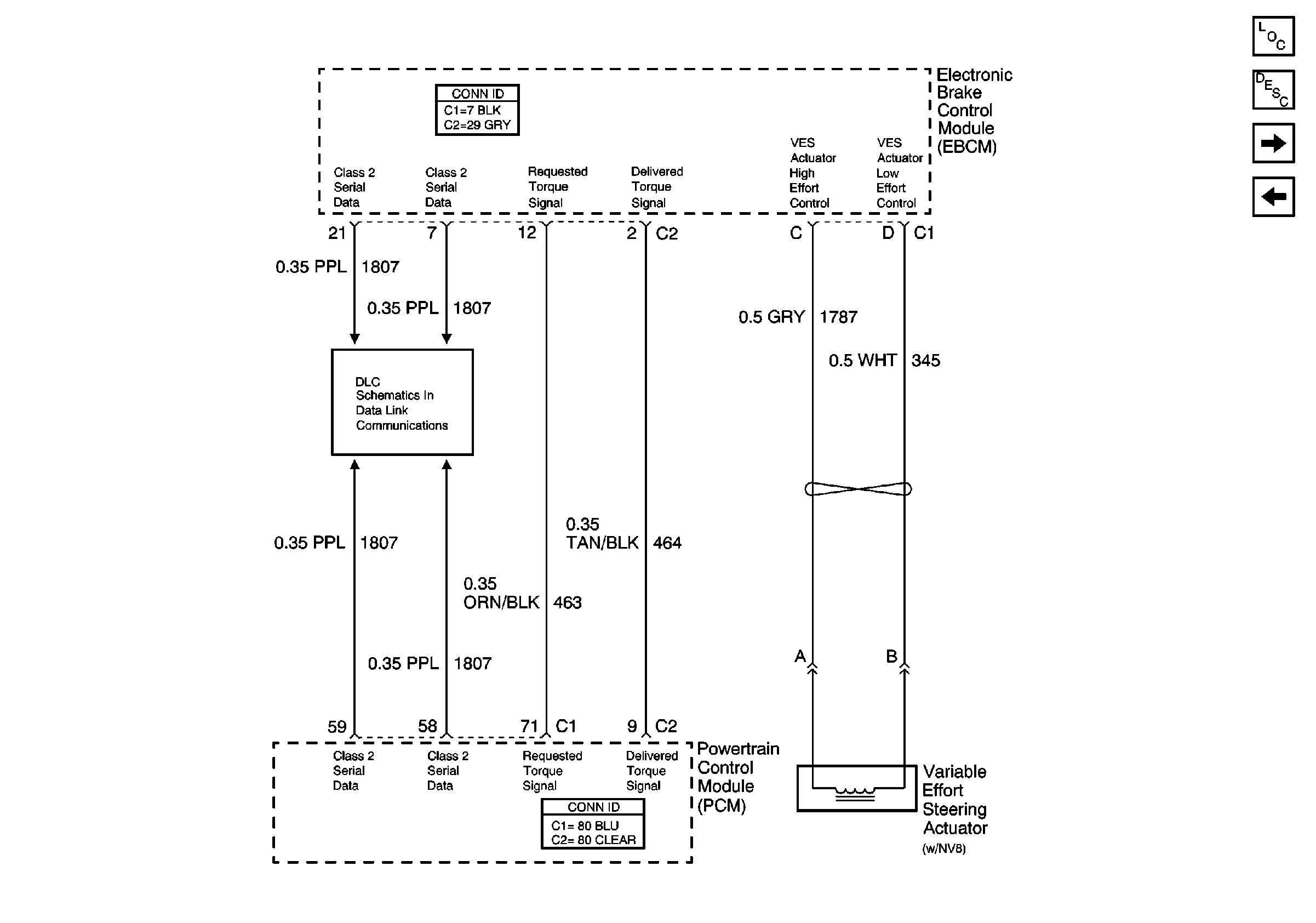
🢒 Traction Control (NW9) and Variable Effort Steering (NV8)
Traction Control (NW9) and Variable Effort Steering (NV8)
Traction Control (NW9) and Variable Effort Steering (NV8)
Master Electrical Component List
Traction Control Switch (NW9) and ABS Indicators
Vehicle Stability Enhancement System (JL4)
Class 2 Serial Data