GM Service Manual Online
For 1990-2009 cars only
Makes
🢒
Chevrolet
🢒
2001
🢒
Venture Ext.
🢒 Oxygen Sensors
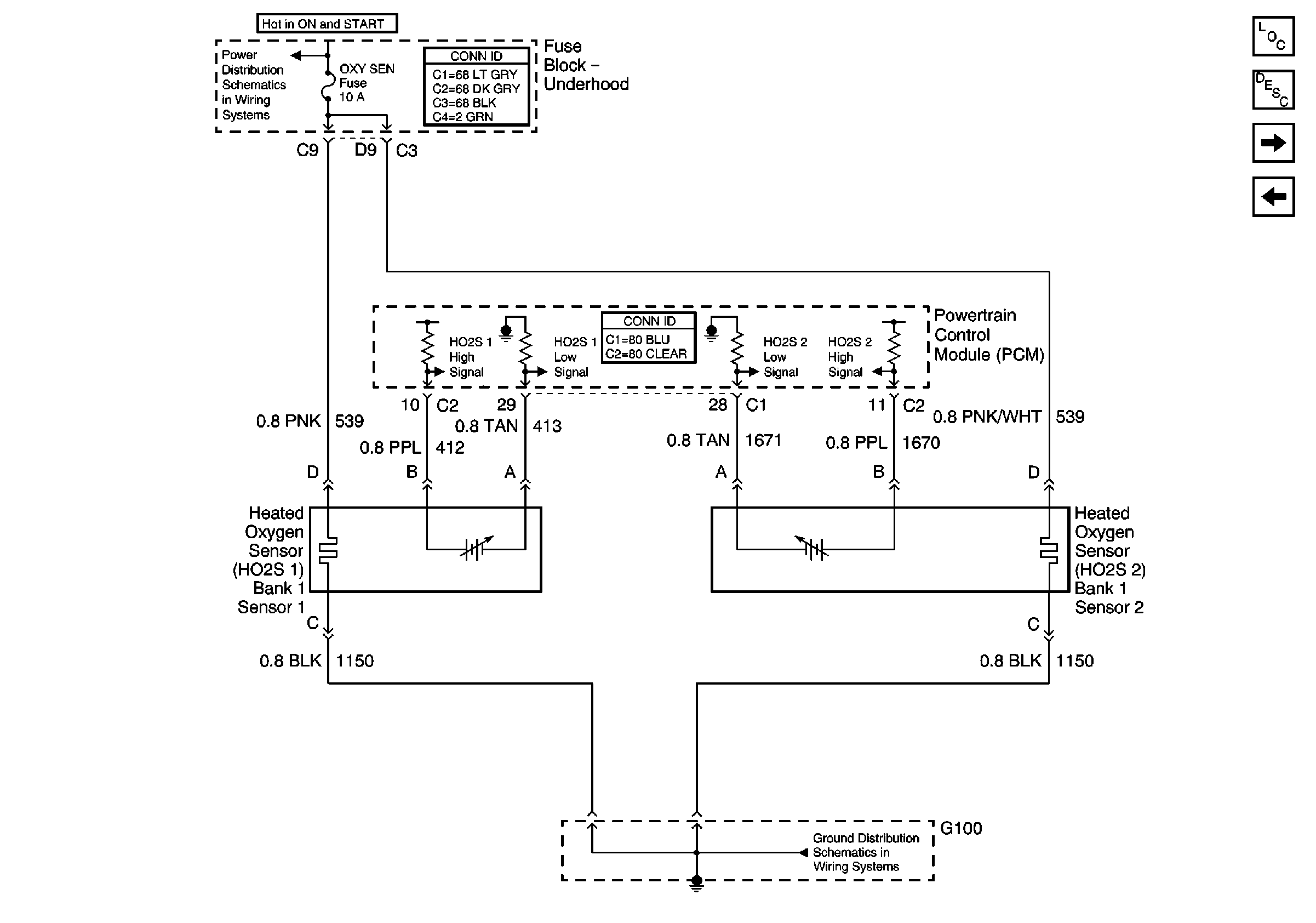
Oxygen Sensors
Oxygen Sensors
Master Electrical Component List
TRANS, DIS, OXY SEN, IGN 1 Fuses and the IGN-1 and AIR PUMP Relays( Fuse Block - Underhood)
MAF, IAC, and Knock Sensor Signals
Fuel Sensor and EVAP Solenoid Controls
G100 and G102