GM Service Manual Online
For 1990-2009 cars only
Makes
🢒
Chevrolet
🢒
2001
🢒
Venture Ext.
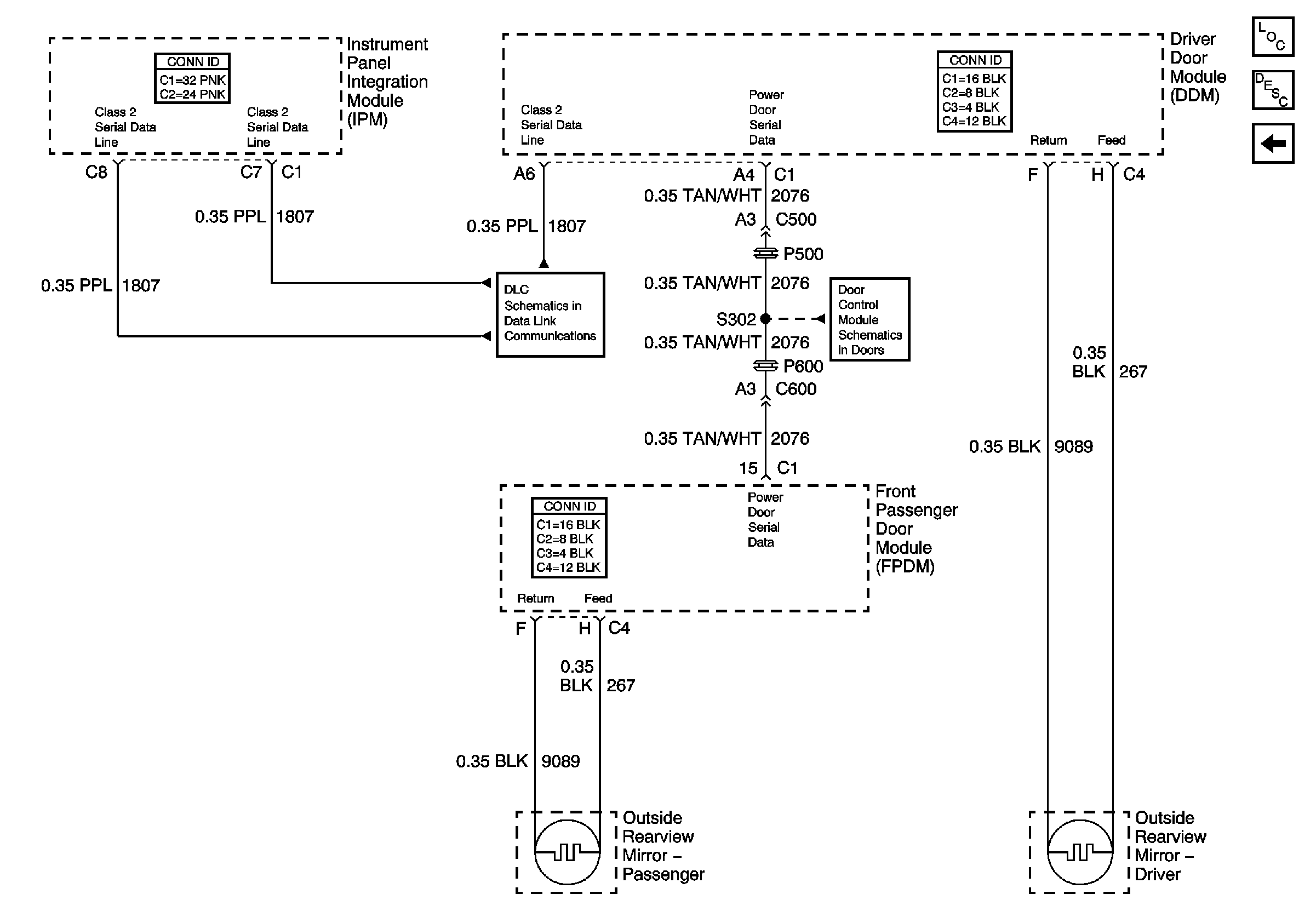
🢒 Heated Mirrors (DK5)
Heated Mirrors (DK5)
Heated Mirrors (DK5)
Master Electrical Component List
Class 2 Serial Data
Simple Bus Interface (SBI)
Right Mirror (w/A45)