GM Service Manual Online
For 1990-2009 cars only

SMU - Revised Wheel Alignment Specifications, Rear Camber Adjustment (AWD) and Rear Toe Adjustment

Subject:Revised Wheel Alignment Specifications, Rear Camber Adjustment (AWD) and Rear Toe Adjustment

Models:2002 Buick Rendezvous
2002 Chevrolet Venture
2002 Oldsmobile Silhouette
2001-02 Pontiac Aztek
2002 Pontiac Montana



This bulletin is being issued to revise the Rear Wheel Alignment Specifications on all-wheel drive vehicles, the Rear Camber Adjustment (AWD) procedure and the Rear Toe Adjustment procedure in the Wheel Alignment sub-section of the above Service Manuals.

The following information has been updated within SI2000. If you are using a paper version of these Service Manuals, please make a reference to this bulletin on the affected page.

Wheel Alignment Specifications

Application

Service Allowed (Acceptable)

Service Preferred (Target)

Rear All-Wheel Drive

Camber

+0.35 to -0.85

-0.25

Cross Camber

-0.60 to +0.60

0

Total Toe

-0.20 to +0.20

0

Thrust Angle

-0.15 to +0.15

0

Refer to Document ID 819399 for 2001-2002 B Vans and Document ID 618312 for 2002 U Vans in SI2000.

Rear Camber Adjustment (AWD)

Refer to Document ID 633545 in SI2000.

Removal Procedure

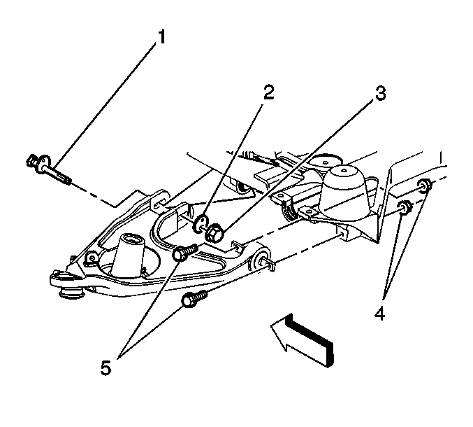
  1. Place vehicle on alignment machine with rear wheels supported by Weaver plates.

  2. Object Number: 629235  Size: SH
  3. Loosen rear lower control arm mounting nuts (3, 4) .
  4. Adjust camber with cam bolt (1).
  5. Confirm correct camber value.
  6. Check toe alignment and adjust if required.

Installation Procedure


    Object Number: 629235  Size: SH

    Notice: Refer to Fastener Notice in Cautions and Notices.

  1. Tighten the lower control arm mounting nuts (3, 4).
  2. Tighten
    Tighten the nut (3) to 125 N·m (107 lb ft); tighten (4) to 50 N·m (37 lb ft).

  3. Test drive the vehicle.

Rear Toe Adjustment

Refer to Document ID 633546 in SI2000.

    Important: Make any adjustments to camber before setting toe.


    Object Number: 819459  Size: SH
  1. Loosen the jam nut (6) at the rear wheel tie rod.
  2. Adjust the toe to the proper setting by turning the inner link adjustment hex (4). Refer to Wheel Alignment Specifications.
  3. Notice: Refer to Fastener Notice in Cautions and Notices.

  4. When the toe adjustment is correct, tighten the jam nut.
  5. Tighten
    Tighten the nut to 62 N·m (45 lb ft).

  6. Recheck the toe alignment.