GM Service Manual Online
For 1990-2009 cars only
Makes
🢒
Chevrolet
🢒
2002
🢒
Venture Ext.
🢒 Taillamps, Side Markers and Park/Turnlamps
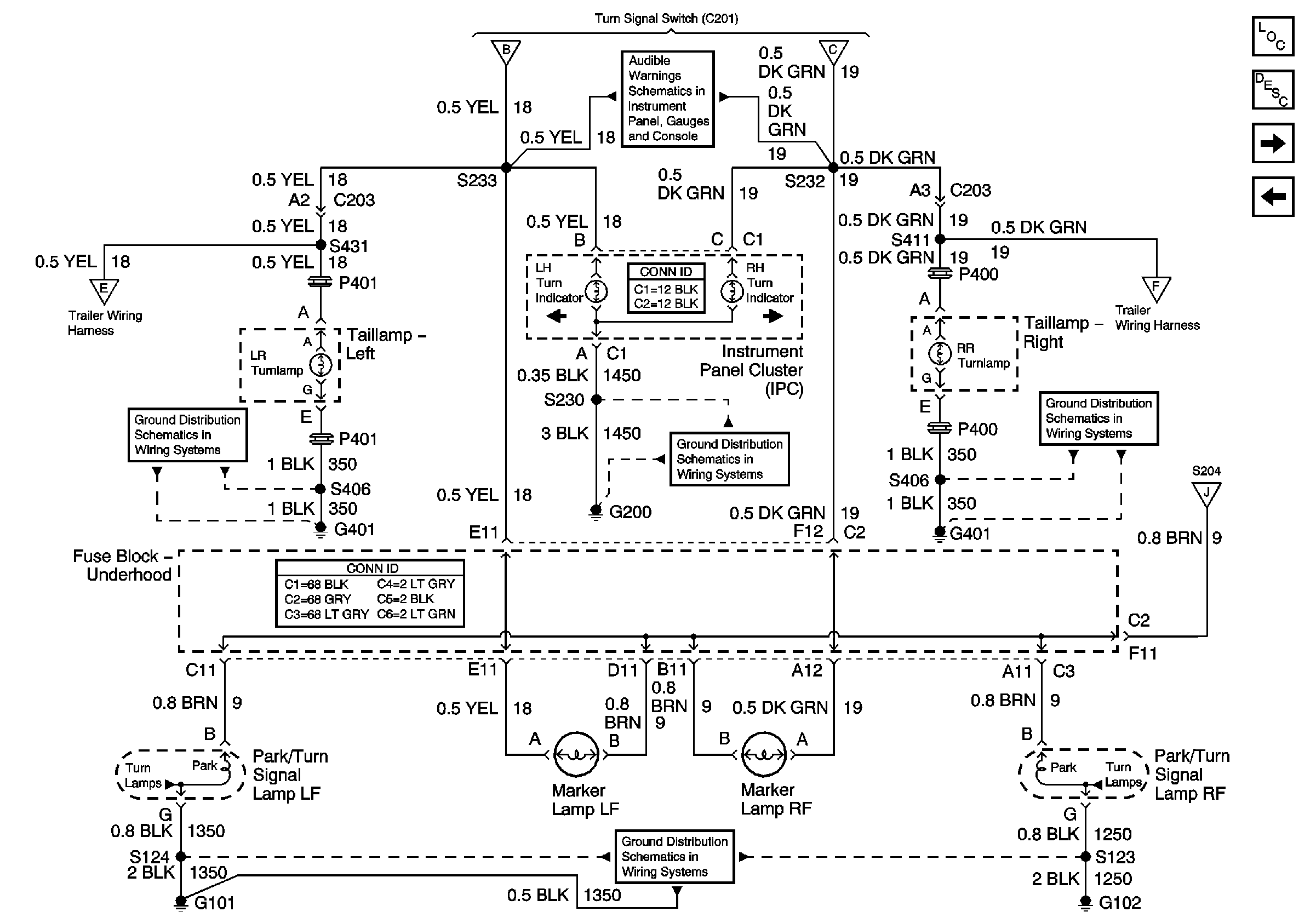
Taillamps, Side Markers and Park/Turnlamps
Taillamps, Side Markers and Park/Turnlamps
Hazard Lamp/Turn Signal Flasher and Turn Signal Switch
BCM and Power
Hazard Lamp/Turn Signal Flasher and Turn Signal Switch
Trailer Wiring, Power and Ground
G401
G200 (1 of 3)
G101 and G102
DID Switch, Power, Ground, and DLC
G401
License Lamps and Relay Center
Master Electrical Component List
Exterior Lighting Systems Description and Operation
DRL Ambient Light Sensor and DRL Control Module
License Lamps and Relay Center