GM Service Manual Online
For 1990-2009 cars only
Makes
🢒
Chevrolet
🢒
2002
🢒
Venture Ext.
🢒 Brake Warning System
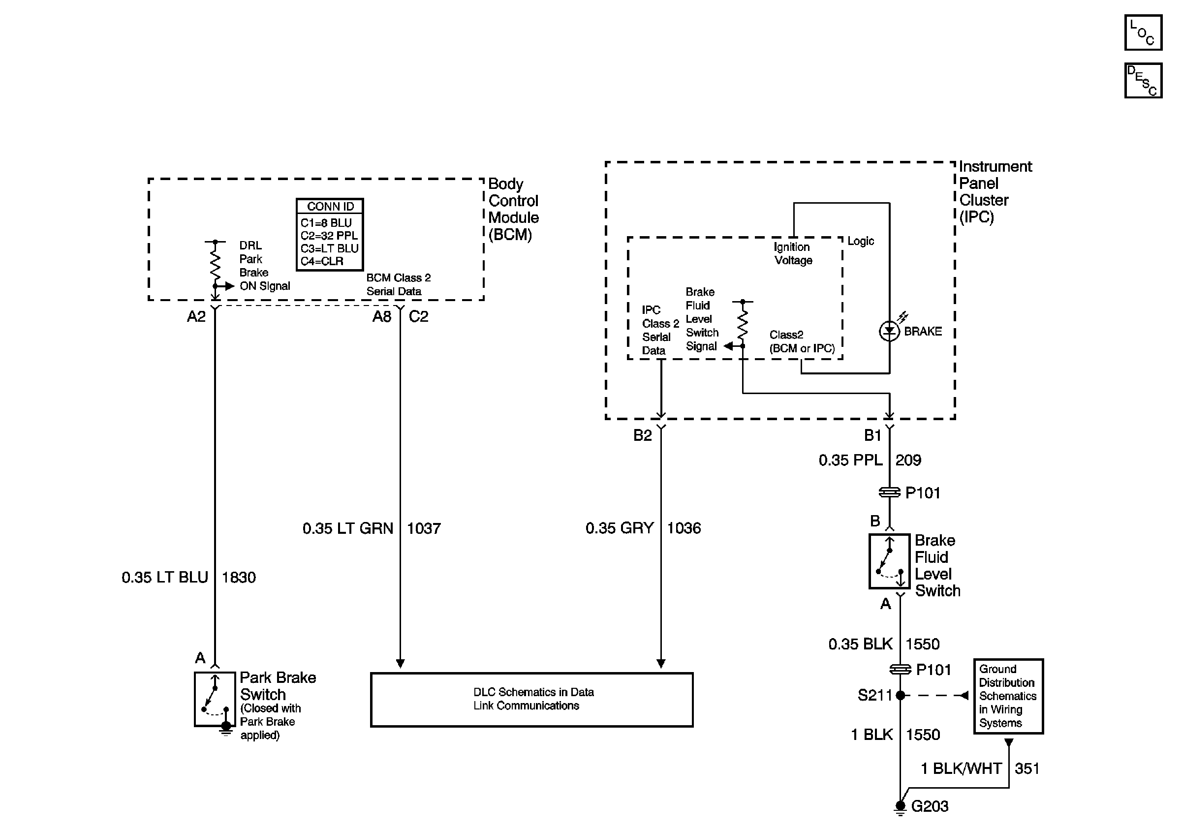
Brake Warning System
Master Electrical Component List
Brake Warning System Description and Operation
DLC
G203, Page 1 of 2