GM Service Manual Online
For 1990-2009 cars only
Makes
🢒
Chevrolet
🢒
2002
🢒
Venture Ext.
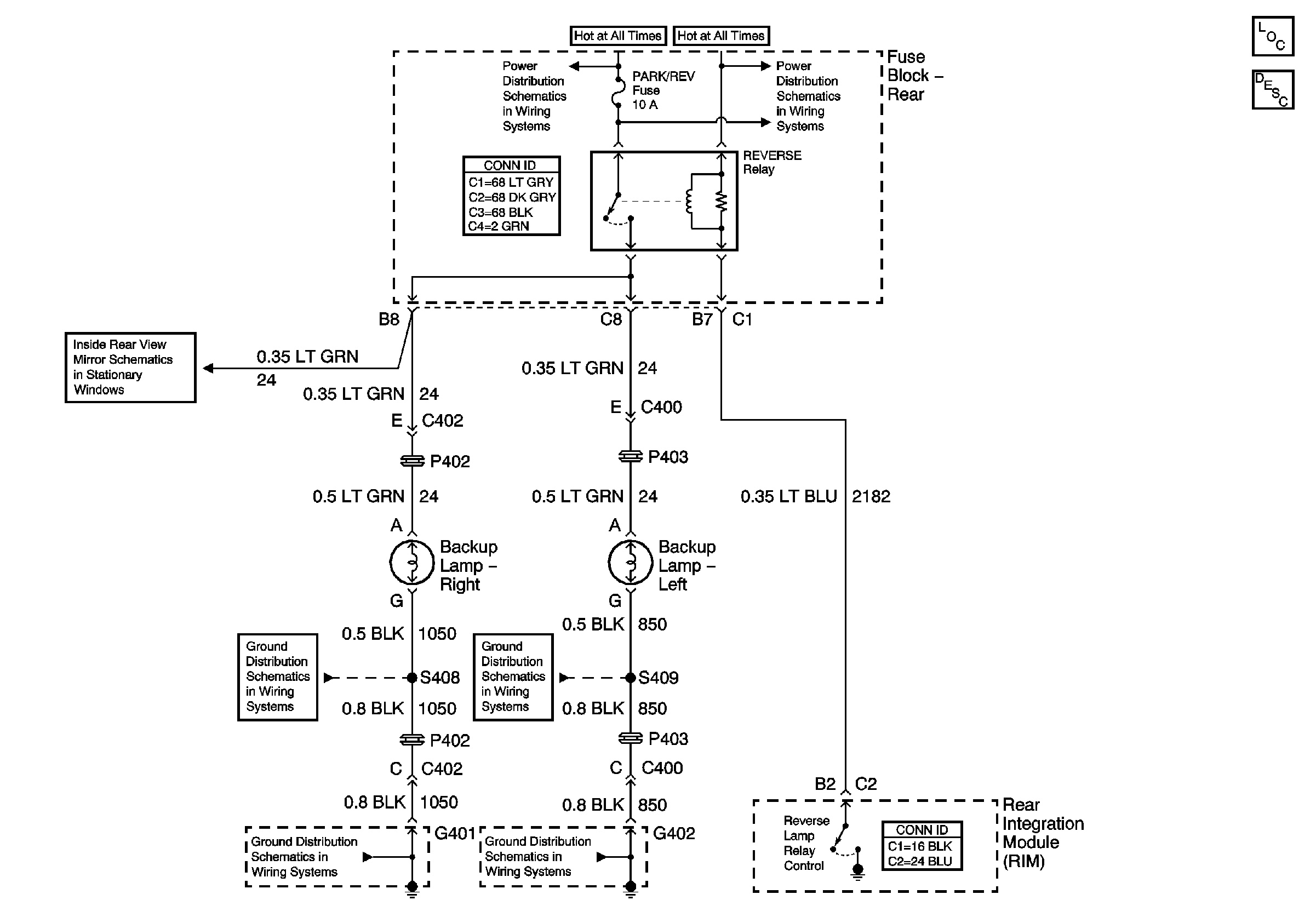
🢒 Backup Lamps
Backup Lamps
Backup Lamps
Master Electrical Component List
Inside Rear View Mirror Schematic
G401 (2 of 2)
G401 (2 of 2)
Battery Voltage to the Rear Fuse Block
G402
G402
IGN SW, PRK/REV Fuses and the PARK and REVERSE Relays (Fuse Block -Rear)