GM Service Manual Online
For 1990-2009 cars only
Makes
🢒
Chevrolet
🢒
2002
🢒
Venture Ext.
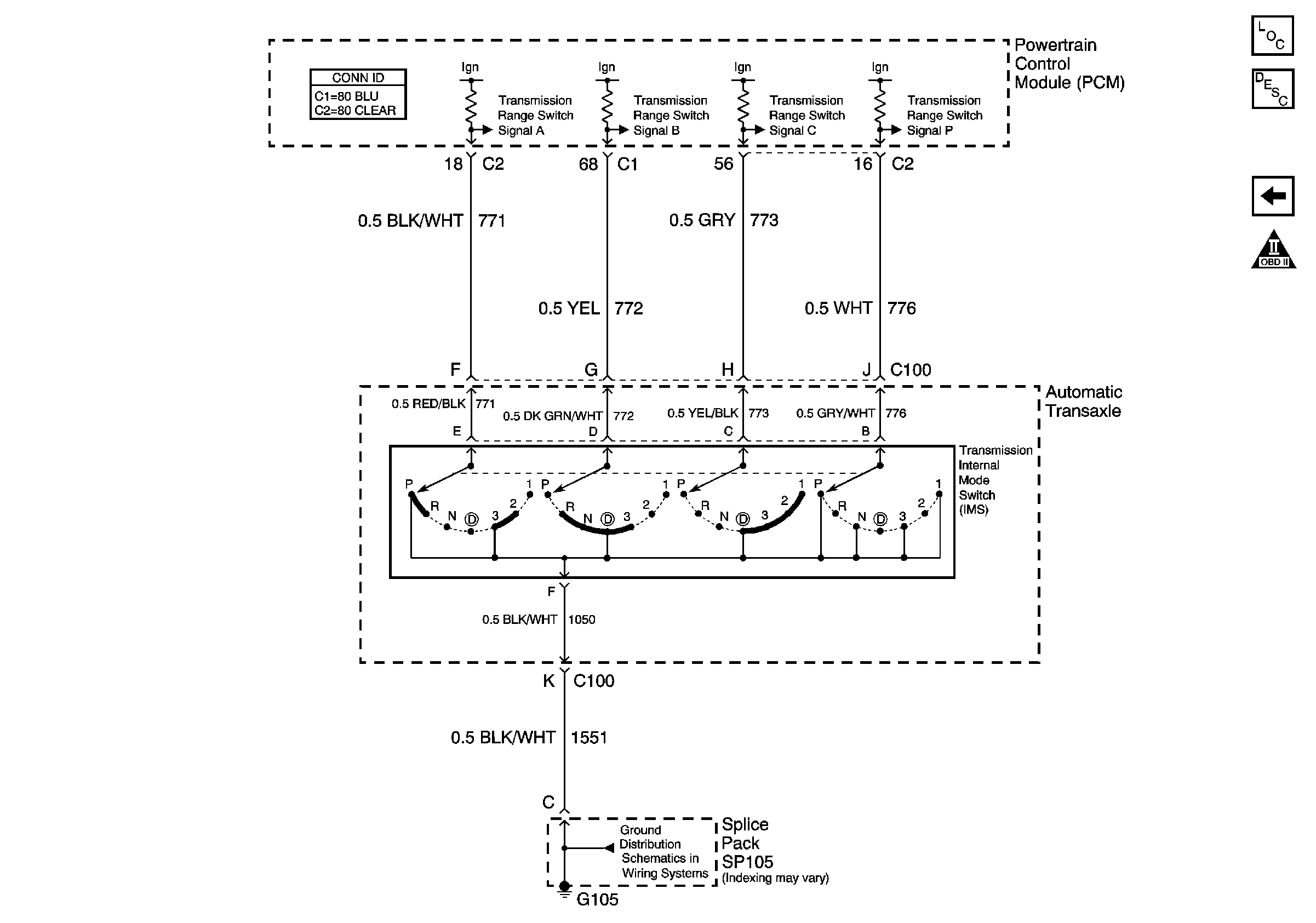
🢒 Internal Mode Switch Inputs
Internal Mode Switch Inputs
Internal Mode Switch Inputs
Master Electrical Component List
Transmission Component and System Description
Power Feed to the Transaxle and the Solenoid Controls