GM Service Manual Online
For 1990-2009 cars only
Makes
🢒
Chevrolet
🢒
2002
🢒
Venture Ext.
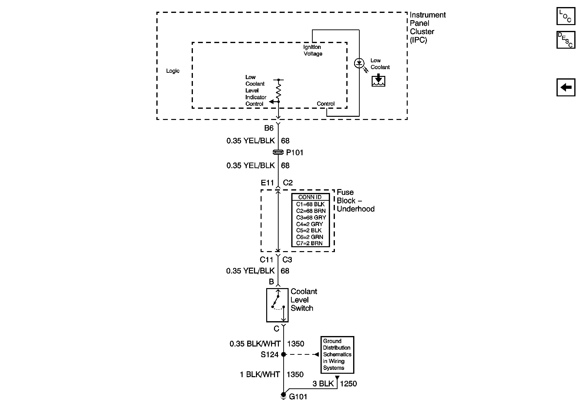
🢒 Coolant Level Indicator
Coolant Level Indicator
Coolent Level Indicator
Master Electrical Component List
Cooling System Description and Operation
Cooling Fans
G101