GM Service Manual Online
For 1990-2009 cars only
Makes
🢒
Chevrolet
🢒
2002
🢒
Venture Ext.
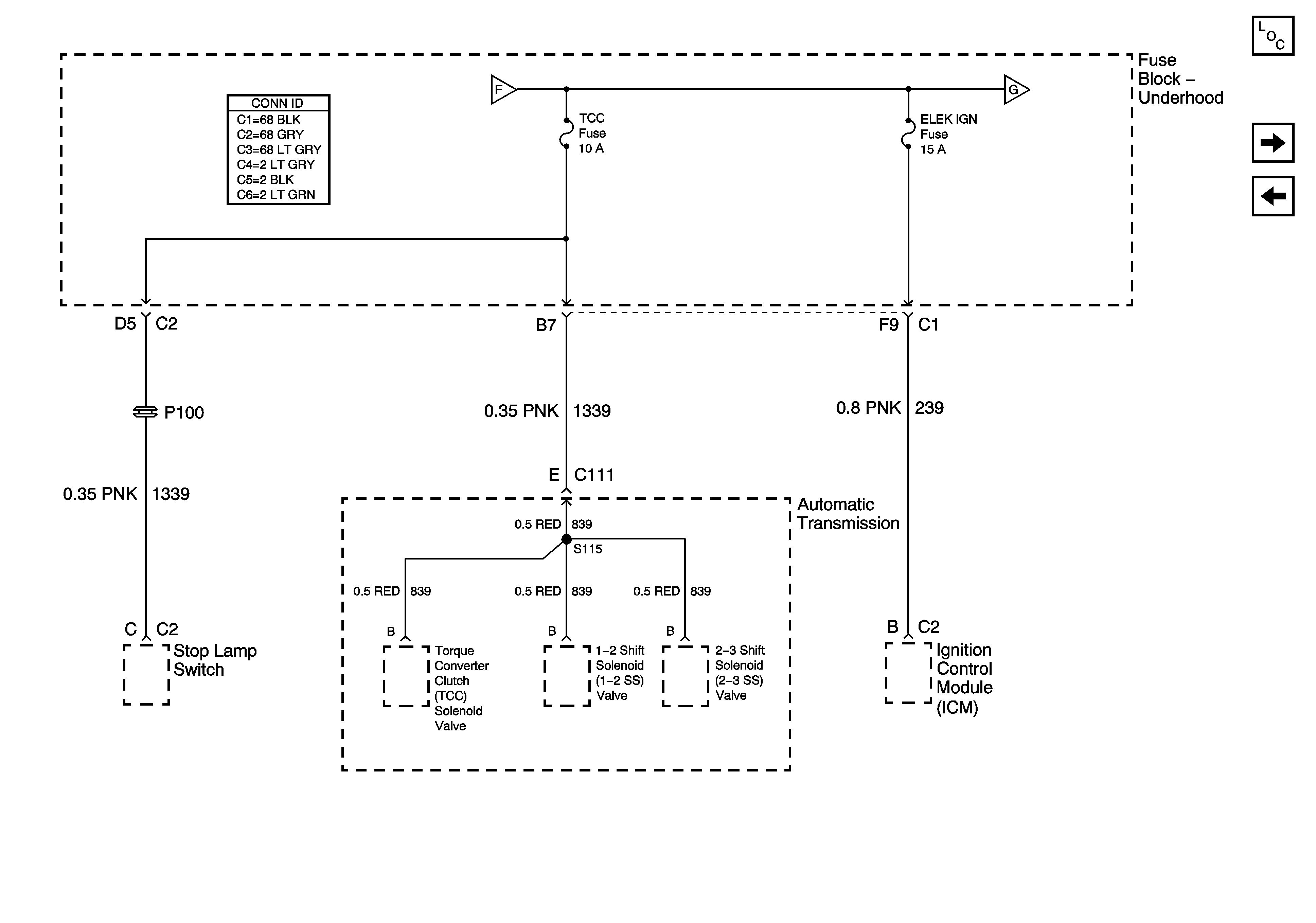
🢒 Underhood Accessory Wiring Junction Block, TCC, ELEK IGN fuses
Underhood Accessory Wiring Junction Block, TCC, ELEK IGN fuses
Underhood Accessory Wiring Junction Block, TCC and ELEK IGN Fuses
Master Electrical Component List
INJ fuse and Fuel Injectors
Underhood Accessory Wiring Junction Block, IGN 1-U/H fuse