GM Service Manual Online
For 1990-2009 cars only
Makes
🢒
Chevrolet
🢒
2002
🢒
Venture Ext.
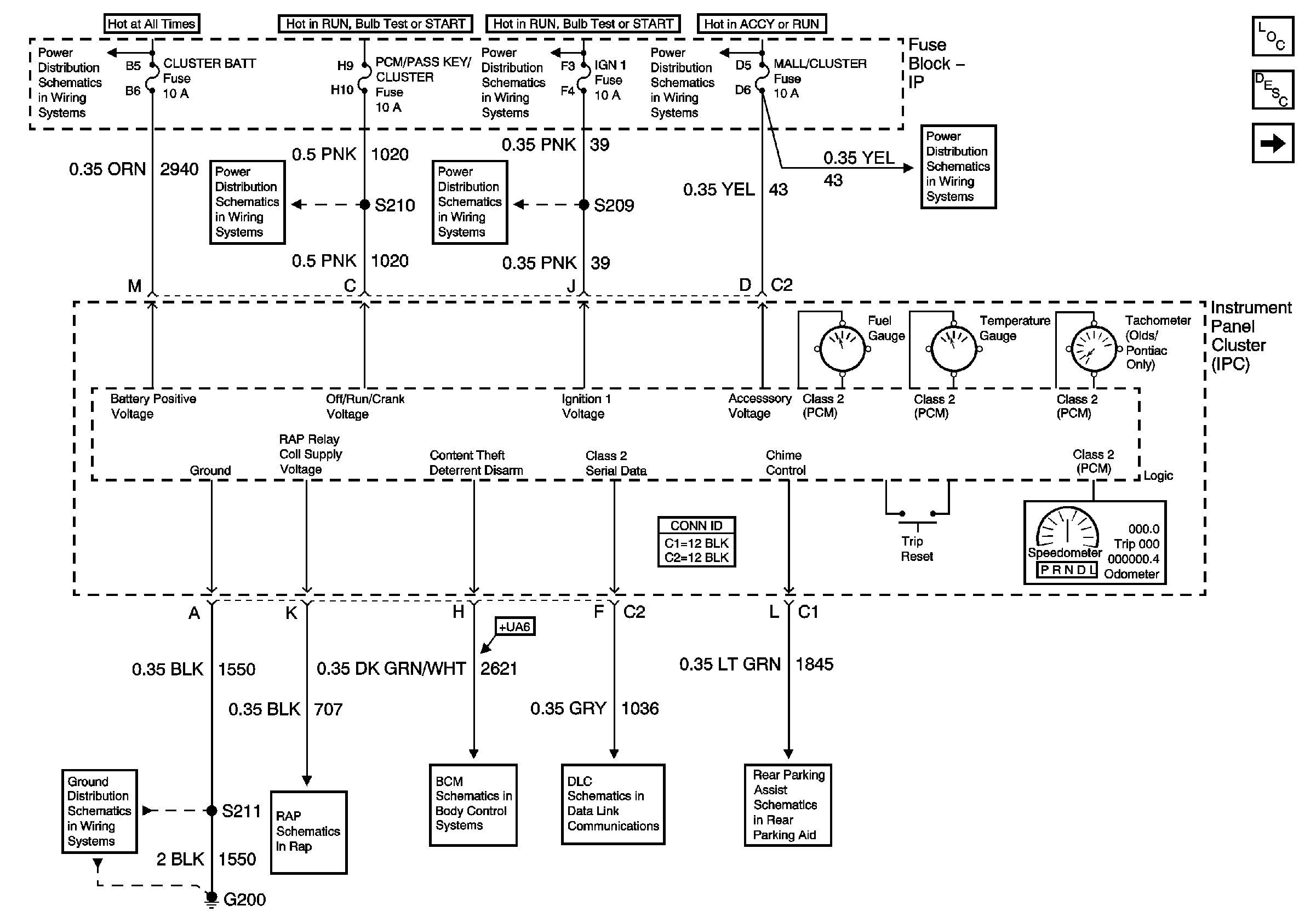
🢒 Power, Ground, Class 2 Data Line and Gauges
Power, Ground, Class 2 Data Line and Gauges
Power, Ground, Class 2 Data Line and Gages
Master Electrical Component List
Instrument Cluster Description and Operation
Hardwire Indicators
BATT Main 1, CLUSTER BATT, RR PWR SCKT, PWR LOCK, RAP RELAY, CTSY LAMP, ONSTAR, CIGAR DLC/APO FRT and PWR MIRROR fuses
IGN1, SDM, T/SIG, CRUISE, PCM PASSKEY/CLUSTER fuses
IGN1, SDM, T/SIG, CRUISE, PCM PASSKEY/CLUSTER fuses
IGN1, SDM, T/SIG, CRUISE, PCM PASSKEY/CLUSTER fuses
IGN Main2, BCM PRGRM, RR WPR/WSHR, MALL/CLUSTER, FRT/WPR/WSHR fuses
IGN Main2, BCM PRGRM, RR WPR/WSHR, MALL/CLUSTER, FRT/WPR/WSHR fuses
G200
Retained Accessory Power (RAP)
Interior Lights On Request and Horn Control
Data Link Connector (DLC)
Rear Object Sensor Control Module, Power and Ground