GM Service Manual Online
For 1990-2009 cars only
Makes
🢒
Chevrolet
🢒
2003
🢒
Venture Ext.
🢒
Body and Accessories
🢒
Frame and Underbody
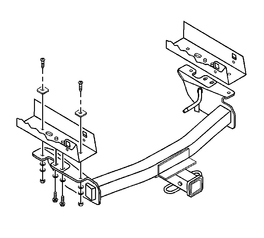
🢒 Trailer Hitch Replacement
Removal Procedure
Raise and support the vehicle. Refer to
Lifting and Jacking the Vehicle
.
Remove the rubber grommet from the rear exhaust hanger.
Lower the automatic level control compressor assembly. Refer to
Automatic Level Control Air Compressor Air Filter Replacement
.
Remove the trailer hitch assembly from the vehicle.
Installation Procedure
Notice:
Refer to
Fastener Notice
in the Preface section.
Install the trailer hitch onto the vehicle.
Tighten
•
Tighten all 0.5 in diameter carriage bolts to 101 N·m (75 lb ft).
•
Tighten all M10 bolts to 54 N·m (40 lb ft).
Install the automatic level control compressor assembly onto the vehicle. Refer to
Automatic Level Control Air Compressor Air Filter Replacement
.
Install the rubber grommet onto the rear exhaust hanger.
Lower the vehicle.