GM Service Manual Online
For 1990-2009 cars only
Makes
🢒
Chevrolet
🢒
2004
🢒
Venture Ext.
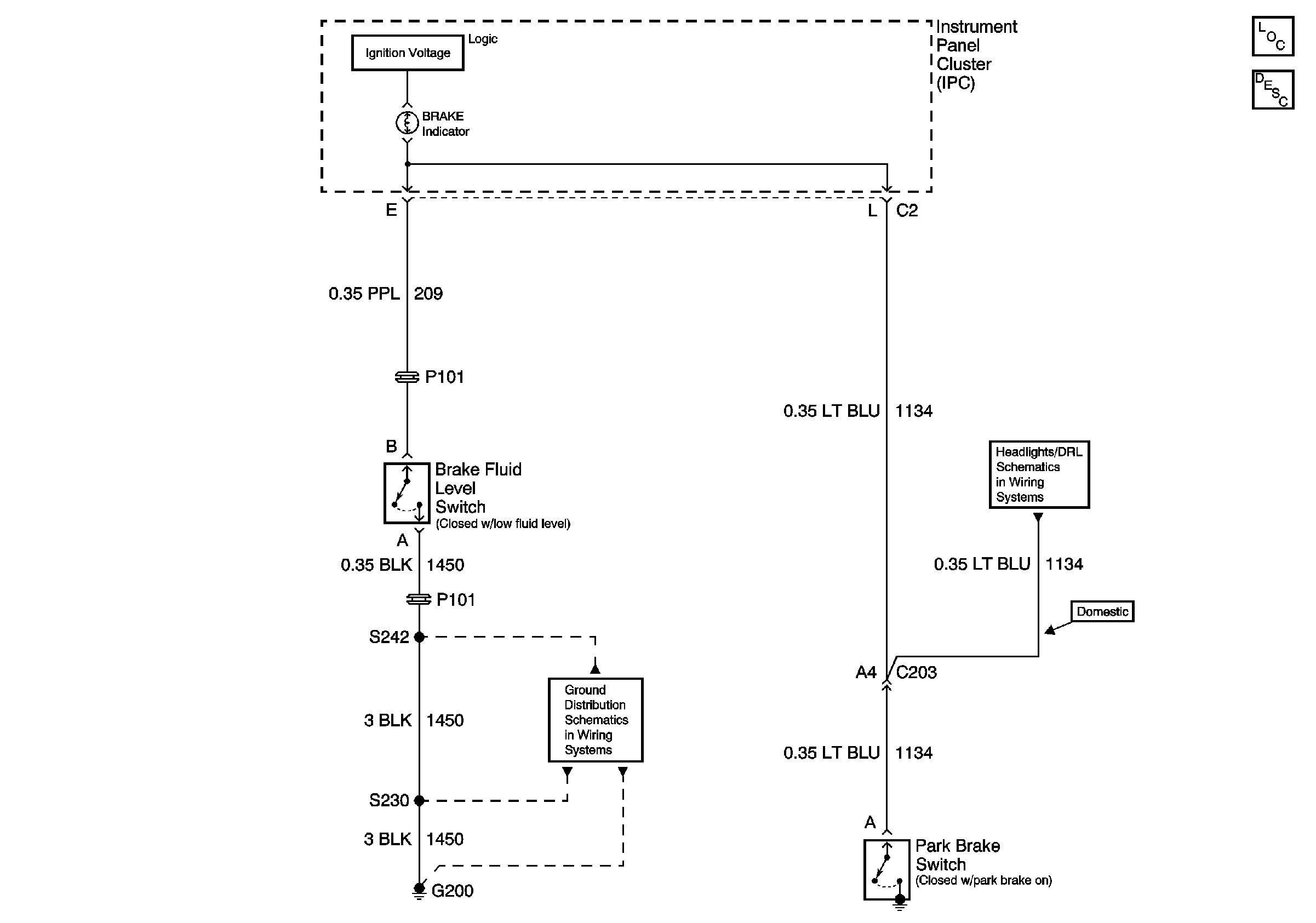
🢒 Hydraulic Brakes Warning System Schematics
Hydraulic Brakes Warning System Schematics
Master Electrical Component List
Brake Warning System Description and Operation
G200, Page 1 of 3
Park Brake Indicator Switch and DRL Ambient Light Sensor