GM Service Manual Online
For 1990-2009 cars only
Makes
🢒
Chevrolet
🢒
2004
🢒
Venture Ext.
🢒 Fuel Controls - Fuel Pump Controls
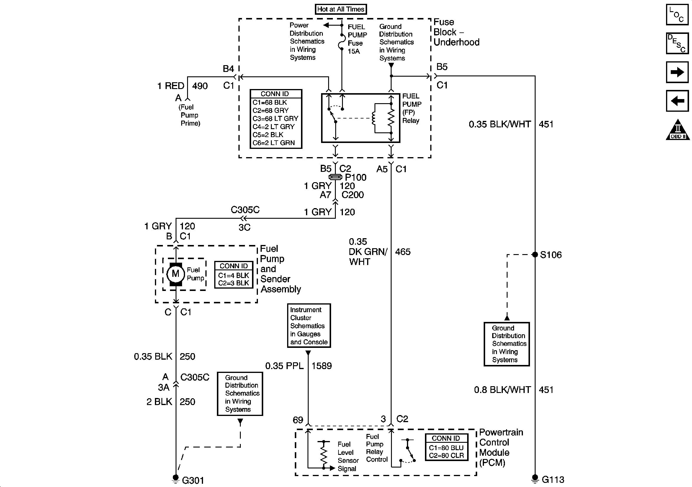
Fuel Controls - Fuel Pump Controls
Fuel Controls - Fuel Pump Controls
Master Electrical Component List
Powertrain Control Module Description
Fuel Controls - EVAP Controls
Ignition Controls - Ignition System and Sensors
OBD II Symbol Description Notice
Fuse Block - Underhood and Fusable Links
G101, G111, and G113
Sensors and Switches
G210 and G301
G101, G111, and G113