GM Service Manual Online
For 1990-2009 cars only
Makes
🢒
Chevrolet
🢒
2004
🢒
Venture Ext.
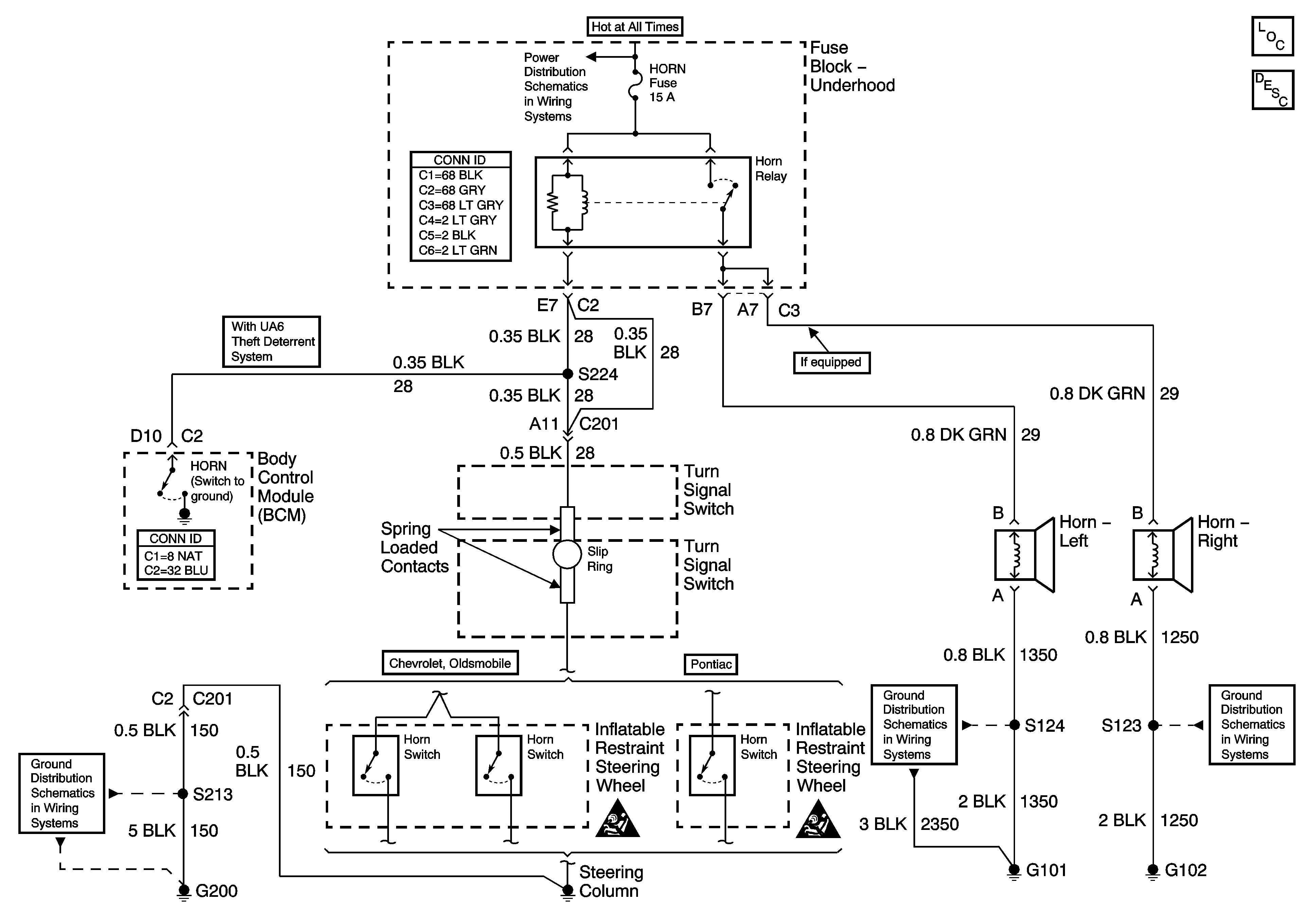
🢒 Horns Schematics
Horns Schematics
Master Electrical Component List
Horns System Description and Operation
Fuse Block - Underhood and Fusable Links
G200, Page 1 of 3
G101 and G102
G101 and G102
SIR Caution for Zoning
SIR Caution for Zoning