GM Service Manual Online
For 1990-2009 cars only
Table 1: Electronic Frontal Sensor-Left
Table 2: Electronic Frontal Sensor-Right
Table 3: Inflatable Restraint IP Module
Table 4: Inflatable Restraint Sensing and Diagnostic Module (SDM)
Table 5: Side Impact Module - Left
Table 6: Side Impact Module - Right
Table 7: Side Impact Sensor - Left
Table 8: Side Impact Sensor - Right
Table 9: Inflatable Restraint Steering Wheel Module -- Coil
Table 10: Seat Belt Pretensioner - Left
Table 11: Seat Belt Pretensioner - Right

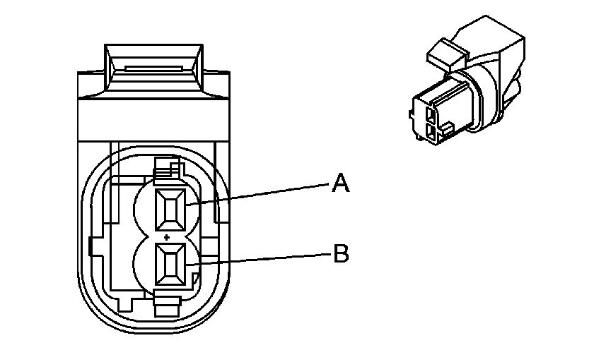
Electronic Frontal Sensor-Left


Object Number: 897543  Size: CH

Connector Part Information

    • 15404294
    • 2-Way F Metri-Pack 150 Series (BLK) (TPA DK GRY)

Pin

Wire Color

Circuit No.

Function

A

LT GRN

9950

Electronic Frontal Sensor-Left-Signal

B

LT BLU

9951

Electronic Frontal Sensor-Left-Voltage

Electronic Frontal Sensor-Right


Object Number: 897543  Size: CH

Connector Part Information

    • 15404294
    • 2-Way F Metri-Pack 150 Series (BLK) (TPA DK GRY)

Pin

Wire Color

Circuit No.

Function

A

TAN

2646

Electronic Frontal Sensor-Right-Signal

B

ORN

2647

Electronic Frontal Sensor-Right-Voltage

Inflatable Restraint IP Module


Object Number: 594476  Size: CH

Connector Part Information

    • 15336477
    • 4-Way M Metri-Pack 280 (YEL)

Pin

Wire Color

Circuit No.

Function

A1

YEL

3025

I/P Module - Stage 1 - High Control

A2

ORN

3024

I/P Module - Stage 1 - Low Control

B1

GRY

3027

I/P Module - Stage 2 - High Control

B2

PPL

3026

I/P Module - Stage 2 - Low Control

Inflatable Restraint Sensing and Diagnostic Module (SDM)


Object Number: 744053  Size: CH

Connector Part Information

    • 15357038
    • 34-Way F Micro-Pack 100 Series Sealed W2.5 CL (YEL)

Pin

Wire Color

Circuit No.

Function

A1

TAN

3021

Steering Wheel Module - Stage1 - High Control

A2

BRN

3020

Steering Wheel Module - Stage1 - Low Control

A3

ORN

3024

IP Module - Stage1 - Low Control

A4

YEL

3025

IP Module - Stage1 - High Control

A5

BLK/WHT

2118

Seat Belt Pretensioner - Left - High Control

A6

ORN/BLK

2119

Seat Belt Pretensioner - Left - Low Control

A7

ORN

2117

Seat Belt Pretensioner - Right - Low Control

A8

LT GRN

2116

Seat Belt Pretensioner - Right - High Control

A9

BLK/WHT

1751

Ground

A10

YEL

1139

Ignition 1 Voltage

A11

DK BLU

1128

SDM Class 2 Serial Data

A12-A13

--

Not Used

A14

BLK/WHT

238

Seat Belt Switch - Left

A15-A18

--

--

Not Used

B1

WHT

3023

Steering Wheel Module - Stage2 - High Control

B2

PNK

3022

Steering Wheel Module - Stage2 - Low Control

B3

PPL

3026

IP Module - Stage2 - Low Control

B4

GRY

3027

IP Module - Stage2 - High Control

B5

ORN

2647

Electronic Frontal Sensor- Right- Voltage

B6

TAN

2646

Electronic Frontal Sensor- Right- Signal

B7

LT GRN

9950

Electronic Frontal Sensor- Left- Signal

B8

LT BLU

9951

Electronic Frontal Sensor- Left- Voltage

C1

BRN

2137

Side Impact Module - LF - High Control

C2

YEL/BLK

2138

Side Impact Module - LF - Low Control

C3

LT GRN

2136

Side Impact Module - RF - Low Control

C4

BLK/WHT

2135

Side Impact Module - RF - High Control

C5

YEL

2131

Side Impact Sensing Module - Left - Voltage

C6

WHT

2132

Side Impact Sensing Module - Left - Signal

C7

DK GRN

2134

Side Impact Sensing Module - Right - Signal

C8

TAN

2133

Side Impact Sensing Module - Right - Voltage

Side Impact Module - Left


Object Number: 154492  Size: CH

Connector Part Information

    • 12110288
    • 2-Way M Metri-Pack 280 Series (YEL)

Pin

Wire Color

Circuit No.

Function

A

YEL/BLK

2138

Side Impact Module - LF - Low Control

B

BRN

2137

Side Impact Module - LF - High Control

Side Impact Module - Right


Object Number: 154492  Size: CH

Connector Part Information

    • 12110288
    • 2-Way M Metri-Pack 280 Series (YEL)

Pin

Wire Color

Circuit No.

Function

A

BLK/WHT

2135

Side Impact Module - RF - High Control

B

LT GRN

2136

Side Impact Module - RF - Low Control

Side Impact Sensor - Left


Object Number: 474752  Size: CH

Connector Part Information

    • 15304991
    • 2-Way F Metri-Pack 150 Series (YEL)

Pin

Wire Color

Circuit No.

Function

A

WHT

2132

Side Impact Sensing Module - Left - Signal

B

YEL

2131

Side Impact Sensing Module - Left - Voltage

Side Impact Sensor - Right


Object Number: 474752  Size: CH

Connector Part Information

    • 15304992
    • 2-Way F Metri-Pack 150 Series (YEL)

Pin

Wire Color

Circuit No.

Function

A

DK GRN

2134

Side Impact Sensing Module - Right - Voltage

B

TAN

2133

Side Impact Sensing Module - Right - Signal

Inflatable Restraint Steering Wheel Module -- Coil


Object Number: 594476  Size: CH

Connector Part Information

    • 15336477
    • 4-Way M Metri-Pack 280 (YEL)

Pin

Wire Color

Circuit No.

Function

A1

TAN

3021

Steering Wheel Module - Stage1 - High Control

A2

BRN

3020

Steering Wheel Module - Stage1 - Low Control

B1

WHT

3023

Steering Wheel Module - Stage2 - High Control

B2

PNK

3022

Steering Wheel Module - Stage2 - Low Control

Seat Belt Pretensioner - Left


Object Number: 295469  Size: CH

Connector Part Information

    • 15304991
    • 2-Way F Metri-Pack 150 Series (YEL)

Pin

Wire Color

Circuit No.

Function

A

BLK/WHT

2118

Seat Belt Pretensioner - Left - High Control

B

ORN/BLK

2119

Seat Belt Pretensioner - Left - Low Control

Seat Belt Pretensioner - Right


Object Number: 295469  Size: CH

Connector Part Information

    • 15304991
    • 2-Way F Metri-Pack 150 Series (YEL)

Pin

Wire Color

Circuit No.

Function

A

LT GRN

2116

Seat Belt Pretensioner - Right - High Control

B

ORN

2117

Seat Belt Pretensioner - Right - Low Control