GM Service Manual Online
For 1990-2009 cars only

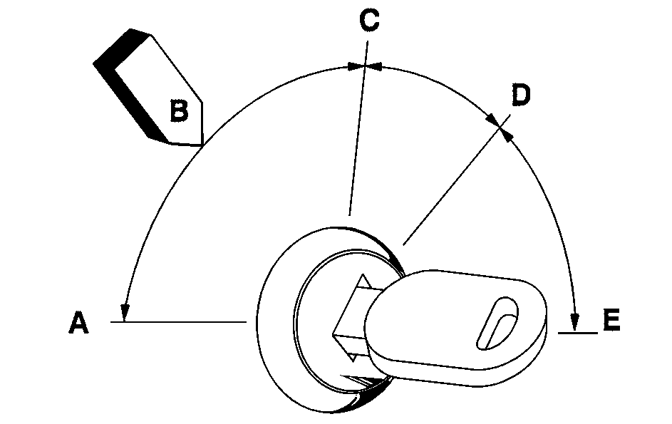
With the key in the ignition, you can turn it to five different positions.


Object Number: 806161  Size: B3
A (ACCESSORY): This is the position in which you can operate your electrical accessories. Press in the ignition switch as you turn the top of the key toward you.

B (LOCK): This is the only position from which you can remove the key. This position locks your ignition and transaxle.

Notice: Using a tool to force the key from the ignition switch could cause damage or break the key. Use the correct key and turn the key only with your hand. Make sure the key is all the way in. If none of this works, then your vehicle needs service.

C (OFF): This position unlocks the ignition and transaxle, but does not send power to any accessories. Use this position if your vehicle must be pushed or towed, but never try to push-start your vehicle.

D (RUN): This is the position to which the switch returns after you start your engine and release the ignition key. This is the position for driving. Even when the engine is not running, you can use RUN to operate your electrical accessories and to display some instrument panel warning lights.

E (START): This position starts the engine. When the engine starts, release the ignition key. The switch will return to RUN for normal driving. If the engine is not running, ACCESSORY and RUN are positions that allow you to operate your electrical accessories, such as the radio.